航模遥控系统中,接收机的作用是接收发射机发出的无线电信号,并将其转变成执行机构所需的控制信号。由于它装在模型上使用,所以要求体积尽量小,一般就像火柴盒一样大小。下面就以CN-A1型无线电航模遥控系统中的两通道接收机电路为例来介绍它的工作过程。
一、无线电接收解调电路
这部分电路的功能框图见图3。由高频放大、本机振荡、混频滤波及放大解调电路组成。

高频放大电路是为了提高接收机的灵敏度而设置的。它的作用是将从天线W1接收到的无线电信号进行电压放大后输出。这部分电路见图1左上方虚线框内。
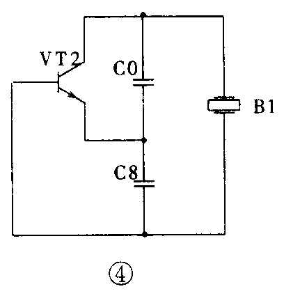
本振电路见图1左下方虚线框内。它是一个电容三点式晶体振荡器。T3的初级和电容C10组成并联谐振回路,在调整时使其谐振在略低于振荡频率的位置上。这样在振荡频点上,T3的初级和C10等效为电容C0,若只考虑交流通路,本振电路可等效为图4的电路。晶体B1在电路中相当于一个大电感。从图4可以看出,它与电容三点式LC振荡器的等效电路没有任何区别。有关电路的起振条件、反馈起振过程,这里就不多讲了。由于石英晶体在电路中等效电感非常大,所以晶体振荡器的频率稳定度非常高,一般比LC振荡器高千倍以上。R6、R7为VT2提供静态工作点,使VT2工作在放大区。R5和C12组成去耦电路。

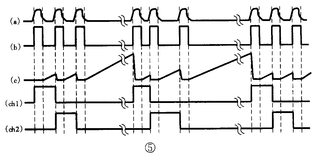
混频、滤波、限幅放大、解调电路是由集成电路MC3361及少数外围元件实现的。接收信号fa经高放电路放大后,通过C6送入MC3361的16脚;而本振信号fb通过C9送入MC3361的1脚,这两个信号在MC3361的内部混频,产生 |fa-fb|、 fa+fb、fa、fb等频率。由B2陶瓷滤波器选出中频信号:fo=|fa-fb|=455kHz,然后送入限幅放大器的输入端(MC3361的5脚)。经限幅器放大后的信号已经是有相当高电压幅度的中频信号。这个信号被送到MC3361内部的解调器解出调制信号;再由其内部的音频放大器将幅度放大,然后从音频输出端(MC3361的9脚)输出。这个信号已是与发射机的调制信号相似的信号,它与发射机编码信号的区别是它还带有一些中频分量,且信号幅度低、脉冲信号的边沿不够陡。通过C16、C17、C18和R8、R9组成的滤波器,滤除中频分量就可送整形电路了,此时的波形图如图5(a)所示。C13、C14、C23、R10组成去耦电路。L2和C15组成的谐振电路是解调器的移相电路。调整L2的电感量可使解调信号达到最佳。

二、整形解码电路
整形电路是由VT3、VT4、VD1与周围电阻、电容组成的,见图1中间虚线框内。VT3工作在开关状态,没有静态电流时VT3处于截止状态。当VT3基极信号到达一定幅度时,VT3才有集电极电流,信号幅度继续升高,很快使VT3饱和导通。当信号幅度与静态电压之和低于VT3的开启电压时,VT3又变回到截止状态。同样VT4也是工作在开关状态。VT3截止时,无集电极电流,R13上无电压,VT4截止。当VT3饱和导通时,VT3的集电极电流足使VT4饱和导通。经过这两级开关电路整形后,信号波形已达到解码电路的要求,见图5(b)。C19是耦合电容,起隔断直流电平的作用。C20是为了滤除高频干扰而设置的。
从图1中可以看到,解码电路是由CD4015、VT5、C21、C22、R16、R17六个元器件组成的。其中CD4015是双4位移位寄存器。以其中一个为例说一下它的功能。6脚RST是清零端,高电平清零,低电平计数器正常工作;7脚是数据输入端;1脚是计数端,每有一个正脉冲送到1脚,就会将7脚的即时状态送到输出端Q0输出,而Q0原来的输出状态移至输出端Q1输出,依此类推。我们可以参照图1和图5来分析解码过程。无信号时,MC3361第9脚输出噪音信号。由于C18的积分效应,VT3始终饱和导通,CD4015第7脚输入低电平,因此各数据输出端也都输出低电平。有信号时,MC3361第9脚解调输出的波形如图5(a)。由于这个信号有一个很长时间的低电平,VT75截止的时间就很长。在这段时间里电源通过R17向C22充电,使CD4015第7脚变成高电平,波形如图5(c)。这个长的低电平过后就是每帧脉冲信号中第一个脉冲上升沿,它把7脚的高电平送至了Q0端。ch1点变为高电平。在输入信号脉冲保持高电平期间,VT5饱和导通,C22上的电被放掉,CD4015第7脚变成低电平。在第一个脉冲结束、第二个脉冲到来之间,低电平时间不足以使C22上电压充到电高平,这样当第二个脉冲上升沿到来时Q0又输出低电平,Q1输出高电平;第三个脉冲上升滑到来时Q1又输出低电平,Q2输出高电平。见图5的(ch1)和(ch2)。从图5(ch1)中可看出,ch1点高电平的时间是第一个脉冲的上升沿到第二个脉冲的上升沿的间隔时间。这个时间发射机发出第一通道控制信息。同样。ch2点高电平的时间是第二个脉冲的上升沿到第三个脉冲的上升沿的间隔时间。这个时间发射机发出第二通道控制信息,见图5(ch2)。
图5(ch1)和(ch2)两个波形就是接收机通道1和通道2的输出波形。
XS1、XS2、XS3是接收机的三个插座;它们的1脚接地,2脚接正电源。XS1是电源的输入插座,接收机的电源由此接入。XS2是一通道的输出插座。XS3是二通道的输出插座。XS2的三脚是一通道信号输出端;XS3的三脚是二通道信号输出端。
细心的读者可以看出,CN-A1接收机的电路中没有稳压电路,这主要是为了简化电路。因此接收机对工作电源电压的稳定要求较高,接收机最好使用5节1.2V镉镍电池串接供电,这样可有效防止跳舵及各通道相互影响现象的发生。
从上文中我们知道,接收机的输出波形如图5(ch1)和(ch2)所示。可是,接收机的输出信号是怎样控制模型动作的呢?我们将在下一期中向您介绍。(有关邮购消息见本刊今年第9期37页)(赵建伟)

