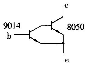
问:一台金星C475型彩色电视机的电源激励管V903(2SC2060)损坏后,多次用参数与之相近的国产三极管代换均未成功,其主要表现是管子的温度高且工作不到10分钟便又损坏,不知何故?请问用什么型号的三极管可以替换?(湖南 张洪平)

答:金星C475型彩电采用的是NP8C机心,该电路对电源激励管V903的饱和压降及β值的要求很高,你用国产三极管代换失败的主要原因是所选用的三极管饱和压降大,β值又太小,因此,更换该管时一定要对三极管进行严格的挑选,一般用原装进口2SC2060更换比较理想,如果找不到合适的三极管,可用市面上常见的三极管8050和9014按上图复合连接后代换,其效果很好。(邱慧远)
问:一台VT-427E录像机,不进带,全部方式不动作。手送带入仓后,按“FF/REW”键,加载电机转,主导轴电机不转动。这种故障现象应当怎样分析检修?(甘肃 汪东生)
答:首先检查机械部分,如果机械部件和机械位置状态正常,估计问题出在电路部分。手动方式送带入仓后,按功能键加载电机能转动,但主导电机不转,故应重点检查主导电机驱动和控制电路。
该机主导驱动电路由IC1601(M54680FP)及其外围电路组成,测IC1601+B端应有+5V工作电压,如果测出仅有2.1V左右,且测对地电阻值正常,则说明故障部位在+5V电压供电电路。此+5V电压系由电源电路的D854、C866整流滤波、经IC851(STK5372H)稳压后供给的,如图所示。

若拔掉PG852插头,测电源端+B5V为0V,测IC851③脚输入电压为0V,则常见原因为F852(1.6A)保险管熔断,更换后试机全部功能就会恢复正常。(聂元铭)
问:一台松下三超画王TC-25V40RQ型彩电,使用一年左右发生故障,送当地家电修理部数月未能修复。取回后送外地维修,却说机内缺了开关电源变压器。现通过邮购,买了一个备件,但安装发现变压器上只有“1~18”的引脚标号,与线路板及随机电路图上的标记不同,不知该如何识别和安装?(福建 林世亮)
答:该开关电源变压器(T801)型号为E126N,其各引脚序号与电路板标号的对应关系如下:2→NC,3→S4,4→S3,5→S1,6→S7,7→S5,8→S6,9→S2,10→B3,11→B2,12→B1,13→P1,14,17→NC,15→PTA,16PTB,18→P2。安装时只要按上述关系将变压器插入印制板相应插孔内,焊好即可。(王德沅)
问:一台日立M747录像机,磁带不能插入带仓内,就是偶尔将磁带插入,也不能运转或无法出带,问其故障原因?(广东 王立荣)
答:录像机属于机电一体化产品,所有的机械动作都是受微处理器依照相应的程序控制的。因此这种故障的原因一是微处理器没有得到进带或出带指令信号,也就不会给主导电机输出转动指令,二是主导轴电机驱动电路无驱动电压。例如:①带仓上的进、出带微动开关接触不良,造成进带指令时有时无;②旋转状态开关位置状态不正确,造成正确指令无法送出;③主导轴电机驱动集成电路BA6209损坏,造成主导轴电机不转及旋转开关无法转动或转动紊乱。此故障可根据上述三点分别检修。第③点是检修的关键部位,也是该型机极易出故障的部位。检修时可用手转动状态开关,使状态开关正确复位,然后看磁带能否正确进出。也可手摸BA6209是否严重发热,若过热烫手,则多是此块损坏。 (陈克军)
问:一台金星C512型彩电,发生图像良好但伴音小且失真的故障。在拆修伴音鉴频线圈L322时不慎损坏L322,怎么办?
答:图像良好但伴音小且失真的故障一般为伴音信号偏离了6.5MHz。如偏离不多可微调鉴频线圈磁芯使伴音恢复正常。如偏离太多,则多为鉴频线圈内部的谐振电容失效,此时调节磁芯就无法使伴音正常。可小心地拆下线圈L322,拆去谐振电容,再把L322装回底板,取一只30pF左右的小电容并联在L322的两脚上,调节磁芯即可使伴音正常。
若不小心损坏了鉴频线圈,也不要紧,可取一只6.5MHz的陶瓷滤波器直接接在鉴频线圈的位置,电路不作任何变化,亦可使伴音恢复正常。(汤志成)
问:一台康艺8080收录机,放音不到10分钟便产生哨叫声,请问如何修理?(江苏 何立春)
答:根据修理经验,收录机收音状态无哨叫,放音产生哨叫故障。一般在磁头的前置放大电路有故障。该机的前置放大电路由TA7328AP和外围元件组成。故障原因有可能是TA7328AP的防自激电容C91、C92失效或与磁头线圈并联的消自激电容C75、C76失效。可用一只3300pF电容分别与上述电容并联,并联后哨叫消失,就是这只电容失效,更换同规格电容,故障排除。(倪耀成)
问:很多家用电器和通信工具都用充电电池,请问如何识别真假充电电池?(江西 王大成)
答:目前市场上出售的充电电池有进口原装电池和国产合格充电电池。识别方法:(1)真品进口充电电池在外表上印有字迹清晰整齐与外壳浑然一体的公司牌名。如HITACHI(日立),NATIONAL(松下)、TOSHIBA(东芝)。假冒品粗糙有模糊感。(2)真品充电电池体积较重,假冒电池较轻。(3)真品充电电池在正极下方处有一圆环槽,假冒品圆环槽在负极处。(4)用万用表测量其电池电压,真品充电电池首次无充电时单只电压低于1.25V,而高于此电压的是假冒充电电池或普通电池。(5)真品充电电池瞬间短路电流在5A以上而假冒充电电池只有3A以下。(倪耀成)
问:一台LF182A微型录音机使用多年,最近放音时伴有“嘟嘟”的杂声,以为集成块坏,更换新的TDA2822M后“嘟嘟”声虽消除,但没过多久又出现上述故障,请指教检修。(山东 崔铁)
答:出现这种故障,通常是录音机供电电源内阻变大或电源的退耦电容变质引起,与集成块无关。检查:(1)电源(包括外接稳压电源)的容量是否充足,不足应更换电源。(2)机内电池夹是否有氧化物使弹簧弹力不足,电池接触不良。(3)与电源正负极并联的退耦电容是否失效、变质或脱焊。(4)走带机构是否正常运行,如受阻会引起电机电源相位增大,使电源起伏过大从而产生“嘟嘟”声的故障。
问:电容器上标有0.01、0.0047,也有标102、104、472的,还有标4R8、5R6等字样。请问这些标记是什么意思?(浙江 牛水生)
答:0.01和0.0047表示0.01μF和0.0047μF,这是比较常见的标记法。102、104、472等则不同:它们分别为:102表示10×10\(^{2}\)=1000pF,104表示10×104=10000p9F=0.1μF,472表示47×10\(^{2}\)=47O0pF。4R8表示4.8pF,5R6表示5.6pF。电解电容器体积较大都直接标有电容值和耐压值。(倪耀成)
问:夏普GF-888型录音机,最近出现按下录音编辑开关,磁带上不能留下所需要的数秒钟的空白带,何故?怎样修理?(淮阴 张永全)
答:该机设录音编辑开关电路是为了两首乐曲之间插入数秒空白磁带,以便自动选曲电路识别。按下录音编辑开关不能留出空白带,故障在录音编辑电路。正常时,电路中的两个场效管VT301和VT302导通,录音前置放大器IC301的两路输出信号分别由VT301、VT302传递到后级放大器IC302。当编辑开关按下时,则两场效管不导通,使前置信号不能传输到后级,从而留下空白带。如果不能留下空白带,应检查R315、R45是否变质,如它们开路,则控制场效应管关闭的正电压不能到达场效应管栅极,从而产生不能留下空白带的故障。同时也要检查开关连线有无脱焊,更换电阻,故障就能排除。(倪耀成)
问:一台黄河5J1型晶体管收音机,刚开机收音正常,约数分钟便没有声音,关机后再开又重复出现上述故障。怎样修理?(无锡 王彬)
答:产生这种故障的原因,一般是晶体管和电解电容器热稳定性差所引起。大都是变频管和中放管的性能不良。因该机使用锗高频管,它与硅管相比热稳定性差。修理时,测三极管静态电流,如静态电流变大,说明稳定性差。再检查电源电容C13和低放管是否正常,这样就能迅速排除故障,使收音机恢复正常收音。(倪耀成)
问:一台上海L2400录音机,录音无声,放音正常,如何修理?(浙江 祝玉山)
答:放音正常,录音无声。应检查录音控制电路和录音偏磁电路。第一步检查录放开关触点是否接触良好或严重氧化。第二步检查焊点是否有虚焊。然后检查偏磁电路是否正常。重点检查2BG5、2BG6两振荡管的各种电压是否正常,再检查2C126、2C136、2C226、2C137有无变质失效。故障就可排除。(倪耀成)
问:一台美多6620型收音机,收音和放音都有连续不断而且较大的“嘶啦”声。修理时找不到故障部位,请问如何检修?(苏州 王永恒)
答:根据故障现象,很有可能是公用电路即音频放大电路某一级静态电流过大引起音频自激。既快又准确的检修方法是采用交流短路法。即从前置放大器2BG5开始,依次用一只10μF电解电容将2BG5~2BG10的集电极对地短路,当短路到某级噪声消失,说明故障就在该级。认真检测静态工作电流和置换晶体管就能排除故障。 (倪耀成)
问:一台收录机带速时而变快时而变慢,请问何原因造成,怎样检修?(江西 何永泉)
答:使用时间较长的收录机一般来讲较易发生这类故障。其原因有两个:(1)传动皮带老化,有的皮带质量差,局部伸长或弹性变弱,如是此故障更换同规格皮带即可。(2)稳速电路有故障。当稳速电路中的某个元件性能变差或微调电阻异常变化都能使稳速发生故障。检修稳速电路可先调整有关可调元件,如无明显效果,可更换损坏零件,故障即可排除。(倪耀成)
问:夏普GF800型收录机,收音放音均正常,但话筒和转录时均录不上,问什么原因?应该怎样检修?(山东 况文元)
答:发生上述故障,根据修理经验原因有:(1)偏磁电路工作不正常,测振荡管的电压是否与提供数据相符,如不符,检查偏磁电路中的有关元件是否损坏,损坏更换即可。(2)录放开关接触不良。打开机壳,向录放开关内注入无水酒精后反复拨动开关数次,直至开关触点上脏污洗净为止。然后用机内双卡转录试录,如录音正常,说明是录放开关故障。由此实践证明,录放开关发生故障不必马上更换,只要用无水酒精清洗即可。(倪耀成)
问:一台由TDA7273组装的单放机,由于使用不当将其烧坏,可用什么型号集成电路直接代换,并指出各引脚功能。(湖南 张青明)
答:经查阅资料,TA81199和TDA7273两者的功能、封装、引脚排列、供电电压、应用电路均一样,可用TA8119P直接代换TDA7273。各引脚功能如下:①前置地,②前置输入Ⅰ,③前置负反馈Ⅰ,④前置输出Ⅰ,⑤功能输入Ⅰ,⑥稳压滤波,⑦功放输出Ⅰ,⑧功放地,⑨Vcc,10功放输出Ⅱ,音量控制,功放输入Ⅱ,前置输出Ⅱ,置负反馈Ⅱ,前置输入Ⅱ,参考电压。(霄明)
问:一台参花828FE型汽车收放机,功放集成块M51102L损坏,请介绍可代换的集成块型号,各引脚功用及工作电压。(西安 权建义)
答:M51102L可用TA7227直接代换。M51102L各引脚参考工作电压(V)及功用如下:引脚①13.6自举1,②6.8输出1,③4.2滤波,④l.2反馈l,⑤O输入l,⑥O地(大信号),⑦O地(小信号),⑧O输入2,⑨1.2反馈2,⑩7输出2,13.6自举2,13.6Vcc。(霄明)