CMOS集成电路制造工艺简单,成本低,尤其是它的功耗低这一优点,使它的应用极为广泛。CMOS集成电路的另一优点就是它的电源电压范围大,在3V~18V的范围内都可正常工作。
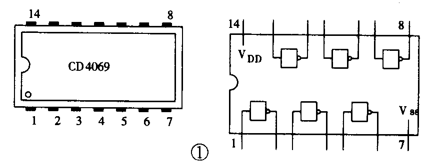
CD4069是一块CMOS六反相器数字集成电路。它的内部有六个相同的反相器。图1是CD4069的顶视图及管脚图,其中VDD接电源正极,VSS接电源负极。下面介绍其几个应用。

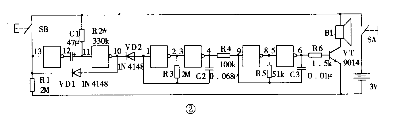
多用途讯响器


图2是多用途讯响器的基本形式即延时讯响器的电原理图,图3是它的电路板安装图。当按一下按钮开关SB后,扬声器响5s~10s(时间长短由电阻R2调节)。这种讯响器可在门铃或一般报警装置上使用。如果将电容器C2去掉,用一根导线取代它,电路就成为一个自锁讯响器,这时只要按一下按钮开关SB,扬声器就一直发声,除非将电源断掉。这种讯响器可作为重要部门的报警使用。在自锁讯响器的基础上再去掉二极管VD1,就成为一个即时讯响器,这种讯响器只有在按下SB时扬声器才发声。
在即时讯响器的基础上电路可以有许多变化。如果将按钮开关换成光敏电阻,就可做成一个亮度报警器。调节电阻R1的阻值,可使光线到一定亮度时报警。如果再将光敏电阻与电阻R1对调安装,就可做成一个暗光报警器,当光线较暗时才报警。电阻R1应选与光敏电阻的阻值相近的可调电位器。
在自锁讯响器的基础上,如果将电阻R1装在按钮开关的位置上,在原R1的位置上连接一根细漆包线再串接一只10kΩ的电阻,就成为一个断线报警器。
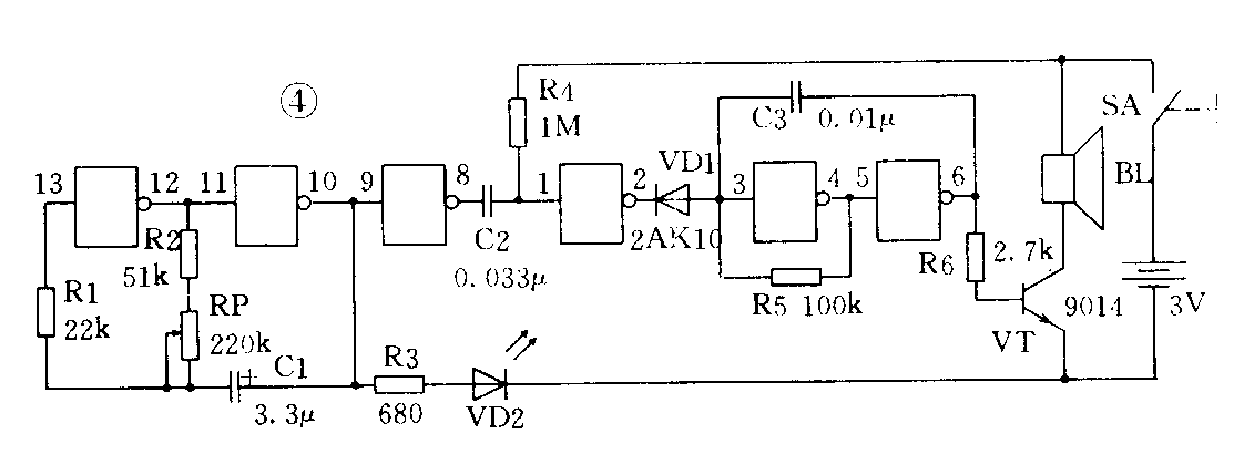
电子节拍器


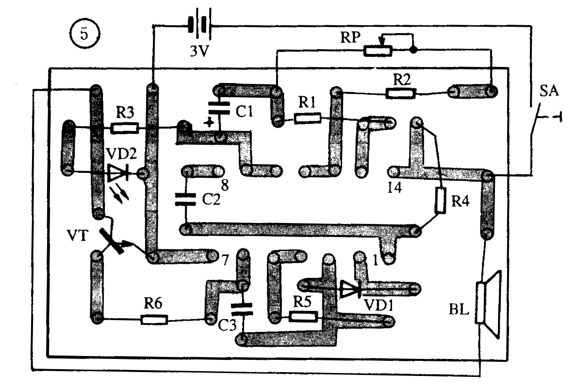
图4是电子节拍器电原理图,图5是它的电路板安装图。这个电子节拍器由节拍振荡器、单稳态触发器、音频振荡器三部分组成。如果想改变节拍速度可调整电位器RP。如果还满足不了需要,可更换电容器C1,容量越大,速度越慢。
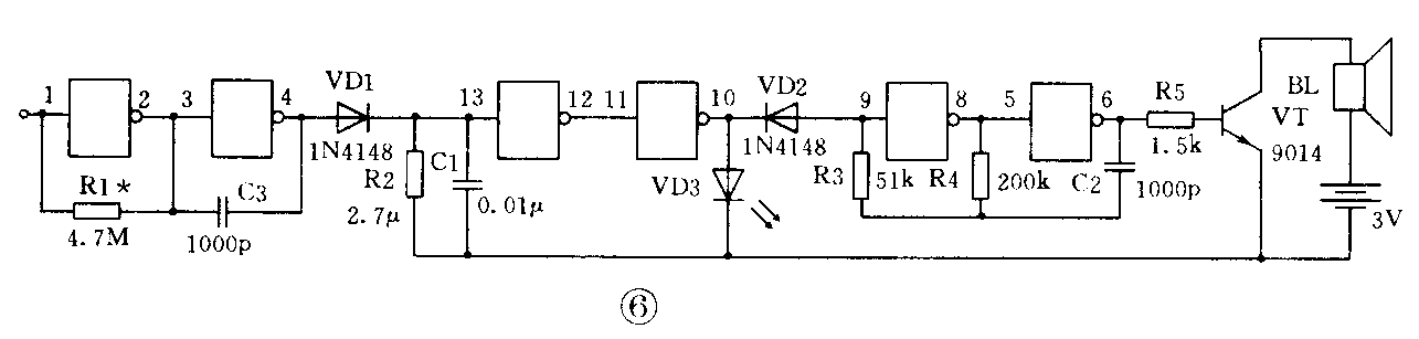
感应式验电器
CMOS集成电路的一个最大特点就是它有极高的输入阻抗,一般在10\(^{9}\)Ω以上。根据这个特点可做一个感应式验电器。图6是感应式验电器的电原理图,图7是它的电路板安装图。使用时将感应式验电器接近220V交流电线附近,如果电线有电,发光二极管会亮,同时扬声器发出鸣叫。如果感应式验电器的灵敏度太低,可在集成电路CD4069的1脚上焊接一根5cm左右的导线。


电路中R1的阻值可在2MΩ~10MΩ的范围内调整。如果电路有自激,扬声器总是鸣叫,可在电容器C3的两端并联一只51kΩ~100kΩ的电阻。(周海)