本文介绍一款高品质数码卡拉OK电路,主要器件使用日本三菱公司最新单片高档数码回声IC- M65831P,运放电路采用性价比高的NE5532,整个电路由两路话筒输入、话筒高低音控制以及数码延时回声电路、音乐控制混合放大处理等电路组成。电路设计简洁而实用,非常适合卡拉OK发烧友业余制作。
日本三菱公司是最早从事数码电路研制的公司,早在80年代就推出M50系列数码OK芯片,其中M50195P其性能卓越已家喻户晓。90年代该公司又推出全新的M65系列单片数码OK芯片,M6583lP是其中性能最好、性价比高的一种。M65831的失真度为0.3%,比M50195的失真度降低0.2%,信噪比为-92dB,比M50195增加-2dB,M65831的取样频率在延迟100ms以下为500kHz,延迟100ms以上为25kHz,这样高的取样频率,能轻易地达到20kHz的音频响应。M65831内部已设置48kbit的静态存储器,使用时不需外接存储器,使工作时更可靠,外围电路大为简化,比M50195外接的动态存储器性能更好。M65831延迟时间由12.5 ms~169.6ms分16档可调,因而它除用于制作卡拉OK机外,也可用于环绕声处理电路,在用于制作环绕声电路时,延迟时间可选用12.5ms~49.2ms,16档延迟时间编程见附表。不同的延迟时间由④脚D\(_{1}\)、⑤脚D2、⑥脚D\(_{3}\)、⑦脚D4等四脚高低电平编程控制,当D\(_{4}\)为高电平时,取样频率为25kHz,适用于卡拉OK应用,具体延迟时间,可根据实际需要按附表调整。

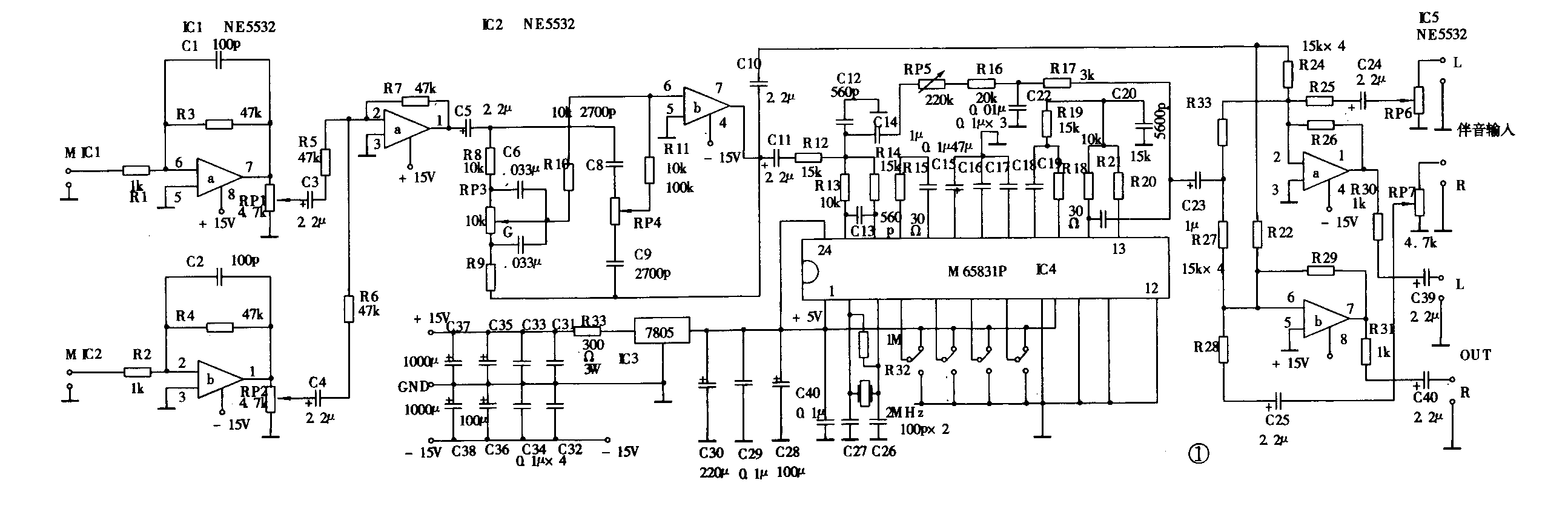
高品质数码OK电路见图1,为了适合业余制作,电路设计力求简洁实用,其中IC1完成MIC1、MIC2放大、MIC1、MIC2音量由RP1、RP2调节,该放大器的放大倍数分别由IC1的①②脚和⑥⑦脚的47k电阻调整,放大后的MIC信号汇集给IC2作缓冲放大再作高低音升降处理,其中RP3为低音调节电位器,RP4为高音调节电位器,经高低音处理后的MIC信号由C11耦合到M65831P作回响延迟处理,回声混音次数由RP5调节。有关M65831内部原理介绍请参考有关文章介绍,这里不再详述。经数码回响延迟处理后的信号与MIC直通信号分别由C10、C23耦合到IC5混合放大,组成模拟立体声信号输出。立体声伴奏音乐信号,分别由C24、C25输入IC5与MIC信号混合后由C39、C40输出。适当调整RP6、RP7使伴奏音乐电平与混音后的MIC信号声搭配适当,接上功放电路即可投入使用。

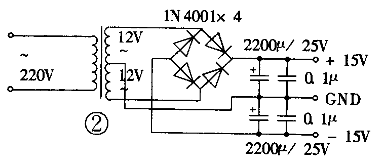
本电路使用±15V供电,印刷板内不含电源部分,自制电源电路见图2,使用双12V变压器,变压器的功率应大于6W。(周放)
