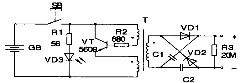
今年夏季,广东、福建等地到处盛行一种高压电子灭蚊拍,其外型像球拍,如右上图所示。这种灭蚊拍非常实用、卫生。笔者觉得很有必要向广大读者介绍一下其电路原理。电路原理见下图。电源利用两节5号电池,经轻触开关SB,加到振荡变压器T。VT为振荡管,其工作频率为18kHz,经T升压到约500V,再经VD1、VD2、C1、C2二倍压升到约1000V加到网面。将蚊拍靠近蚊蝇,网面产生高压放电,立即将蚊蝇电死。升压后的电流极小,对人体安全无害。使用时,只需按下轻触开关即可。

其优点如下:
1.非常卫生。拍蚊子时,不会弄脏手、墙壁、蚊帐等。
2.高效、无毒。电死蚊子、苍蝇及其它飞蛾效果极佳。
3.耗电极省。工作电流约130mA。
4.经使用,深感其趣味性极佳。
值得注意的是,此灭蚊拍不要在严禁烟火的场所使用,也不能往人身上拍打。(青海)
