JGW无源固态温度继电器(以下简称JGW),它集电源变压器、电子线路、输出继电器于一体。利用JGW外加一个传感器或开关接点,就可制成一个温度控制器。JGW具有功率大,无机械触点、控制安全等特点。利用JGW制成的温度控制器还可用在有化学腐蚀或要求防爆的场合。
分类及基本参数
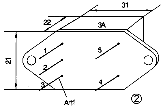
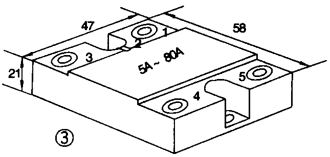
JGW按输出额定工作电流I\(_{0}\)的大小,可分为三种:I0为1A的JGW,外形见图1;I\(_{0}\)为3A的JGW外形见图2;I0为5A~70A的JGW外形见图3。



JGW按控温方式不同,可分为A型和B型两种。A型可用作双点式控温(即区间控温)它有5个引线脚;B型可用作单点式控温,它只有4个引线脚。图1所示是I\(_{0}\)为1A的JGW,只有B型。
JGW的输出开关端“触头”分常闭型(B)和常开型(K)。所谓“常闭”,即跨接在输入控制端1、3脚的电阻大于切换电阻R\(_{0}\)时或1、3脚开路,负载得电。常开(K)则相反。不做特殊声明均为常闭(B)型。

图4为JGW的内部框图。以常闭型为例介绍工作原理:无触点开关由单向或双向可控硅组成,它接受触发电路来的触发脉冲。触发脉冲由间歇振荡器产生,同步调制电源向间歇振荡器供给稳定的电压,间歇振荡器的每个脉冲的宽度受控制绕组的控制。当外接在控制绕组的敏感元件的阻抗值变小时,流过控制绕组的退磁电流增大,脉冲宽度变窄,从而不能触发无触点开关,使输出端断开,加热负载停止加热。反之,输出端接通。实现了由外接在输入端的敏感元件阻值的变化自动启停大功率加热负载的目的。其特性曲线见图5。

JGW的基本参数有如下几项:
1.输出端额定工作电压U\(_{4}\).5为交流220V±20%,频率50Hz,额定工作电压可设计在交流24V~380V之间的任意值。
2.输出端额定工作电流I0:1A~70A
3.输出开关端的有功功率电压降:U4.5≤2V
4.控制端传感器切换电阻R0:500Ω~15kΩ
5.控制端对输出端之间参数:
介质耐压:≥2500V 绝缘电阻:≥500MΩ
6.工作环境温度-30℃~+75℃
7.控温精度可达:±1℃
8.工作寿命:10×10\(^{8}\)次
传感器与调温装置的选用
JGW与不同阻值的传感器相配合就能实现任意温度的控制。
(一)单点控温用传感器。它的规格较多,如有-10℃、+25℃,+200℃等。根据需要控制的温度值,选用对应的传感器与JGW相配合,可实现在一20℃~+300℃中任意一点的温度控制。例如某加温装置的电流为30A,电压22OV,控温点为70℃,则可选购70℃的传感器和40A/220V的JGW。
(二)带有传感器的调温装置,外形见图6。调温装置的规格有多种,即控温范围段有多种:W1为-20℃~+20℃, W2为+20℃~+60℃,W3为+60℃~+100℃, W4为+100℃~+150℃, W5为+150℃~+200℃,W6为+200℃~+300℃。例如,某加温设备常用控温范围在+70℃~+90℃,电流为10A,电压220V,则可选用W3控温段和10A/220V的JGW。

应用举例
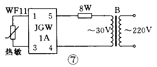
1.作低压小功率单点恒温自动控制器

图7是某保健产品用恒温自动控制器电路,该产品工作在安全电压30V、功率8W,控温点80℃±3℃。根据这个要求可直接选用单点带传感器的JGW继电器。其控温时间曲线见图8。

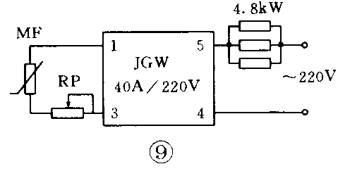
2.作单点单相大功率恒温自动控制器
某加温装置需要控温范围在+30℃~+50℃之间并能连续可调,功率为4.8kW,电压220V。则可选用W2控温范围段(+20℃~+60℃)和 40A/220V的JGW,电路见图9。假设调节旋钮使其控制在+40℃,则当温度低于+40℃时,负温度系数的热敏MF电阻与RP电位器电阻相加大于切换电阻则加温;当温度达到+40℃时,MF电阻与RP电阻等于或小于切换电阻,则停止加温,这样温度始终控制在+40℃。

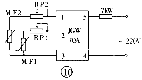
3.作双点单相大功率恒温自动控制器
由于某些加温设备要求功率较大,为了减少开关元件的频繁起动,可采用双点式控温。如某控温装置的功率为7kw。双温点为+40℃~+50℃。只要温度低于+40℃则加温升到+50℃停止。只有当温度从+50℃下降至低于+40℃时加热器才重新加热。本装置需选用W2控温段两套。此电路中用70A220V的JCW,详见图10。按电路连接好后,调节电位器RP1、RP2,使指示值分别为+40℃、+50℃。本电路成立条件是在任意温度值时RP2+MF2的电阻大于RP1+MF1的电阻。

4.电接点与JGW相配作多种自动控制器
由于JGW的控制端为电阻变化控制,因而控制端的接通或断开便可实现输出端的断开或接通。这样JGW可以与可调水银电接点温度计组成可调温度控制器;与固定电接点水银温度计组成固定点控温;与机械式温度继电器相连实现大功率温度控制;与开关相连实现远程控制;与电接点压力表相连实现远距离的压力控制。图11为固定电接点水银温度计(80℃)与25A220VJGW制成的3kW的大功率控温器。当温度低于80℃时,电接点与水银断开,相当于电阻无穷大,JGW4、5脚导通,温度上升,上升到80℃时,电接点与水银接通,JGW4、5脚断开,停止加热,当温度低于80℃时,继续升温将温度控制在80℃,控温精度可达±0.5℃。

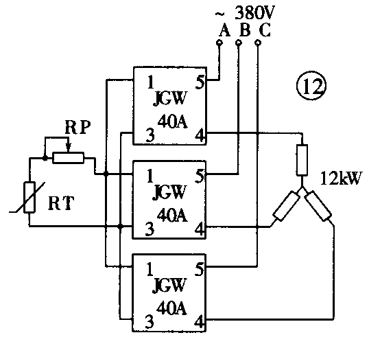
5.作三相大功率恒温控制器

图12是选用3只40A、200V的JGW做12kW的控温装置。选用带传感器的连续可调电位器,且温度段可选择W4段,便可实现+130℃~+150℃之间的温度控制。连接时将3只JGW的1、2端相并即可。如把传感器改为可调电接点水银温度计,可更方便地实现0~300℃内连续可调控温。
6.作温度报警器
选用JGW常闭器件与正温系数热敏电阻相配可作高温报警;常闭与负温度系数热敏电阻相配可作低温报警器。选用JGW常开(K)器件与正负温度系数的热敏电阻相配可作低、高温报警器。图13是选用JGW常开(K)器件与正温度系数热敏MZ11相配作90℃的低温声光报警器。由电位器RP加入便于调整报警温度。JGW常开(K)器件的切换电阻R\(_{0}\)一般为2kΩ~5kΩ。MZ11电阻值随温度升高电阻增大,JGW常开器件当电阻大于切换电阻时JGW4、5脚断开。当温度低于设定值90℃,电阻值小于切换电阻,JGW4、5脚导通发出声光报警,表示温度低于90℃。

使用注意事项
1.电阻负载电路中,在选择JGW时,额定电流值应为负载电流的1.4倍;电感负载电路中,选择JGW时,额定电流值应为负载电流的4~8倍。
2.JGW器件的散热:负载电流超过5A以上应加散热器进行散热,器件与散热器之间要涂导热硅脂。一般可按实际工作电流1A配30平方厘米以上的散热器来计算,即1A电流大约配1W散热器
3.JGW带感性负载时,必须加RC、RV保护电路。(陈光辉 徐文辉)