(马荣军)此模块能够将直流电压进行升压转换,而且输出电压自动稳定,内含有一只10μ/50V的滤波电容器,因此可以直接应用于电压稳定度要求较高的电路。图①为模块内部方框图.它含有DC/DC电路的所有功能,并把升压电感器也封装在内。

此模块的主要电参数:①输入电压:2.5V~40V②输出电压:2.5V~40V③无负载时的工作电流:4mA④工作频率:50kHz⑤最大输出功率:1.25W。
模块的外形及引脚排列见图2。

现提供两则应用实例,供读者参考。
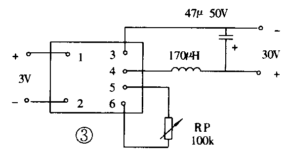
一、调谐电压提升电路,见图3。电源用两节干电池(3V电压)。它的输出可以作为电视高频头的调谐电压。5、6端上所接的微调电阻RP,用来调整模块的输出电压,使输出电压达30V,然后RP用同样阻值的金属膜电阻替代。此模块的输出电压有很高的稳定度,当把RP调整好后,如输入电压有变化,输出电压仍保持30V。

作为TTL电路的稳压电源。电路见图4。它能够为TTL电路提供一个稳定的电压。当模块输入电压高于5V时,调整RP使其输出为5V电压,这时模块将作为稳压器使用;当输入电压低于5V时,模块可以自动转为升压器,以使输出电压始终保持5V。因此利用此模块用2至4节干电池作为电源,即可得到稳定的5V电压。
