(徐金荣)“东方”TFA-1000是国产电子管、晶体管合并式功放。该机用料较为考究,除采用两个大型电源变压器、两个10000μF电容、NE5532前置以及山肯发烧功率管2SA1494、2SC3858以外,在前级还用了二个6N1电子管(左右声道各一)。该机音质醇厚,性价比较高。
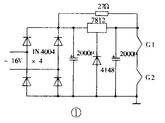
当然该机也存在薄弱环节,如它的电子管灯丝电源稳压电路就存在缺陷:它采用一个三端稳压器7812供电,7812的输出电压为12V。6NI电子管的灯丝电压为6.3V,两个串接为12.6V,所以机中又在稳压器下加了一个二极管4148,从而使输出电压升为12.6V。同时,由于两个电子管的灯丝功耗较大,而7812的功率不够,所以原机中除了给7812加装庞大的散热器外,还并接了一个27Ω的分流电阻,以保护其不致烧毁,见图1。这个缺陷就为发生故障埋下了伏笔,这个电阻其实是很难起保护、分流作用的。因为其附值过大,起不到保护分流的作用,过小的话势必引起灯丝电压升高,将危及电阻本身及电子管的安全。另外,因为交流电网电压不稳,电子管将不能得到稳定的直流电压。

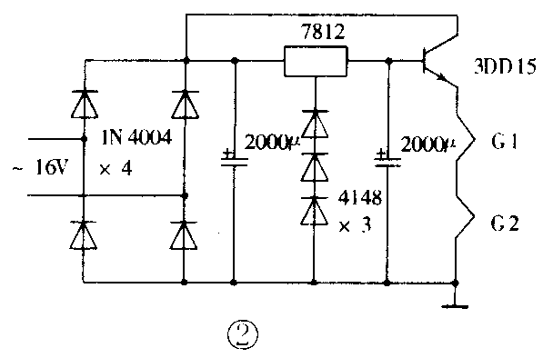
笔者就碰到一例保护电阻烧毁(开路)的故障,修复时,在7812输出端加装了一个大功率三极管3DD15(功率更大的同类型管更好),配上散热器,将稳压输出接入大功率管的基极,将大功率管的集电极接在7812的前端,发射极作输出,接至电子管灯丝。同时,考虑到功率管的发射结压降,输出电压将低于12.6V,又在7812的下面加了二个二极管4148,使得输出电压稳定在接近13V的位置(不受电网波动影响),见图2。改动后,该电路的输出内阻大大降低,满足电了管灯丝的功耗。工作时,该部分电路的发热量大大减小。
