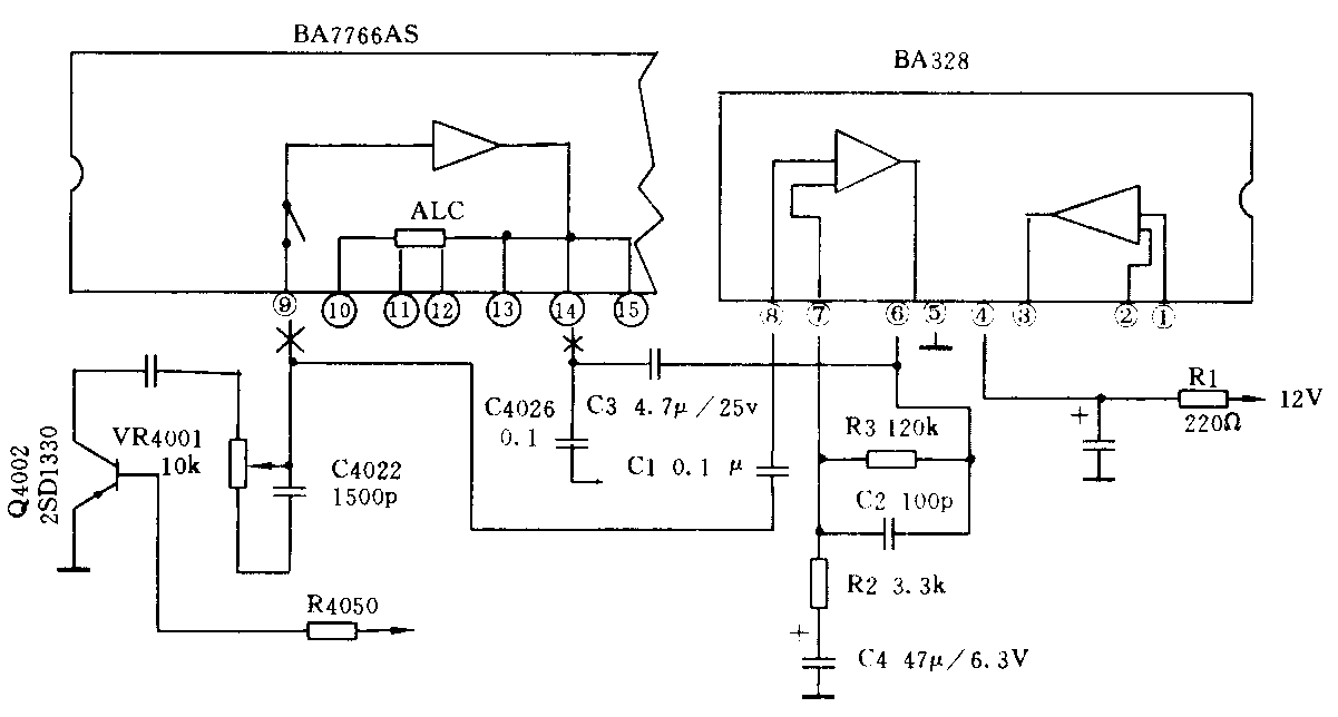
(田华 房建华)一台松下J27录像机刚开机时,图像、伴音均正常,但两分钟后,图像虽正常(其他操作按钮也正常),但伴音逐渐消失,很明显,这种现象是伴音信号处理电路出了故障。检查伴音放大集成块IC4001即BA7766AS的各脚电压值,发现14脚电压由正常值5.6V逐渐减小。经分析BA7766AS的内部电路可知,音频信号从音频磁头至AV音频输出端子共有两级放大电路。BA7766AS的3脚至8脚为第一级放大。9脚至15脚为第二级放大。在正常放像状态下。4脚为1.5V,8脚为2.1V,10脚为0.4V。14脚为5.6V。在出故障时14脚电压逐渐下降为1.5V左右。用示波器测9脚输入音频信号正常,14脚音频信号输出一点也测不出,说明9至14脚的第二级放大电路损坏。仔细检查外围元件正常。鉴于目前市场上很难购到BA7766AS,即使有但价格也比较贵,所以对它进行修复还是必要的。
实践证明可用普通伴音前置放大集成块BA328,替代BA7766AS的第二级放大电路。BA328的市场售价只不过两元左右。具体方法是用BA328组成一负反馈放大器,如图所示。BA328内部电路中共有两级放大。因BA7766AS内部只损坏一级放大器,所以只要用BA328组成一级放大器就可以满足要求了。具体连接办法是:图中R1接BA328的4脚,即12V正端。C1接电路中电位器VR4001的中心端,并切断BA7766AS的9脚与VR4001中心端的连线。C3接电路C4026与BA7766AS的14交接处的一端,且断开与14脚的联系。BA328的,发闷,可以调整电容C4的容量,从而改变放大器的频率特性。伴音信号的大小,可以通过改变R2的阻值来实现。
