棉花在常态下是含水的,含水的多少直接影响到其真实重量和物理、化学性质,因此棉花的含水率与棉花的生产、收购、加工、贮运及纺织等有着密切的联系。本文介绍的电阻式棉花水分测定仪(以下简称电测仪)就是用来测量棉花含水率的仪器,它具有体积小、成本低、易操作等特点。
工作原理
电测仪是利用棉纤维在不同含水率下具有不同电阻的特性,在试样的质量、密度、极板电压等试验条件一定的情况下,测量通过棉纤维电流的大小,间接地得出棉花的含水率。根据电流值与棉纤维含水率的关系(见表1),即可用电测仪直接测出被测棉纤维的含水率。但由于棉花在不同温度时的导电性不同,温度高时导电性增强,从而棉花的真正含水率与测量的观察值有一定的误差,所以还须对测量结果进行修正。
表1
上层(直流360V) 下层(直流45V) │
含水率 等效阻值 电流值 含水率 等效阻值 电流值
(%) (MΩ) (μA) (%) ( MΩ) (UA)
6 — — 8 20.00 2.2
7 30.85 10.45 9 5.40 7.7
8 10.00 26.47 10 2.25 16.7
9 3.35 51.80 11 0.59 43.3
10 1.42 71.71 12 0.20 69.2
11 0.47 88.45 13 0.08 84.8
12 0.19 95.04 14 0.04 91.4
电路原理
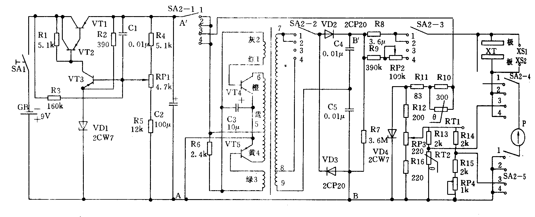
本文以较典型的Y412A型电测仪为例,对其电路原理进行说明。电路见附图,主要由直流稳压电路、直流电压变换电路、水分测量电路和温差测量电路组成。

直流稳压电路见附图AA'左边部分电路。VT1、VT2组成复合管调压电路,VD1、R2构成稳压电路,使VT3发射极有一个固定电压作为基准电压。直流放大器VT3起比较和放大信号作用。此直流稳压电路输入是9V,输出在3.9~5.5V间连续可调。调RP1,使输出电压为5V,供后续电路使用。
直流电压变换电路见附图AA'与BR'之间的电路。VT4、VT5和T构成推挽式自激振荡变换电路。电源接通后,AA'间的5V直流电经R6和反馈绕组向VT4和VT5的基极注入电流。两只三极管在开始时同时导通,但因内部不平衡造成工作状态不平衡对称,使VT4和VT5交替出现导通和截止。集电极输出矩形波,因而变压器次级绕组上得到交变的感应电动势。经自激升压后,变压器次级绕组7、8脚分别输出180V和22.5V的交流电,此交流电经VD2、VD3、C4、C5组成的倍压整流电路后在BB'端输出360V和45V的直流电,分别供上下层水分测量电路使用。
水分测量电路分为上、下两层测量电路。上层测量电路由R8、极板XT和电流表P串联组成,测量含水率为7%~12%的棉花,标准测量电压为360V;下层测量电路由R9、调满电位器RP2、极板XT和电流表P串联组成,测量含水率为8%~15%的棉花,标准测量电压为45V。上下层测量由波段开关SA2(5×4)控制,分别拨在2、4位置。测量时将50g棉花试样置于极板之间,并用加力器加735N压力。插座XS1、XS2与极板XT并联,用于电测仪的校验。校验时,将标准电阻箱的两根导线分别接在XS1、XS2上,校验结果应符合表1的要求。
温度测量电路是依据电桥平衡原理设计的。将热敏电阻RT2接入桥路,通过其阻值随温度的变化来测量棉花的温度。RT1、R10并联后与R11、VD4构成稳压电路。 工作时,将转换开关SA2拨到3端即进行温差测量。当RT2在l℃时,调节RP4使电桥平衡即电流表指针不动;当RT2在41℃时,调节RP3使表针偏转至满刻度。因此,当温度从1~41℃变化时,表针就会相应的偏转,从而测出棉花的温度。根据棉花含水率与温度的关系(见表2),直接在表盘上刻出温差补偿值。(余楠)
表2
温度标尺 +2.5 +2.0 +1.5 +1.0 +0.5 0 -0.5 -1.0 -1.5
(含水率%)
代表温度(℃) 1 6 11 16 21 26 31 36 41