这两种稳压器静态电流仅12μA,它们可以接成+5V固定输出,或利用两个外接电阻就能决定其任意输出电压,其输入电压与输出电压的压差为0.8V。输入电压的范围可从+2V~+16.5V,提供40mA的电流输出。如需获取较大的输出电流,对于ADM663可以通过外接功率三极管的办法来实现。所不同的是,ADM666具有低电压检测端,而ADM663则有温度比例输出端。
图1是这两种稳压器的内电路方框图。图2是这两种IC的管脚排列图,这里,Vout——电压输出端;Vin——电压输入端,GND——接地端


SENSE——传感端(极限电流传感输入[相对于Vont(2)],若不使用,将它与Vout(2)相联)。LBI——低电压检测输入端,LBO——低电压检测输出端,V\(_{SET}\)——用于调节电压输出,VTC——温度比例输出端,SHDN——数字输入端,(使用它可以使器件不工作时的功耗最低)。
图3是ADM663或ADM666电路接成+5V固定输出的电路。

可调输出的接法见图4。这里R1、R2的选取公式为:R2=R1·(V\(_{0}\)1.3-1),R1可选取1MΩ,因为VSET的输入电流极低,另外图4中R\(_{CL}\)的选取应遵循公式RCL=0.5;I\(_{CL}\),ICL≤50mA。

低电压检测的用法见图5,由于ADM666内部设置低电压检测电路,所以可以应用这一功能,这里R3=R4(\(\frac{V}{_{BATT}}\)1.3-1)VBATT是电池电压跌落的最低值,同样,由于LBI端的输入电流应该极低,所以R3、R4要选得很大,例如,当V\(_{BATT}\)=6V时,R3=2.7M而R4=10M。LBO端即输出低电压检测信号的管脚。


图6是ADM663用于扩展电流的接法,这个电路外接了NPN功率管2N4237,使得输出电流可以达到0.5A,1Ω电阻为输出限流电阻。

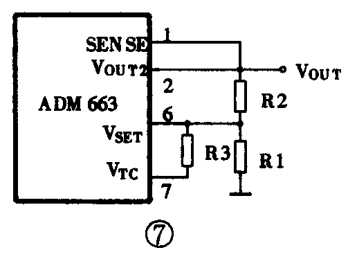
图7是ADM663用于温度比例输出,其内部包含有+2.5mV/℃的正温度系数的V\(_{TC}\)输出,通过一个电阻连接到误差放大器(VSET)的加法端,结果在稳压器的输出端产生一个负的温度系数。在25℃,V\(_{TC}\)典型输出为0.9V,这里:
V\(_{OUT}\)=VSET(1+\(\frac{R2}{R1}\))·R2;R3(V\(_{SET}\)-VTC)
TCV\(_{OUT}\)=-\(\frac{R2}{R3}\)·TVCTC
V\(_{SET}\)=1.3V,VTC=+0.9V TCV\(_{TC}\)=+2.5mv/℃。
值得注意的是ADM663/666可与MAX663/666互换使用。
另外,为了得到良好的高频去耦效果,在电源输入端应该接上l00μ电解电容与1μ电容并联,输出端的滤波电容器一般用10μ左右即可。(张国华)