本文介绍的人体感应与温度控制的电风扇是依靠人体发出的微量红外线热量和环境温度来控制电风扇的开启与关闭的。它使用了新颖的温度传感器、热释电红外传感器和专用控制集成电路,实现当室温高于需要开启电风扇的某一温度并且人体出现在热释电传感器可测范围内时,电风扇自动开启,人离开后自动关闭;当室温低于这一温度时,即使人在热释电传感器可测范围内电风扇也处于关闭状态。整个电路具有集成度高、功能齐全、装调简便、性能可靠等特点。其遥感距离为10m,角度为85°,温度设置为26℃(可根据个人的感觉设置其它温度点),适合于家庭、宾馆、餐厅、办公室等场合,可用于落地扇或吊扇的控制,具有节能、方便之功效。
电路工作原理
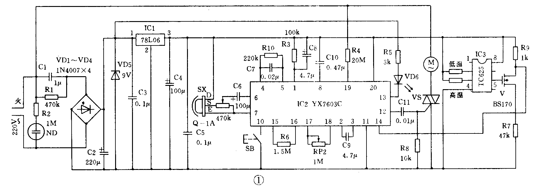
本电风扇控制电路如图1所示。它主要由热释电探测控制电路、温度传感器电路和电源电路等部分组成。

1.热释电探测控制电路
热释电探测控制电路由热释电探头SX、专用集成电路YX7603C及其外围元件构成。图2是YX7603C的内部电路方框图,图3是其引脚排列图。


YX7603C具有两路(12脚和13脚)相互独立的输出,可分别用于驱动双向可控硅和发光二极管。双向可控硅的驱动时间可在48~1536s范围内连续可调,由RP2调节。同时YX7603C具有自动光控(白天待机、黑夜开机)、开机延时(3~5s,以便操作人员退出控制区域)、触发延时、测试、复位等功能。另外,它所用外围元件少,故障率低,故有安装方便等优点。
2.温度传感器电路
TC625是一种将感温元件、放大器、比较器集成在一起的新颖温度传感器,它可很方便地由两个外接电阻来设置高低温度,精度达到±12℃,测温范围为-55~130℃。它有三个输出端,输出端各脚的工作状态如图4所示。使用时用户只要在2、3脚分别接不同阻值的电阻来设置高低温度,其阻值按下式计算。

R=0.5997(273.15+t)\(^{2}\).132
其中t为设置的温度。
如果电风扇开启温度设置在26℃,则R\(_{高温}\)=113902Ω。若将电风扇电动机M换成电热风的,用TC625的7脚加一反相器来输出给MOS场效应管BS170,则可用于冬天对电热风的自动遥感。例如在低于8℃时启动电热风,则R低温=99786Ω。
3.电源电路
电源电路采用电容降压方式。220V市电经C1降压限流、VD1~VD4组成的桥式电路整流,由VD5稳压后输出9V直流电压。此电压再经三端稳压器件IC1稳压,输出6V平滑的直流电压供给电路使用。R2为限流电阻,氖泡ND作为电源指示灯。
4.工作过程
当环境温度超过26℃时,TC625的6脚输出高电平,触发MOS场效应管BS170导通,使得YX7603C处于守候状态。这时,当人体的红外线被热释电传感头SX摄取后,即有一微弱信号输入到YX7603C的6脚。该集成电路内部有两级直接耦合的低频放大器,总放大量为3600倍,为使他们稳定可靠地工作,两级放大均由内部稳压器供电,且在第一级放大器的外围电路上设计了一个反馈电阻R10,用以调节增益,防止自激。信号经LPF低通滤波器后进入比较器,然后再通过锁存、控制等电路耦合至激励电路,分别由12、13脚输出。13脚输出驱动发光二极管VD6点亮,作为触发工作状态指示。12脚输出驱动双向可控硅VS导通,带动电风扇电动机M通电运转。只要人体在触发延时时间内(即48~1536s)稍动一下,电风扇就不停地转动,直到人体离开电风扇后,仍继续工作一段时间,然后自动断电关机,这样就实现了电风扇的自动控制。
元器件选择与制作
当设置温度为26℃时,R\(_{高温}\)可由100k电阻和22k可调电阻串联构成,调节22k可调电阻使R高温=113.9kΩ。R\(_{低温}\)可选一只100k可调电阻。图5是电风扇面板的布置示意图。SX外壳选用C型仿摄像机型,外壳有一个40×39mm的开口并带有一白色的曲形框架(大小为45×45mm、内径为40×40mm)。菲涅耳透镜采用Q-1A型,是一块长方形可弯曲的乳白色塑料,剪掉多余部分,用万能胶顺曲面贴到框架上,曲面要求平滑,以保证灵敏度。热释电传感器采用P228型,如图6所示,安装在距透镜曲面29mm远的地方。C1、C9必须采用无极性电容器。R3要采用金属膜电阻。RP1的阻值不能小于250kΩ,如果不需要经常调节灵敏度,RP1可改用金属膜固定电阻。SB为微型常开式按钮开关。双向可控硅VS可选用3A/600V的,其余元器件的选择无特殊要求,可按图1所标型号及参数选用。


调试方法
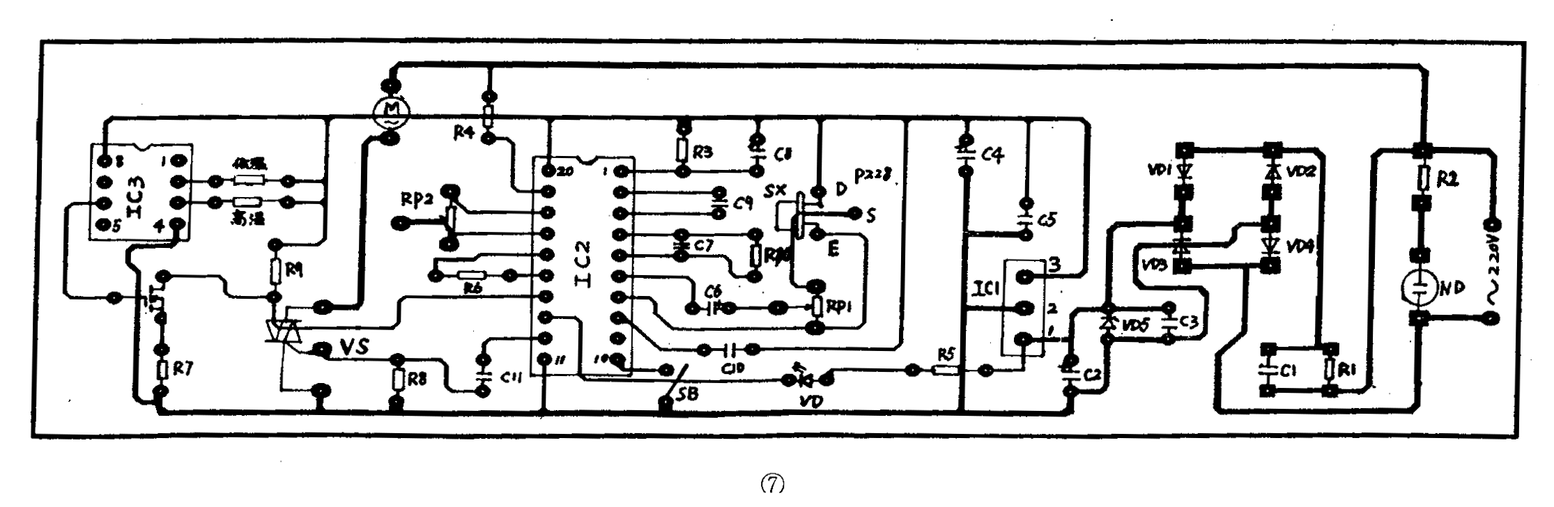
印制板图见图7。如果焊接无误,元器件良好,即可通电调试。但由于电源电路为电容降压方式,线路是带电的,安装调试时要注意安全。首先调节R\(_{高温}\)电阻,在26℃时使TC625的6脚输出高电平,调节R7,使YX7603C的14脚电压为2V。然后在TC625的6脚为高电平的情况下,将RP1的滑动臂旋到SX的端(使输入信号最大),此时用手在SX前晃动,VD6应点亮,同时双向可控硅VS开始工作,电风扇电动机M转动,1秒钟后VD6熄灭,而VS仍正常工作,延时一段时间后再截止。如果要改变VS的导通时间,可通过调节RP2的阻值,直至符合要求为止。

调试过程中如发现电路自激,表现为没有信号输入时,VD6、电风扇电动机M也分别会周期性地闪光和运转,这时可分别调整R3阻值改变第一级放大器的偏置,减小C6、C9容量改变低频响应,减小R10阻值降低增益。通过以上调试即可消除自激。RP1用来控制遥感距离。SB为测试按钮,低电平有效,正常使用时严禁接地。调试完毕,就可投入正常使用了。
调节落地扇的升降金属杆可以控制透镜的高度,一般设定在1m左右。(李学金)