4.色度信号处理电路
AN5195K包含了PAL/NTSC彩色处理电路及SECAM信号处理接口,与SECAM彩色处理IC-AN5637对接可极方便地完成SECAM彩色信号解调,参考图1。PAL/SECAM彩色解调电路中采用了基带延迟线解码系统,SECAM解调电路AN5637中采用了PLL解调方式和内置钟形滤波器电路,省掉了传统峰值差分SECAM解调电路的外接调整线圈和钟形滤波器线圈,提高了整机可靠性和生产工艺性。

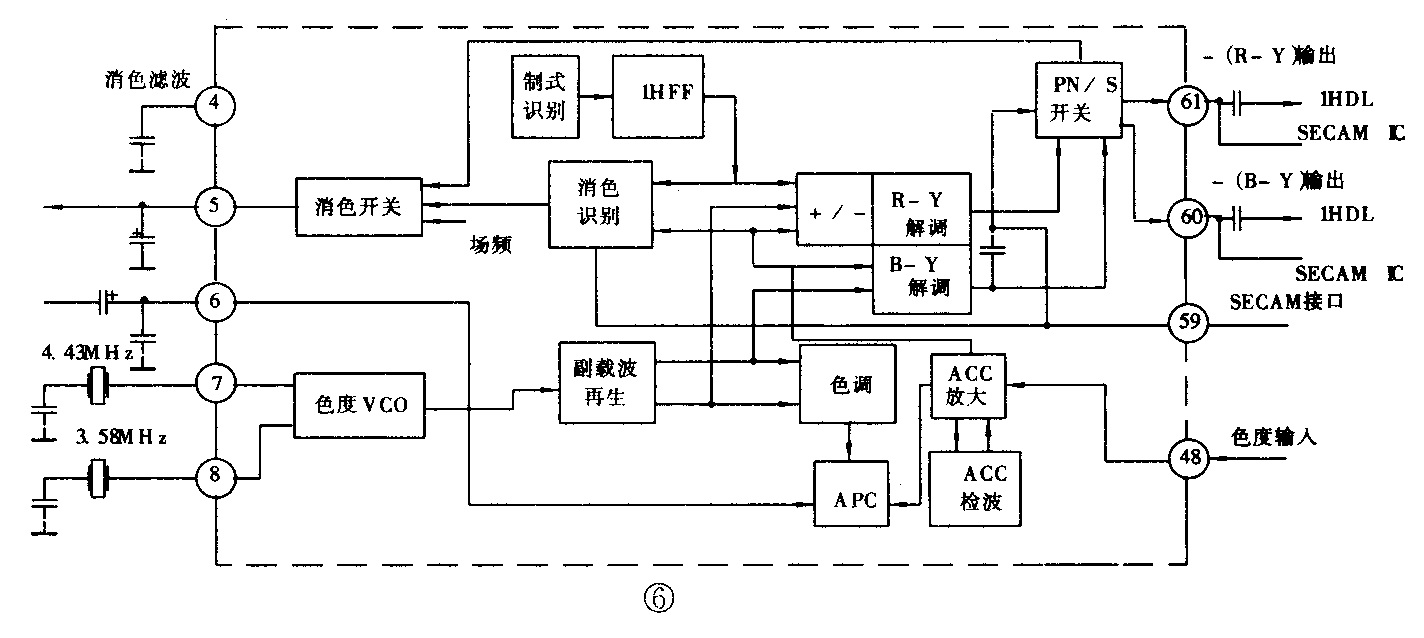
PAL/NTSC彩色解调电路如图6所示:色度信号由48脚输入,进行ACC(Auto Colour Control)放大后一路送至R-Y、B-Y解调器,另一路送至APC电路使色度副载波振荡电路产生同步解调所需的基准副载波信号并送至解调器,解调后的-(R-Y)、-(B-Y)信号由60脚和61脚输出。在PAL制时,1H FF半行频触发器切换色副载波的相位90°/270°以完成R-Y解调输出。在SECAM模式下,60和61脚变为高阻状态。在NTSC模式下,色调TINT电路起作用,它是一个移相电路,可改变送至APC电路的基准副载波的相位,使APC输出电压偏移,从而改变色度VCO振荡频率(相位),使R-Y和B-Y解调轴旋转,改变色调。消色识别电路在色同步选通脉冲BGP(Burst Gate Pulse)期间工作,当4脚滤波器电压低于2.8V时,消色器动作,关掉色度输出并在5脚输出识别结果,另外5脚通过I\(^{2}\)C总线设定还可用于50Hz/6Hz和SECAM识别输出。AN5195K的59脚是SECAM识别及基准频率输出脚,当有SECAM信号时,直流电压为4.6V,并有4.43MHz基准频率输出。无SECAM信号时直流电压约为1.3V。色度副载波振荡频率可由I2C总线选择3.58MHz或4.43MHz。

SECAM彩色解调电路由AN5637等组成,图7给出了AN5637内部原理框图。SECAM制的色度信号由16脚输入,经ACC放大后送入钟形滤波器滤波,然后进行PLL解调及去加重处理,在输出级控制下由9脚和10脚分别输出-(R-Y)和-(B-Y)信号。无SECAM信号时,9、10脚将变成高阻状态。
AN5637的15脚是沙堡脉冲SCP(Sand Castle Pulse)输入脚,用于产生消隐期间并可提供识别电路的时钟信号。1脚输入的是SECAM识别直流电平和基准副载波,基准副载波用于调整钟形滤波器及作为PLL解调的基准频率。基准频率和带隙基准频率可使PLL产生所需的解调特性。
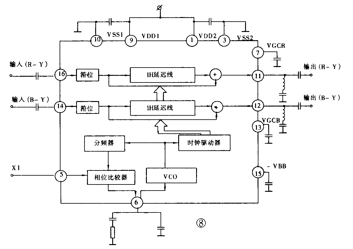
5.基带延迟线MN3868
传统的PAL制解码器采用由玻璃延迟线及和差电路等组成的梳状滤波器,先将色度信号F=Usin(ωst)±Vcos(ωst)分成Usin(ωst)和±Vcos(ωst)两部分,然后用U、V同步解调器将其解调成B-Y和R-Y信号,完成色差信号的还原。随着技术进步,一种新的彩色解码方式即基带延迟线方式被广泛应用于PAL、SECAM彩色解码电路。典型的基带延迟线系统如图8所示,它由两部分组成,一部分是两个独立的1H延迟线及加法器,各形成一个直通信号与延迟信号的几何相加器,对R-Y、B-Y信号进行延迟相加处理(PAL/SECAM)完成解码器所需的解调特性。另一部分是延迟线驱动时钟产生电路,时钟频率一般采用3MHz(192倍行频),由5脚输入的沙堡脉冲进行192倍PLL倍频而得。

对于NTSC信号,基带延迟线对相邻两行的色度信号进行幅度平均,有利于减小NTSC信号的色度畸变。由于1H延迟线采用开关电容式(飞利浦公司)或CCD方式(松下、东芝公司),可形成准确的延迟时间,不需外接调整,简化了电路。另外,基带延迟解调系统对传统方式中由串扰不良因素,如非PAL制中的色调畸变及SECAM制中的6H爬行等制式本身的缺陷有明显的改善作用。
6.R、G、B信号处理电路

R、G、B信号处理电路如图9所示,它由基色合成矩阵,R、G、B输入切换开关,CRT驱动调整及亮度、色度控制电路等几部分组成。其工作原理如下:电视信号经基带延迟线系统处理后得到的-(R-Y)、-(B-Y)分别输入64、63脚,经色饱和度控制电路后,送至G-Y矩阵产生G-Y信号,G-Y与R-Y,B-Y及Y信号一起送至R、G、B合成矩阵,生成R、G、B三基色信号,送至开关切换电路。外接R、G、B输入11、12、13脚用于图文电视或屏幕显示字符输入,也送至开关切换电路。由10脚输入的Ys信号对其进行高速切换。经切换后的R、G、B信号由箝位电路恢复直流成分(控制亮度)送至、R、G、B驱动控制电路。通过I\(^{2}\)C总线驱动电路可对CRT截止电压(cut off)及驱动增益(Drive)进行调整,并由15、16、17脚输出至视频放大电路,经视频放大电路作进一步放大后驱动CRT重视图像。
7.扫描信号处理电路

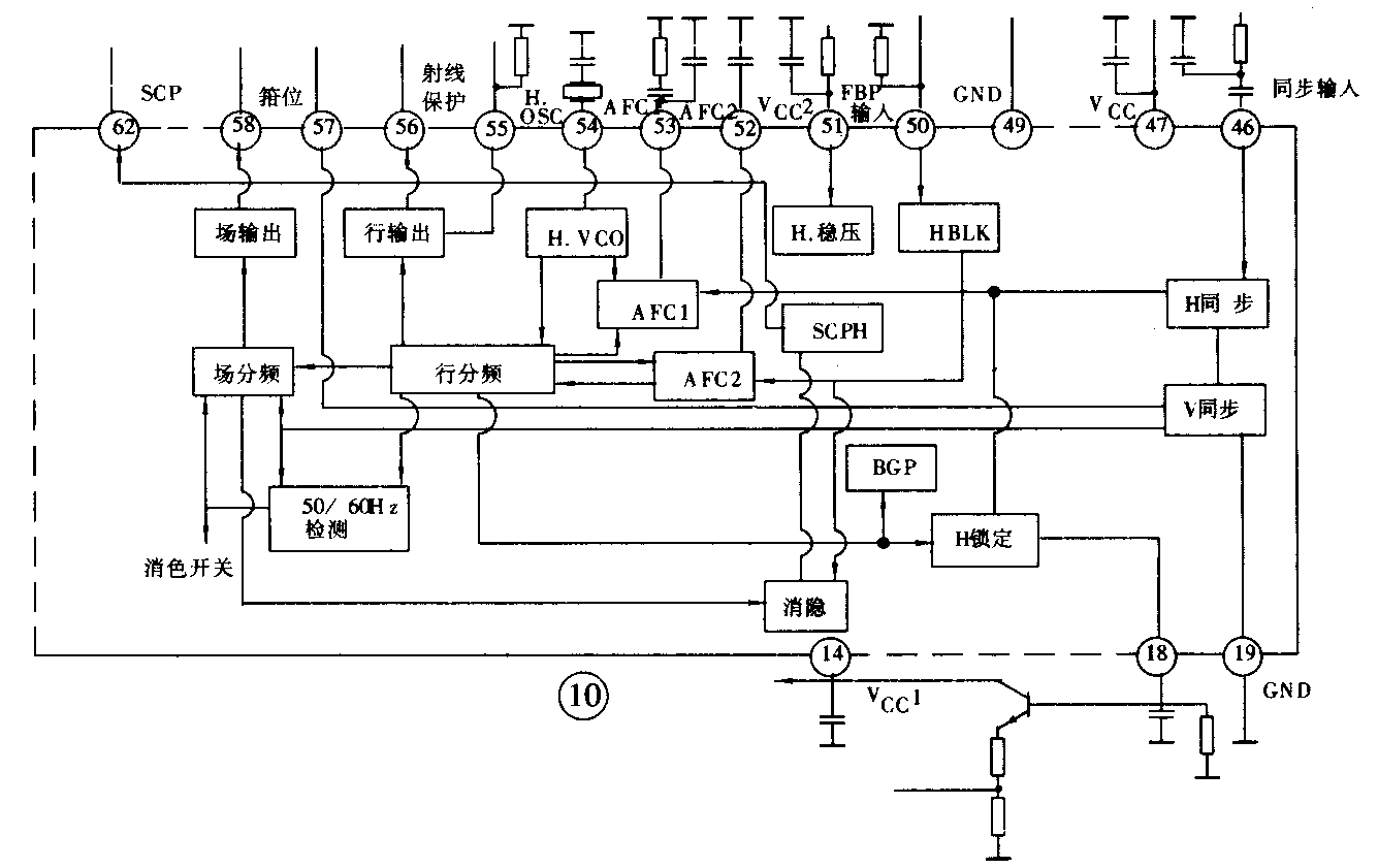
扫描信号处理电路由同步分离电路,32倍行频振荡及分频电路,行AFC控制,场频检测识别,行场脉冲输出驱动电路及X射线保护电路等组成,如图10所示。H.VCO产生32f\(_{H}\)振荡,AFC1环路用于控制32fH振荡器,实现行同步。AFC2环路用于调整行振荡相位,即图像水平中心。同步分离电路产生行场同步脉冲,行同步脉冲加至AFC1及行锁定检测电路,控制行同步。场同步脉冲加至50/60Hz)场频识别及场脉冲形成电路,产生场输出脉冲(宽度为10H)及识别信号。另外,行场消隐脉冲(HVBLK)送至沙堡脉冲形成电路,产生沙堡脉冲,由62脚输出。51脚为行场电源,内有6.3V稳压电路,典型输入电流为15mA。55脚为X射线保护电路输入端,常态为0V。
8.I\(^{2}\)C总线控制接口电路
AN5195K的总统接口共有14个DAC和13个开关量。DAC分别是:3比特2个(行中心和视频幅度),6比特4个(色度、色调、对比度和射频AGC),7比特4个(亮度、R驱动、B驱动和BIFVCO),8比特3个(R、G、B截止),9比特1个(AFT失调)。I\(^{2}\)C总线格式见图11,AN5195K的从地址(Slave address)为10001010(8AH)。表2给出了子地址及数据位格式,括号中的数值是原始状态。(全文完)(李砚泉)

