集成电路的品种型号浩如烟海,难以计数。面对世界上如此飞跃发展的电子产业,至今国际上对集成电路型号的命名无统一标准。各厂商或公司都按自己的一套命名方法来生产。这给识别集成电路型号带来了极大的困难。尤其是初学者手头有一些集成电路,想查查手册,知道是什么电路并了解主要参数。可是集成电路面上字母多,不知哪几个字母与数字表示型号。这里介绍一种按集成电路型号主要特征来查找的方法。
纵观集成电路的型号,大体上包含这些内容:公司代号、电路系列或种类代号、电路序号、封装形式代号、温度范围代号和其他一些代号。这些内容均用字母或数字来代表。
一般情况下,世界上很多集成电路制造公司用自己公司名称的编写字母或者用公司的产品代号放在型号的开头,作为公司的标志,表示该公司的集成电路产品。例如:日本东芝公司产品型号用字母T开头,见图1a,TA7687AP即为型号。三菱公司的产品型号开头字母为M,M50560即为型号,见图1b。美国莫托罗拉公司产品型号的开头字母为MC,见图1c,MC14017BCP为型号。对于此类集成电路,只要知道了该集成电路是哪个国家哪个公司的产品,按相应的集成电路手册去查找即可。

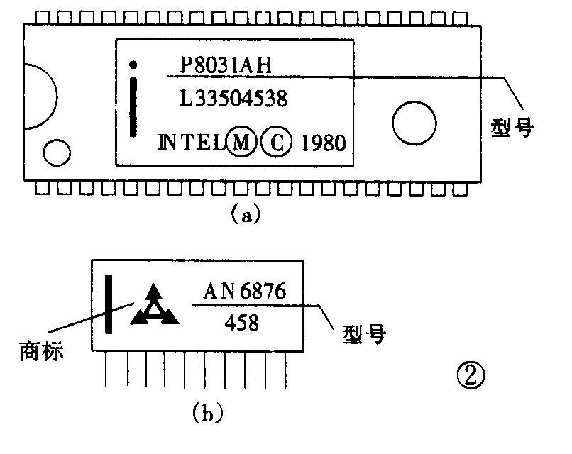
此外,识别集成电路还可用先找出产品公司商标的办法。因为有不少厂商或公司的集成电路型号的开头字母不表示厂商或公司的缩写、代号,而是表示功能、封装或种类等。例如以生产电脑芯片著称于世的美国英特尔公司,便与众不同。其型号的第一个字母表示使用范围。如M表示军用;工表示工业用,不标则为商业用。第二个字母表示封装。如P为塑封,D为密封等。图2a为塑封8031单片微处理器芯片。又如图2b中集成电路为日本松下公司的产品。它的开头字母表示器件类型:AN表示模拟电路,若是DN则表示数字电路。对于此类集成电路可以先找到芯片上的商标,确定生产厂商或公司后,再查找相应的手册。(谈小元)
