驻波表和功率计是业余电台必需的仪表。本人剖析了日本产的W520型驻波表及功率计,并选用国产元件制作后,经试用,效果良好。该电路实用,元件易选。现将电路及制作方法介绍给爱好者,以供参考。
一、测试范围
功率:0~2W 0~20W 0~200W三档
驻波比:1.0~∞
适应频率范围:0~200MHz
二、元件选用及制作
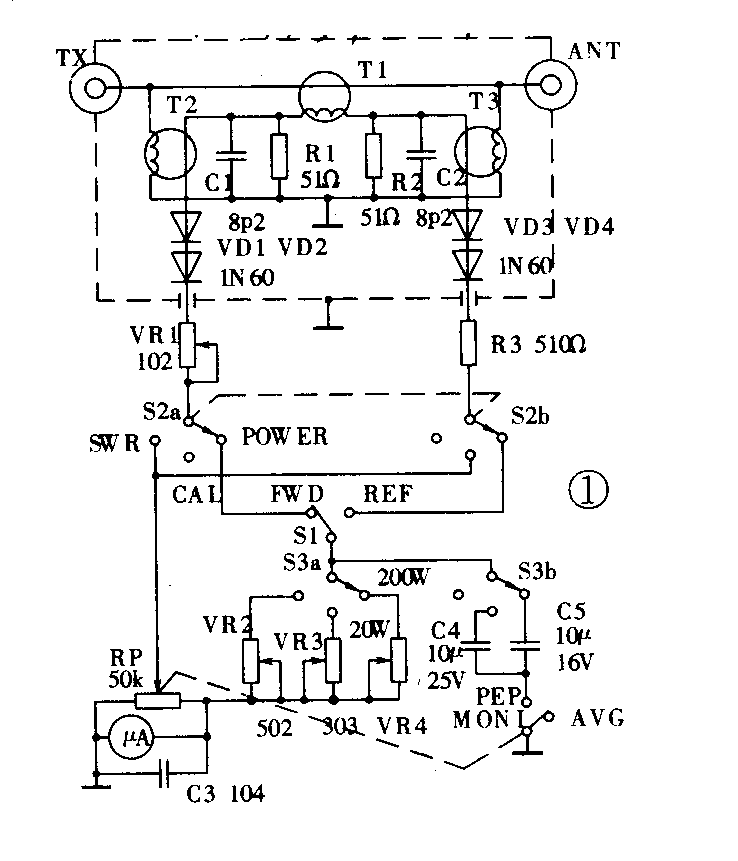
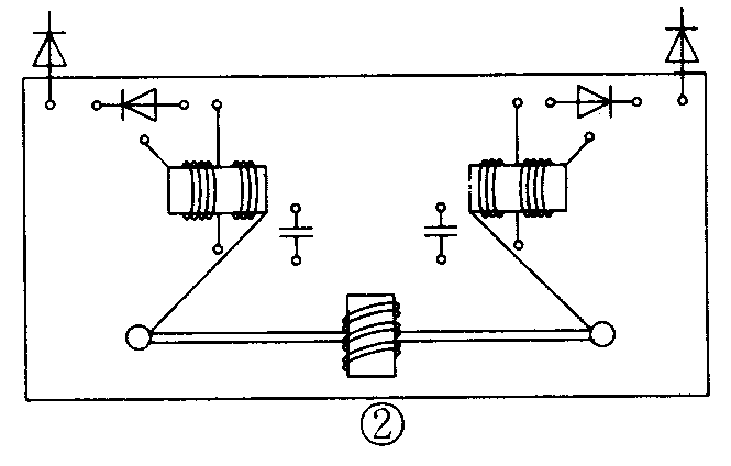
电原理图见图1。图中虚线框内部分装在一个单独的小屏蔽盒里,图2、图3为虚框部分的元件安排图和1:1的单面印制板图,印制板大面积接地,可用刀刻法制作。三个磁环选用Φ10×6×5的镍锌氧磁环。次组均选用0.39左右的高强度漆包线绕制。T\(_{1}\)双线并饶10圈,均匀绕在整个圆环上,一组的一头与另一组的一尾相连(见图4a)。T2、T\(_{3}\)用单线分两段(一段8圈,一段12圈)密绕(见图4b)。磁环T1的初级用2mm镀银线架高从环孔的中心穿过,T\(_{2}\)、T3的初级用0.5mm镀银线从环孔中穿过。S\(_{1}\)、S2、S\(_{3}\)选用2×3侧柄小型波段开关。RP选用带推拉开关的电位器(如无此类电位器,也可将电位器和开关分设)表头选用200μA的。小屏蔽盒引出线最好采用瓷绝缘穿心柱(也可用穿心电容代替)。TX、ANT高频插座选用SL16-50F。VR1、VR\(_{2}\)、VR3、VR\(_{4}\)选用半可调电阻。除图1虚线框内的元件焊装在图3的印制板上外,其余元件均直接焊在相关的小型波段开关的焊片上。




三、调校
焊装完检查无误即可进行调校。先用万用表(最好用数字表)测R\(_{3}\)阻值,然后测调VR1使阻值同R3。VR2、VR\(_{3}\)、VR4分别预调到2.5k、15k、50k。功率计调校须有一部100W(最好是200W)功率可调带有数显的电台。将所校功率计串接在发射机与标准假负载电路中。输入CW等幅功率信号,将S\(_{1}\)拨至FWD(前进波),S2拨在CAL(校准)位,调RP至μA表满刻度。然后把S\(_{2}\)拨至功率档,S3拨至2W档,将发射机输出功率调至2W,调VR\(_{2}\)使μA表满刻度,2W档即校准。把S2拨至20W档,将发射机输出功率调至20W,调VR3使μA表满刻度,20W档即校准。把S\(_{2}\)拨至200W档,将发射机输出功率调至 200W,调VR4使μA表满刻度(100W时为152μA),200W档即校准。有条件者可对功率档用发射机进行更细的分格。功率计各档功率对应μA数见表1。

驻波比指示对应μA数见表2。测试时将S\(_{2}\)拨至SWR(驻波比)档,将S1分别拨至FWD(前进波)或REF(反射波)进行测试即可。

检测峰值功率时,将50k推动电位器开关拉出(此时C\(_{4}\)、C5负端与地接通)。
外壳体积根据个人选用的μA表头及拨动开关大小自行设计。
如果没有200μA的表头,可选用小于200μA的表头采用扩流的方法,计算式如下:
R\(_{A}\)=Im·Rm0.0002-Im
式中R\(_{A}\)扩流并接电阻(kΩ),Im为选用表头μA值,Rm为表头支路的总电阻,即R+R'(R'为凑整表头总阻而串接的,R为表头阻值)。(曹文隆)