随着科学技术飞速地向前发展,计数、译码、显示电路在数字化仪器和自动化控制设备中有着广泛的应用。为此,笔者设计了这个程序控制和显示电路。
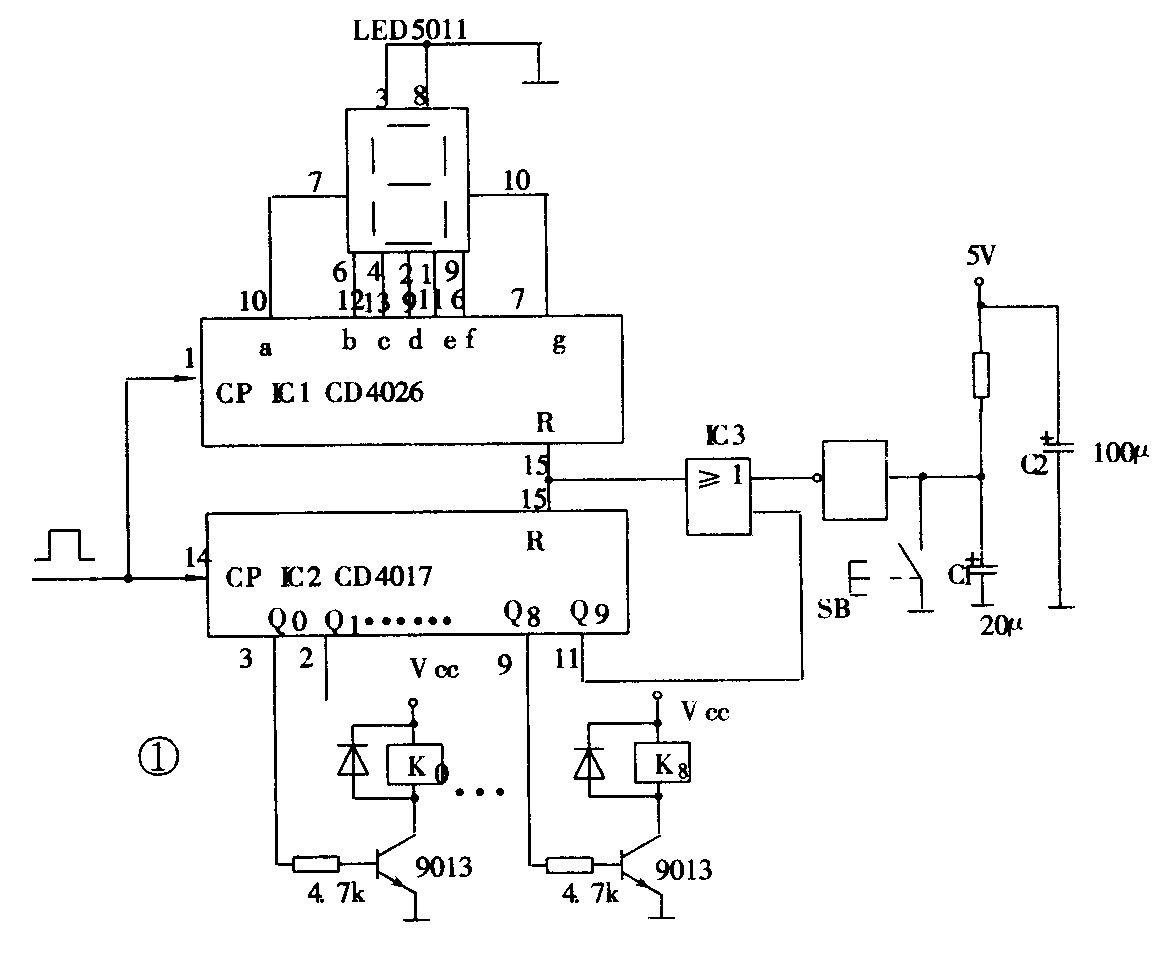
原理图见图1,其中CD4017的真值表见附表,主要元件引脚图见图2。
附表:
CP CP\(_{E}\) R 译码输出“1”端
0 任意状态 0 Qn
任意状态 1 0 Qn
脉冲上升沿 0 0 Qn+1
1 脉冲下降沿 0 Qn+1
脉冲下降沿 任意状态 0 Qn
任意状态 脉冲上升沿 0 Qn
任意状态 任意状态 1 输入端全部置“0”
图1主要由二—十进制计数器/脉冲分配器CD4017、计数译码驱动器CD4026和共阴极数码管LED5011组成。
整个电路的工作过程如下:当接通电源时电容器C1的两端电压不能立即上升,处于“0”电平,通过反相器使R端为“l”电平,因此,系统被复位,CD4026提供给LED5011的段电平显示0,同时使CD4017的Q0端为“1”(其余输出端均为“0”), Q0通过晶体管接口驱动继电器接通某一路,为以后执行各项程序做好准备。
随着电源对C1充电,C1两端电压上升,R端恢复低电平。
当第一个时钟脉冲到来时,LED5011显示1,CD4O17的Q1端由“0”变为“l”,通过驱动电路执行程序1的任务……当时钟脉冲连续增加到第8个时,显示器显示8,同时CD4017的Q8端变为“1”,还是通过驱动电路来执行程序8的任务。显示器直接显示程序执行的步骤,以便随时观察。当第9个脉冲到来时,Q9为“1”,使R端出现复位信号,一个完整的工作过程结束。这时整个系统又重新恢复初始状态,显示器显示0,为重复执行上述程序做好准备。
SB为手动复位开关。
时钟脉冲的产生,可以由多谐振荡器来提供,但需根据任务执行的时间长短来确定好时间常数,也可以由其它相关电路来给出。
本电路性能稳定,控制准确,显示直观,设计制作简单,且其应用可不断扩展。例如:某控制系统工作顺序为:启动系统→接通电源→加温→报警→断电等,这样5个信号分别产生的计数脉冲,也可以通过一个或门以后再提供给CD4O17,如图3所示,同时将4017的Q5端直接接到IC3(或门)的一个输入端,以代替原先的Q9端,使得系统在输入第6个计数脉冲以后能够复位。这样,只要输入信号按时送入一个计数脉冲,输出端就会根据外设条件完成固定的操作,顺序执行完系统任务。(孙继安)


