现市场上灯光控制器控制线路不多,不适于大工程,特别是霓虹灯背景拉幕。本文所介绍的控制器不仅控制线路多,而且可扩充完成其它功能。
·原理介绍
本控制器采用积木组合方式,由主控板、被控板、功率板、扩充板及母板几个小单元构成,可根据控制路数多少及所完成的功能以及被控功率大小来进行调整增减,对维修、寻找故障及调试十分有利,见图1。

主控板依程序根据地址通过被控板向功率板送数据,从而控制每个灯的亮灭。
·元件选择
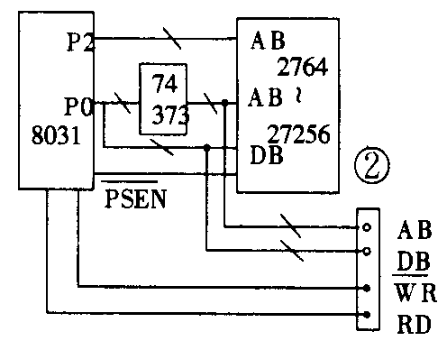
主控板是8031最小系统,8031资料很多,这里不多介绍,图2是它的无ROM系统。

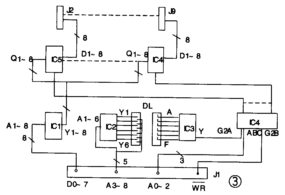
被控板所有元件均为74系列,IC\(_{1}\)7454O IC27404 IC\(_{3}\)7430 IC474138 IC\(_{5}\)~IC12274273。
DL为跨接座,用短路子短路对各板编码,J\(_{2}\)~J9为与功率板相连接的插座,见图3。

功率板为固态继电器阵,图4是它的一个单元,根据固态继电器功率不同选择电阻,若要求推动功率大,74273后应加三极管放大。

·编程
应尽量使用子程序,这样会使程序简单易读,如:
r:mov@R\(_{0}\),a
RR a
Lcall ys
djnz R\(_{2}\),r
ret
这是一右移子程序,R\(_{0}\)内是被控地址,a内是显示花样,R2内是显示移动次数,ys是延时程序。其它花样可参照编写。
·扩展使用
本控制器花样可由厂方写好供用户直接使用,也可加扩展板通过PC机或专用小键盘由用户来编写。
扩展板加相应元件可完成其它功能,如图5C所示是利用P\(_{1}\)口来控制总电源。它可在程序上做一“软钟”,来实现定时开关功能,图5a、b是加相应传感器完成湿度(如下雨)和光控功能。

·制作经验
由于本控制器以控制霓虹灯为主,所以固态继电器应选择可带感性负载的,且应留出2至4倍电流量,若用可控硅可选600V以上的,电流也应留出2~4倍的余量,且应加浪涌吸收电路,以及选用过零光耦与低压部分隔离。
用图3所示的被控板可编256块,可控制2048路,一般可满足使用。
当被控板多于4路时,应在母板上加74541做缓冲,以减轻对主控板的影响。
当被控板多于128块,即多于1024路时,软件地址应将@R\(_{0}\)改为@PPTR,此时可控64千路。
主控板、被控板及功率板最好分开供给,以减小相互干扰,尤其是主控板最好采用开关电源或双稳压电源,被控板应尽量远离功率板高压部分,且每板应加滤波电路。
扩展板的传感器若引线长,则应加光耦至P1口。(陈亮)