录像机操作键全部失灵的故障大体上有三种:一种是多功能显示屏有时钟显示;另一种是接上电源后多功能显示屏仅有短暂的时钟显示;再一种是显示屏无任何显示。造成操作键失灵的原因除电源故障外,一般是微处理器不能接收并译出操作开关所发出的指令,或各微处理器之间信息传递失常等。尽管不同的病因最终造成的故障现象都是操作键失灵,但分析检查的重点却不相同。下面,就笔者检修过的几个实例,谈一下检修这类故障的思路,供同行参考。
例1机型:松下NV-J25录像机
故障现象:插上电源,多功能显示屏无任何显示,按电源开关电源不能开启。
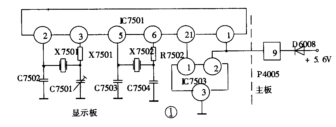
分析与检修:这种故障可能涉及到两方面原因:(1)电源电路有故障;(2)定时器/操作电路未能正常工作。本例检修过程如下:首先检查电源电路,测得电源输出插座P6002各非受控输出电压正常,说明电源电路工作基本正常。接下来检查定时器/操作电路。从图1可以看出,IC7501的电源①脚经接插件P4005之⑨与主电路板相连。所以,当检查过电源电路工作正常之后,还应检查IC7501有无工作电压,而P4005⑨便是首选测试点。实测该脚电压为0V,测得D6008负极有5V电压,沿线路板查找,发现D6008负极至P4005⑨之间的铜箔走线断路。

将断路处连好,机器各功能恢复正常。
例2机型:松下NV-J27录像机
故障现象:同例1。
分析与检修:因为该例故障现象与例1相同,且要查部位的电路也相同,所以采用例1所述检查思路,测得P4005相关各脚电压均正常,说明故障部位在定时器/操作电路。
定时器/操作电路是以IC750(MN187125VFY)为中心组成,主要测试部位见图1。测量IC7501电源输入①脚有5V正常工作电压,再检查IC7501是否具备基本的工作条件。经查复位能够在机器插上电源时先保持低电位,稍后变为高电位,显然复位电路工作正常。测副时钟振荡脚⑤、⑥,其电位与正常值接近,测主时钟振荡脚②、③,发现其电位与正常值相差甚远,正常应分别为2.4V和2.2V,实测为4V和1V。用示波器测得副时钟振荡信号正常,主时钟振荡电路没有起振。因此,重点检查主时钟振荡电路。用电阻法测②、③脚对地电阻未发现问题,测电阻R7501与标称值相符。由于电容、晶振在开路损坏情况下难以用电阻法判断出好坏,故采用并联元件法试之。当在X7501两端并上4.43MHz的晶振时,主时钟振荡电路起振,多功能显示屏亦有了时钟显示,按电源开关,电源指示灯点亮,至此,确定该机故障是由晶振损坏造成。 由于录像机所用晶振频率较为特殊,松下系列录像机主时钟振荡电路采用的晶振频率为4.19MHz。当买不到相同频率的晶振时,可用频率相近的晶振应急代换。本例选用4.43MHz晶振代换X7501,机器恢复正常。
我们从上面的检修实例可以看出,在定时器/操作微处理器无主时钟振荡信号的情况下,多功能显示屏是无任何显示的,也不能输出键控扫描信号,所以按任何操作键均不会起作用。根据现在的新型录像机均设有插入磁带电源可以自动打开的功能,当遇到了所有操作键失灵的故障机器时,不妨利用该功能缩小故障范围。利用这一功能不仅可以初步判断电源电路有无故障,而且还可以大致推断出故障部位是在系统控制电路还是在定时器/操作电路,这不失为一种快速缩小故障范围的有效途径。下面的两个检修实例就是采用这种方法来缩小检查范围的。
例3机型:夏普VC-K89录像机
故障现象:插上电源后,多功能显示屏有短暂的时钟显示,然后时钟显示消失,按所有操作键均不起作用。
分析与检修:由于该例故障现象是在插上电源后有时钟显示,随后即消失了,初步判断电源电路工作失常或定时器/操作电路有故障。为缩小故障部位便于分析检修,将一盘除去防误抹档片的磁带推入仓门,电源指示灯点亮,磁带被机械机构拖入带仓并自动进入放像状态,在电视机上显示出清晰的图像,但此时多功能显示屏上还是没任何显示,按所有操作键都不起作用,据此推断电源电路和系统控制电路工作正常,故障部位应在定时器/操作电路。
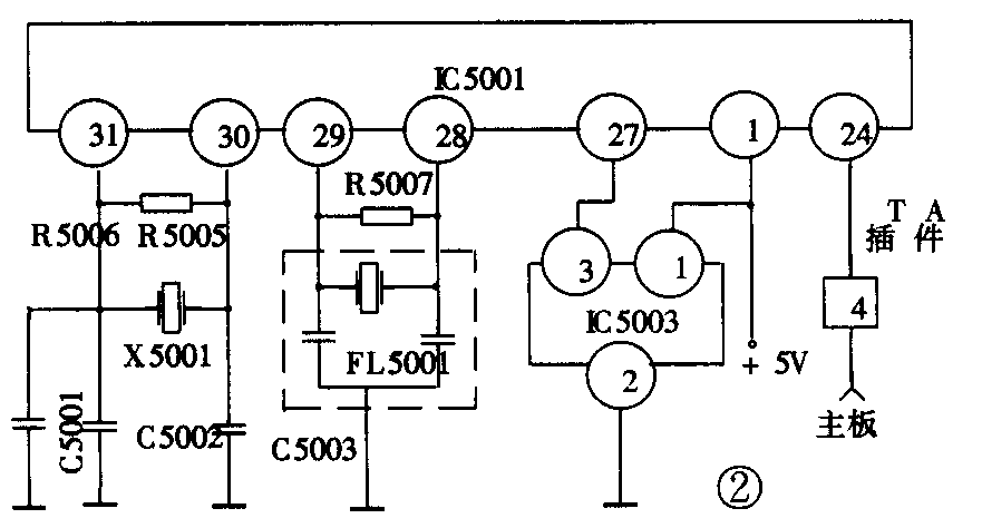
既然故障部位被确定了在定时器/操作电路,那么分析检查应认定时器/操作微处理器IC5001(RH-IX0581GEZZ)着手。相关电路部分见图2。

首先测得IC5001①有5V正常工作电压,继而检查IC5001的基本工作条件。经测量发现主时钟振荡电位明显比正常值2V偏高,交流脉冲输入脚复位脚副时钟振荡脚位正常。改用示波器测得机器插上电源后始终有稳定的交流脉冲信号,副时钟振荡电路工作正常,主时钟振荡脚在机器接入电源之后有短暂的时钟振荡信号,很快便消失了,这说明该机故障是由于主时钟振荡电路停振引起。测量地电阻没有发现问题,因手头无FL5001这种晶振组件,且考虑到晶振组件内附电容损坏的可能性较小,试用晶振并在端,故障现象依然如初,因此怀疑IC5001损坏。为了作出准确判断,避免失误,测量IC5001各有关脚的对地电阻,结果发现反向电阻都是10kΩ(正常应分别为8kΩ和10kΩ),其余各脚对地电阻正常。为作进一步的判断,拔下TA接插件,使外围电路元件断开,再测其正反向对地电阻。正常应为8.5kΩ和∞,实际测得正反均为∞,至此确定IC5001部开路损坏。
更换IC5001后,机器所有功能恢复正常。
近年来推出的新型录像机不仅设有插入磁带电源能自动打开的功能,而且大多在机内设有后备电源,以便在录像机意外断电时,使定时器/操作微处理器中所存的定时内容和计时运行不至于很快消失,在恢复供电后,仍能使录像机按预定程序运行。但是这种后备电源一般是用电容担当,毕竟所存电能有限,所以,当定时器/操作微处理器检测到断电信息后,便自动关闭主时钟振荡电路,仅留功耗较小的副时钟振荡电路继续工作,以降低电路功耗,保证后备电源能够维持足够的时间。本实例正是因为IC5001交流脉冲输入端内部开路,导致微处理器检测不到交流脉冲信号,迫使主时钟振荡电路停振,出现开头所述的故障现象。
例4机型:松下NV-L15录像机
故障现象:插上电源显示屏有0:00(即时钟)显示,按电源开关电源不能开启。轻推磁带进入仓门,电源指示灯点亮,磁带被装盒机构自动拖入带仓至停止位置后,显示屏仍然只有时钟显示,按所有操作键均不起作用,电源并不自保关断。
分析与检修:显示屏有时钟显示,轻推磁带进入仓门电源能够自动打开,估计电源电路工作正常。
磁带被装盒机构拖入带仓至停止位置后,显示屏虽然只显示时钟,但并没有把磁带退出仓外,电源也没有自我保护,看来机械位置是正确的。
从磁带进入带仓之后显示屏仍然仅显示时钟,并没有其它任何相应的显示,且按所有操作键均不起作用等现象推断,故障原因可能是各微处理器之间的通信(信息传递)中断,分析检修工作应从这部分电路着手。

L15录像机中各微处理器之间的通信联系如图3所示。IC2001(MN6740VCTK)串行时钟信号的输出端,该脚输出的串行时钟信号经过电阻R6044后分别送给IC7501(M37422V4AF)和IC6801(MN15522VMS)②。该信号作为这三片微处理器相互协同工作的指挥信号,以便各微处理器准确地传递和识别数据信息。
IC2001数据传递信号的输入和输出端口,它既接收来自IC7501IC6801④传输过来要求录像机工作在某种状态的信息,以便指挥各机械机构和电路工作在相应状态,也向IC7501IC6801③传递录像机准备做某种工作或正在做某种工作的信息,并通过定时器/操作微处理器,把录像机的工作状态在多功能显示屏上展现出来,为用户随时了解录像机工作状态提供方便。
基于上述分析,首先用示波器测IC2001串行时钟信号,正常应为5V\(_{P}\)-P,而实测只有3VP-P,串行数据信号正常为5V\(_{P}\)-P,现测得仅1VP-P。改用电阻法测该两脚的对地电阻,结果电阻正常,无论正、反测电阻都是0.4kΩ,正常分别为4.5kΩ和8.5kΩ。为判断是该块内部损坏还是外围电路问题,测量A点的对地电阻与之比较,发现A点电阻只有0.2kΩ。因R6044阻值为220Ω,这不难推断IC2001路电阻的降低很可能纯属该块外围电路造成的。因为过R6044后分成两路,为方便判断,首先拔掉P7501插件,测P7501插座⑥(即IC7501)在路电阻,仅有0.3kΩ,表明IC7501损坏。为检查IC2001有无问题。在断开上述插件情况下,再对行测量,电阻仍然很小,为0.8kΩ,又与A点对地电阻比较后发现外围电路仍然存在问题。把主板与副主板连接线断开之后,测得IC6801②对地电阻只有0.6kΩ,这说明IC6801也损坏了。再测IC2001路电阻接近正常,估计IC2001并没有损坏。
在购不到MN15522VMS的情况下,应急可把主板与副主板连接线断开,这样应急处理之后仅是功能扩展电路失去作用,录像机照样可以正常使用。定时器/操作微处理器集成块M37422V4AF可以用JPC2003BV4AF直接代换。
断开主板与副主板连接线使IC6801②悬空,用JPC2003BV4AF代换损坏的M37422V4AF之后,机器故障排除。
录像机的维修工作是一项技术性很强的工作,当我们维修人员遇到故障机器时,不要急于拆开机器就进行盲目地检修。首先应通过仔细观察故障现象,并结合原理及自己的维修经验,对故障产生的原因和现象进行综合地分析推断,弄清故障部位,再运用所掌握的检查手段,逐步地缩小故障点的范围,在尽可能少拆卸的情况下找出故障点。这不仅会减少因故障扩大造成的不必要经济损失,也对我们维修人员更好地理解电路原理,不断提高维修技术水平,有促进作用。(程东安)