美国惠普公司生产的MSA—0611电路是一种采用SOT-23封装的微波单片集成电路,其外形封装如(图1)所示,其主要参数如(表1)所示。


MSA—0611电路采用了HP公司独有的f\(_{T}\)为10GHz,fmax为25GHz的微波单片集成电路工艺,包括氮化自补偿、离子注入、镀金等多项尖端工艺技术,因此性能具备高度的一致性和可靠性。在电性能方面,它具有低噪声(3dB左右)、高增益(18dB左右)等显著优点。而其偏置电路也非常简单,详见图2。电路中所用的偏置电阻增加了偏置的灵活性,并保证了其温度和电流的稳定性。由于其性能相当于或超过一般两级低噪声射频晶体管所做成的放大器,而电路得到简化,一致性和可靠性都大大提高,加之其非常适中的价格,因此它作为民用和工业用的宽带、窄带中频和射频低噪声放大器件而广泛地用于有源电视天线放大器,电视机、卫星接收机、机上变换器等的调谐器,以及各种CATV设备、大哥大、无绳电话、传呼机等设备中。

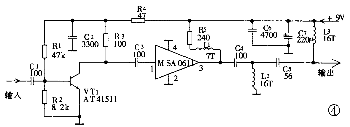
众所周知,放大器件的噪声系数的大小,对接收机的灵敏度有着至关重要的影响,而 MSA—0611的噪声低(见图),在1000MHz以下,不到3.2dB,比市面流行的大多数微波集成电路都低大约2dB,因此用它做的天线放大器可大大提高电视机的接收灵敏度。图4是MSA—0611在电视天线放大器中应用的典型电路,该电路也是目前国内市场最常见电路。在电路的第一级,选用了惠普公司生产的晶体管AT—415ll。实验表明,在整个UHF、VHF频段内,该电路的增益可达到30dB,比一般市售产品高出3dB以上。而由于MSA-0611电路有极低的噪声系数,因此电视机实际收看效果更佳。


值得一提的是随着国内通信事业的发展,有越来越多的无线通信设备工作在850MHz~1000MHz频段,如大哥大、GSM、900MHz无绳电话、集群通信系统等。这些设备和手机所发出的射频信号越来越强,覆盖面越来越广,其对电视天线放大器的干扰也不容忽视。一般的市售微波单片集成电路为得到较好的高端增益往往使850~1000MHz的增益,比其在UHF、VHF的平均增益高出4dB,因此当有强信号干扰时放大器极易饱和,从而影响收看效果。从图5可以看出,由于MSA-0611采用了惠普公司独有的自补偿技术,其高端增益靠其内部晶体管f\(_{T}\)的提高,从而得到平滑的增益曲线,到850MHz以后,增益下降很快,有效地减轻了900MHz左右的移动通信信号对电视天线放大器的不利影响,从而使天线放大器能始终正常有效地工作,达到良好的收看效果。 (袁有红)
