遥控、时控、声控、光控是现代化家庭日常生活中不可缺少的小家电,它们的存在可减轻人们的劳动,可以方便地对各种家电进行自动控制。下面分别介绍一下它们的功能、用途及其制作方法。
一、时间控制器
采用专用的带闹输出功能的液晶数字手表芯来制作的时间控制器具有省电、轻巧、体积小、走时精确等特点,非常适合用于电饭煲的自动开启、音响电视的定时开机等。图1是交流应用例。IC1是专门用于触发双向可控硅的集成电路,内部有移相、延时、同步等电路。S1、S2为手动控制开关;HL2为指示灯。A、B两点接负载(图中为HL1)。它可接电阻性负载800W,输入交流为220V。S3为时控的投入及切出,置左边时时控不起作用。S6为锁定开关,置下时把开关信号短路,则不论时间控制或手动控制均不起作用。S4为校时校闹按扭,S5为+校时,两者配合可起到校时校闹的作用。图2采用与图1相同机芯,仅控制的是继电器,使用1.5V直流供电子表用,6~9V供继电器及负载用。其中虚线部分需自己动手制作。继电器K的接点开关可控制电器。图1电路适用于交流,而图2电路则适用于纯直流。


二、声音光控调光器
在阳台、走廊、洗手间这些地方往往不需经常开灯,只有当有人去时才用开灯。图3介绍的调光器具有:人声自动开灯,人走后或白天光线达到一定强度时自动关灯,且人声离开关的距离(即麦克风的灵敏度)可调,人声过后灯延迟一段时间,关断的时间可从8秒至20分钟之间连续可调。另一特点是该灯的亮度可分十档调光,正所谓综合灯光控制的所有功能于一身。调声音距离时可调RP2,在人离灯泡10米时轻拍手掌,如果灯不亮则调整电位器RP2至亮为止。调时间时可调电位器RP3,灯亮后,看需要照明多长时间,如果延续点亮时间不合要求,通过调整RP3至合适为止。十档调光可调RP1,使有合适的亮度,进一步节省电能。本控制器可带负载300W,也可用于少人去的公众场合、仓库、工场,省电效果非常显著。本开关可直接安装于中国规定的电器安装铁盒内,使用非常方便。加大负载可加大双向可控硅VS1的电流,同时加大散热板即可。本装置已含精美工程塑料外壳及定位安装孔。负载一般为灯泡HL,22OV插座XS为外接交流电源,S1为手动开关,当需长期关闭灯光时可把S1关闭。

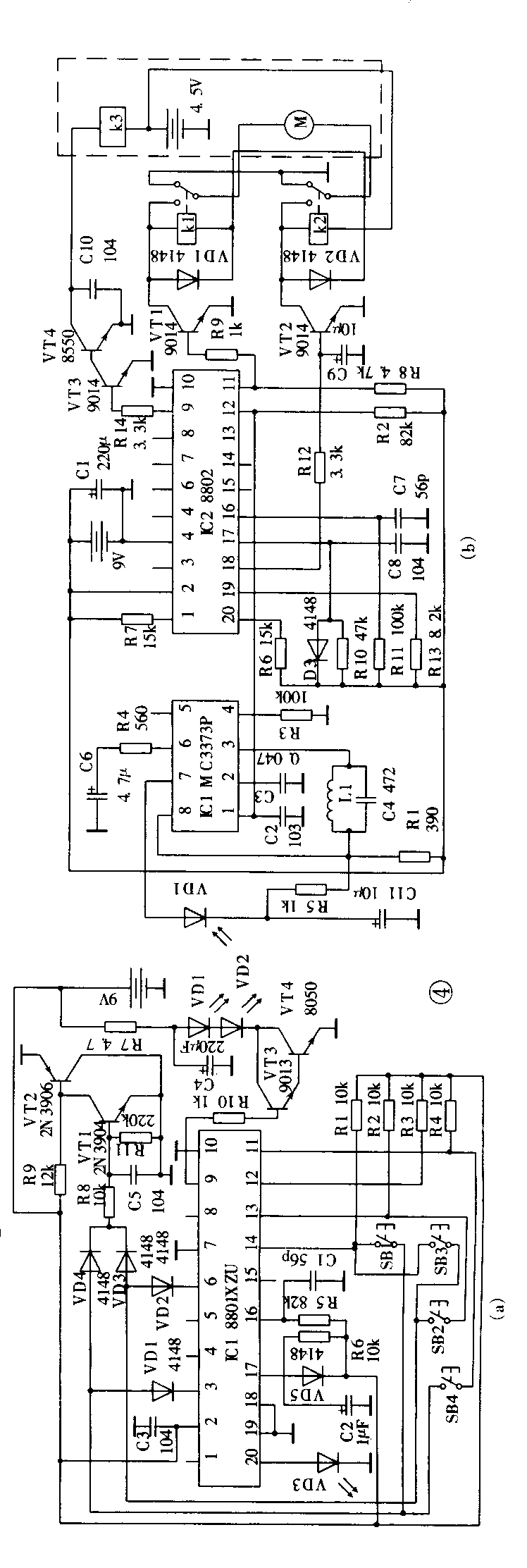
三、四功能红外遥控器
一般家庭都装有装饰用的窗帘及需经常转动的室内天线等。图4介绍的四功能红外线遥控装置可以控制窗帘的开、合,室内天线的正、反转,只需如图虚线加入小电动机M即可。如果另加一个继电器(6V)则可以多控制一组对象,例如自动浇花、下雨收衣服等。当然本遥控器亦可用于改装电动车,使其具有前进、后退、左右转向的功能,此时M为小汽车的前进直流电动机,K1吸合前进,K2吸合后退,K3带动电磁铁,吸合左转,不吸合直走。其中图4(a)为发射部分,图4(b)为接收部分。除虚线部分外其余都已接上。图4(a)中SB1构成图4(b)中K1的控制扭,SB4构成K2的控制扭,即SB1按下,K1吸合;SB4按下,K2吸合;SB2按下,K3吸合;SB3使K3复原。故此红外收发装置共可控制三组独立的对象,因此非常适用于家庭,也可用于改装儿童的小跑车。图4(a)VD3为红外发射管应与图4(b)的VD1红外接收管配对,为了加大接收的灵敏度,VD1可由两个串联使用。 (王辉)
