随着多媒体计算机技术的迅猛发展,要求计算机必须具有获取和处理图像的能力,因此视频卡的应用越来越广泛。
视频卡的作用简单地讲就是将模拟彩色全电视信号转换成计算机可以显示的RGB信号,并在计算机VGA上显示出来。视频卡分为模拟式和数字式两种。模拟式视频卡采用模拟的方法将彩色全电视信号同步分离、模拟锁相以及模拟解码,得到视频卡所需的各种时序信号和分开的RGB信号,再经过数字化后,将它们存入帧存储器中。数字式视频卡则是一开始就将彩色全电视信号进行A/ D转换,变成8位或16位数字信号,再通过数字锁相和解码得到数字YUV信号(亮度信号和色差信号)和视频卡需要的各种时钟信号。然后通过视频窗口控制器存入帧存储器中。由于模拟电路的同步分离、锁相和解码,设计制造复杂、调试困难,所以模拟式视频卡基本上已被淘汰。近几年,随着高清晰度数字电视技术的发展,数字锁相和数字解码专用芯片相继出现。Philips公司和Chips公司首先推出了彩色电视多制式数字解码器和视频窗口控制器两个专用电路,有效地解决了多制式彩色全电视信号数字式锁相和解码技术,从而使计算机视频卡的设计更加简单,制造和调试更加容易,这可能是计算机视频信号获取和处理技术一个新的发展方向。下面以台湾敏通公司生产的MTV-8003 卡为例,介绍一下视频卡的工作原理。
台湾敏通公司推出的MTV-8003卡是一片16位图像数字处理卡。它的设计采用了Chips公司的图像处理芯片和Philips公司的数字电视芯片,必须使用于IBM PC/AT或286等级以上的兼容机上。 MTV—8003卡具有动态实时显示及捕捉,硬件处理放大、缩小、重叠、色键、画面切割及移动等功能,还具有图像合成输出电路及同步信号产生电路。因此,它既有RGB图像输出,又有彩色复合视频输出。

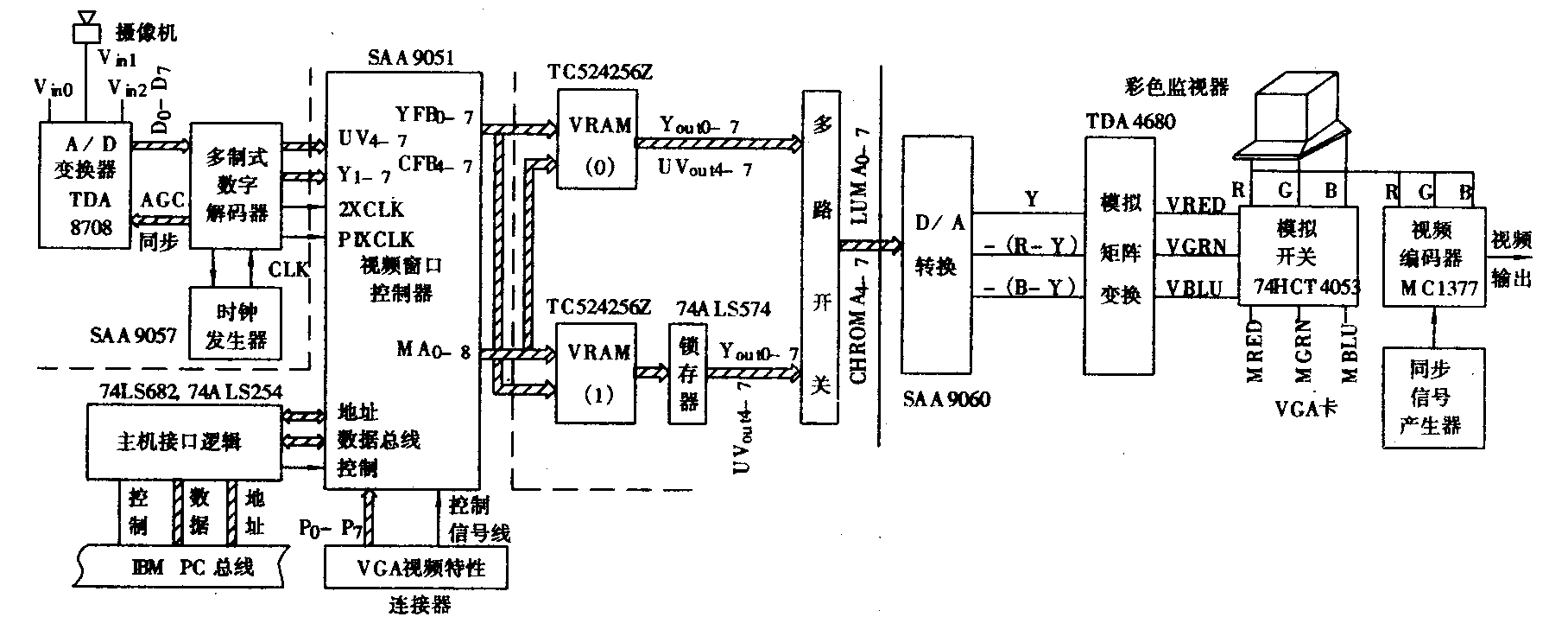
MTV—8003卡的内部方框图如附图所示,从图上可见,它可分为4个主要功能模块:①彩色全电视信号A/D转换、数字锁相以及多制式数字解码电路;②视频窗口控制器及计算机接口电路;③帧存储器;④D/A变换器和输出电路。下面将对这4个模块进行详细分析,最后还将介绍一下MTV—8003卡的硬件控制和同步信号的设定。
1.彩色全电视信号A/D变换,数字锁相以及多制式数字解码电路
从彩色摄像机、录像机或其它视频信号源来的模拟彩色全电视信号,首先送到视频模拟输入接口TDA8708进行A/D变换。TDA8708有3个视频输入端,通过编程可控制视频输入,选择3个输入端的任一个作为输入。TDA8707内部包含一个具有钳位和自动增益控制的运算放大器,一个采样率为30MHz的8位A/D转换器。信号先进行放大,最后经过A/D变换将彩色全电视信号转换成8位数字信号,送给彩色多制式数字解码器。A/D变换器的时钟及同步信号均由多制式数字解码器提供。
多制式数字解码电路(SAA9051)将数字化的彩色全电视信号经过数字锁相和数字解码电路,同时与时钟信号产生电路(SAA9057)一起产生7位亮度信号(Y)和4位色差信号(U,V),同时还有整个系统需要的各种时钟信号。Y、U和V以4:1:1方式送给视频窗口控制器(82C9001A)。所谓4:1:1格式就是亮度信号每个像素均被采样,而色差信号每4个像素被采样一次。
SAA9051可以处理的电视标准有PAL/NTSC/ SE- CAM和B/W等制式。只要修改其内12字节的寄存器,就可选择不同制式的影像输入,而不需额外的去修改硬件电路。
2.视频窗口控制器和计算机接口电路
视频窗口控制器(82C9001A,PC Video)是Chips公司生产的计算机窗口控制专用芯片。它内部包含有一个索引(INDEX)寄存器和47个数据(DATA)寄存器,由索引寄存器指定这47个数据寄存器中的一个进行读写。这两个寄存器的地址就是MTV—8003卡所用的两个I/O地址。
通过对82C9001A的控制寄存器的编程可提供以下功能:(1)在计算机图形监视器上,能够显示全屏幕的动态图像;(2)为显示运动图像,82C9001A能够改变扫描速度以及实现视频控制;(3)通过独立的X,Y坐标和彩色键联信号可以实现窗口位置控制;(4)真彩色图像的获取和显示;(5)用广播质量的视频带宽,输入分辨率可达1024×512;(6)支持工业标准视频输入格式,如:MTSC,PAL,SECAM,S-VHS以及RGB;(7)支持标准的4:1:1和4:2:2YUV以及16位RGB数字形式;(8)支持隔行和非隔行的输入、输出视频信号;(9)输出放大因子可为2、4和8。
视频窗口控制器的主要作用可归纳为4点:(1)计算机接口。计算机对视频卡的所有操作命令都是通过视频窗口控制器(82C9001A)执行的。82C9001通过AT总线的驱动和锁存电路74LS245以及比较选中电路74LS682,接收计算机通过地址、数据和控制信号总线发来的各种命令,存入相应的寄存器中解释执行。(2)接收从多制式数字解码电路送来的Y、U、V、图像信息,通过视频窗口控制器将它存入到帧存储器中。帧存储器需要的地址和写入信号都是由视频窗口控制器产生的。(3)计算机通过视频窗口控制器可以读写帧存储器的内容,计算机通过总线把读、写帧存器的命令、数据和地址首先送到视频窗口控制器,由它产生读写帧存储器需要的地址和命令,从而完成计算机读写帧存储器的任务。(4)视频窗口控制器通过VGA卡的视频特性连接器接收VGA卡的数据P0-P7以及各种同步和时钟信号,从而在彩色监视器上可以显示VGA卡的各种彩色图形信号。视频窗口控制器还可以通过彩色键联命令,在彩色监视器的任何位置开窗口,显示视频卡帧存储器的内容。
3.帧存储器
MTV-8003卡的帧存储器采用6片TC524256Z,256×4的VRAM,组成每一像素为12位的4:1:1YUV存储形式,记忆容量为768kB,可以记录的水平解析度为1024个点,垂直解析度为512个点。每一像素占两个字节,一条水平线1024个点。因此,一条水平线占2048个字节地址。MTV-8003卡的图像格式采用4:1:1格式,即将4个点组成一个块(BLOCK),每一个块的Y信号占4个字节,U、V信号各占一个字节。MTV—8003卡以4个像素组成一个YUV块,所以必须以8的倍数的存储器地址对帧存储器进行读写,才不会使图像乱掉。
虽然帧存储器只有768kB,但每一像素的U、V占一个字节地址,因此帧存储器地址为1MB。只要设定82C9001A的寄存器06H的值从0~16变化,就可以任意设定16MB之间的某1M为帧存地址。
由于采样频率高达13.5MHz,约74ns就要读写一次帧存储器,而TC524256Z读写时间大约为100ns,所以仅有一个存储体是不能满足速度要求的,故将帧存储器分成两个存储体:存储体0和存储体1。
帧存储器的主要作用有3个:(1)从摄像机来的视频信号,经过A/D变换,数字解码,在视频窗口控制器的控制下,将它们实时地存入帧存储器中,大约74ns存入一个像素数据。(2)彩色监视器每隔74ns要从帧存储器取一个像素数据(在视频信号正程时),经A/D转换,变成模拟的RGB信号,供彩色监视器显示帧存储器中的真彩色全屏幕运动图像使用。(3)计算机可以通过视频窗口控制器,对帧存储器的内容进行读写操作。帧存储器的视频信号读到计算机后,通过编程实现各种需要的算法,完成对视频图像处理的任务,同时,也可完成帧存储器的存盘和取盘任务。
从帧存储器读出的数据再经过一个锁存器74ALS574和一个二选一多路开关74ALS277,将存储器0和存储器1的数据合成一组串行扫描数据,送给彩色监视器供显示使用。
4.D/A交换和视频输出电路
从帧存储器读出的12位4:1:1YUV格式的数字信号,送到具有D/A变换功能的视频处理器SAA9060,它将色差信号U、V经过两级插值滤波,即将U、V信号每个像素复制成4个同样的像素,恢复成4:4:4格式,再经D/A变换,形成模拟的Y,—(R—Y),—(B—Y)信号。将它们送给视频信号合成器TDA4680,经过模拟量的矩阵运算形成R、G、B信号。TDA4680为通用图像输出处理器件。通过对它内部16字节的寄存器编程,可进行亮度,色饱和度、对比度、RGB增益等的调整以及白电平控制和切头控制,从而得到高质量的彩色信号。将此信号与VGA卡来的RGB信号同时送给二选一视频模拟开关74HCT4053,由视频窗口控制器来的彩色键联信号随时控制它,选择任一路输出。模拟开关的输出一路送给VGA彩色监视器,另一路送给视频编码器 MC/377,并与内部产生的同步信号复合成彩色全电视信号输出。
5.硬件控制
MTV—8003卡有5个部分需要控制,分别为(1)82C9001A;(2)SAA9051;(3)TDA4680;(4)帧存储器;(5)TDA8708。
其中PC机通过I/O访问方式对82C9001A进行控制,帧存储器则是由PC机通过82C9001A进行控制的。SAA9051和TDA4680都是I\(^{2}\)C总线控制器件。I2C总线是WTV—8003卡的片内总线,它是一种双向两线串行数据总线,包括串行数据线SDA和串行时钟线SCL,SDA线与SCL线同步。82C9001A的数据寄存器18H的0~2位为I\(^{2}\)C总线控制位。BIT0:I2C总线时钟(I2CK);BIT1:I\(^{2}\)C 数据输出(I2CO); BIT2:I\(^{2}\)C数据输入(I2CI),因此,只要改变其0位和1位就可送出I\(^{2}\)C总线信息。在82C9001A的控制下,信号以I2C总线方式送入SAA9051和TDA4680。TDA8708有3个视频输入,这3个视频输入的选择需由SAA951控制。因此,要选择这3个视频输入中的一个时,需由82C9001A的寄存器送出I2C总线控制信号给SAA9051的寄存器,再由SAA9051的I/O口送选择数据到TDA8708。
6.同步信号的设定
WTV—8003卡必须有同步信号,才能够使图像输出并且与外接监示器同步。MTV—8003卡有两种产生同步信号的方式,一种是从VGA卡的视频特性连接器取得VGA同步信号,另一种是采用内部产生的同步信号。(1)使用特性连接器的同步信号。图像的输出与VGA卡的输出同步,可使电脑的画面与图像的画面重叠在同一画面上。此时,WTV—8003卡的工作完全根据VGA卡的工作状态而定。MTV—8003卡内有图像合成线路,可以合成PAL制或NTSC制彩色全电视信号。因此,只要用软件方式改变VGA卡的同步信号,使其为NTSC或PAL制,则可在复合端得到电脑与图像重叠的画面。(2)采用内部产生的同步信号。MTV-8003卡内部产生的同步信号有NTSC和PAL制两种。选用内部产生的同步信号与电脑显示卡无关,采用内部产生的同步信号,只是作为输出的同步标准,与输入是何种制式无关。MTV—8003卡的图像输入是由SAA9051解码的,故不论输入是何种制式,只需改变SAA9051寄存器值,就可决定是NTSC或PAL制。因此,MTV-8003卡可以用于系统转换方面。 (钱晶)