固态时间继电器简称SST,它是随着机电一体化的发展而诞生的新型电子器件。SST器件已在国外各类电器控制系统中被广泛应用,它将逐渐取代传统的时间继电器。
外形及型号命名方法
固态时间继电器有两种型号:第一种型号为YHF,称固定两线式,外形见图1a。它可直接串接在负载回路里,定时时间是固定的;另一种型号为YHK,称可调两线式,外形见图1b,与YHF型相比它增加两个引脚,可外接可调电阻,用于改变SST的定时时间。

现介绍型号命名方法:

其中第一部分为企业标准主称,第二部分为定时模式:其中F为两线固定式;K为两线可调式。第三部分为定时时间,单位为秒。第四部分为额定输出电流,单位为安培。例如:YHF060/1A为两线固定式SST,定时时间为60秒,输出电流1A。
主要技术指标
1.定时时间:F型固定式定时时间为30、60、180、300、360、480、600秒7档;K型可调式定时时间范围为6秒~600秒(0.1分~10分钟)。
2.定时精度:在额定使用电压、环境温度下为±2%。
3.工作电压:没有特殊供货说明时为220V交流电压,另外也可供应交流36V、110V、120V和380V电压的SST。
4.关态电流:是指外加额定使用电压。SST在定时时间范围内所需的工作电流,要求小于5mA。
5.通态压降:定时时间到SST导通后在SST上的电压降<2VAC。
6.通/断时间:SST在导通或关断的时间小于5毫秒。
应用举例
固态时间继电器SST采用电子线路,并具有无触点,无火花和寿命长的特点,外形采用封闭式,具有防潮、防爆、防振作用。SST是较为理想的电子器件,它配合交流接触器可广泛应用于机床控制和各种工业控制系统中。典型应用如图2、图3所示。将SST直接串入220V交流电源回路中,合上电源开关,SST即开始工作。当设定的时间一到,SST导通使得负载得电并工作。如负载功率较小,可用SST直接驱动;若负载功率超过SST的额定工作电流时,可采用SST经过交流接触器来驱动负载。


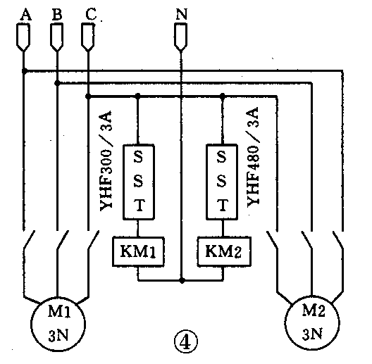
工业控制中,许多设备有这样要求:机器总电源闭合后,其中部分设备先工作,另一部分设备经过一段时间后才工作(如预热、升温等要求)。本文介绍的SST时间继电器可承担此任务,它可以按时间要求,分别控制各部分电源的开启与关断。如图4电路中,SST1采用YHF300/3A型,SST2采用YHF480/3A。总电源接通后经过5分钟,接触器KR1合上接通电动机M1;经过8分钟,SST2导通使得电动机M2接通工作。在使用中利用交流接触器的常闭/常开触点也可实现时间上的关断。

选用YHK型可调式SST,使用时更加方便。预先设定所需时间则可得到0.1分~10分钟的时间设置。外设电阻器接在第2、3脚之间。利用下列的关系公式可以设定定时时间:
t=K·R(秒)
其中K=4×10\(^{-4}\)(法拉),R为电阻,单位为欧姆。若外接电位器RP为1.2MΩ,则SST的定时时间范围为0.1分~8分钟。外接电位器或固定电阻的最大阻值不直超过2.2MΩ,否则将影响SST的定时精度。(王建民)