帝王彩电的电源由CPU电源、自动电压系统(AVS)和主电源3部分构成,连接关系如图1所示。

主电源和其它三洋彩电机型大致相似,由滤波电路、振荡电路、控制电路和输出整流电路组成。电路设计比较精练,工作可靠,容易修理。为了扩大交流电源使用范围,设计有AVS单元,交流电源在80~290V范围都能正常工作。图2是主电源电路图,图3是电路在正常工作情况下一些特征点的电压和电流波形。


交流输入电压经AVS单元后变成带有波纹的直流电压,由滤波电容器C607滤波,输入到振荡电路。振荡电路是一种间歇脉冲振荡器,它由开关晶体管Q613产生方波脉冲,重复频率由控制电路进行调整。经过T611变压器变换,在输出线圈中获得的方波脉冲大小与变压器的输出和输入线圈之比例相对应。这些脉冲经输出整流电路整流,得到要求的直流电压输出。
CPU电源直接与交流电源相连接,保证CPU优先工作。
一、主电源工作原理
1.启动电路
当电源开启时,交流电源经过AVS单元后,输出带波纹的直流电压加到主电源,经过C607滤波后,一部分电流通过启动电阻R620、R621和R611加到开关晶体管Q613的基极,较多的电流流到变压器初级线圈的③-⑦脚产生电磁感应。在反馈线圈①-②也产生电压,此电压通过R612、C611和R614呈正反馈加到晶体管Q613的基极,因此晶体管导通。
上述工作过程只是在瞬间完成,足够的基极电流流入到Q613使其保持导通状态。
2.振荡电路
开关晶体管Q613产生间歇振荡,工作过程如下:
(1)截止的工作情况
正常情况下控制电路不工作。电源开启时Q613从截止状态按上述启动过程开始导通,集电极电流随时间线性增大。当集电极电流变到h\(_{FE}\)(特征频率电流放大系数)倍基极电流时,Q613就不能再保持导通而立刻截止。当Q613截止时,在导通时期储存在初级线圈③-⑦内的能量变换到输出线圈,通过输出整流电路加到负载。此时输出线圈中的电流按时间衰减,参见图3—f。
当负载有异常,控制电路工作,Q613原处于导通情况,在反馈线圈①-②中产生正反馈脉冲,这些脉冲和输出电压通过D611反馈来的变动的电压构成复合电压加到Q612的基极—发射极。当此基极—发射极电压达到适当的值(约0.6~0.7V),晶体管Q612导通。这时Q613的基极电流被Q612的集电极—发射极旁路,Q613立即截止。
(2)导通的工作情况
Q613截止后在输出线圈中的电流流动按时间衰减,当它到达零时,T1周期完,T2周期开始。此时变压器T611的线圈③—⑦的电感和C621及分布电容产生谐振,谐振电流从⑦端流到③端,在反馈线圈①端到②端也产生电流流动,Q613保持截止。在T2周期的终点,谐振电流变到最大,不再变化了。之后,线圈③-⑦的电流开始释放,在负反馈线圈中产生的电流则方向相反从端②到端①,并加到Q613的基极。因此,Q613由于正反馈作用而导通。
Q613的截止和导通不断重复进行,变压器T611初级线圈③和⑦脚间电压如图3-a,形成一定频率的间歇振荡。
3.控制电路
控制电路是通过检测负载中的电压变化进行工作的。初级和次级是用光电耦合器D611来隔离的。IC631是误差放大器。当输出电压+B(140V)上升时,流经IC631和R656的控制电流增加。这样,电流流过光电耦合器D611的亮度能量增加,使在光电耦合器中的光电三极管集电极电流受亮度能量变化的控制。亮度能量变大时,集电极电流增加,集电极电流的波动由Q614放大并加到Q612的基极。当输出电压变大到一定程度时,Q612立刻导通,Q613立刻截止。结果,Q613的导通周期(T1)变得较短,而输出电压(+B)降低。当输出电压(+B)下降时,Q613的导通时间变长,输出电压上升,调整的结果使输出电压基本保持不变。
Q612的基极电位还加有从R613来的输入电压,因此控制管Q612受输入电压和输出电压变化值的控制。Q612控制Q613导通时间的结果,使电源的输出电压在实际使用中基本保持不变。
4.遥控工作
当遥控器POWER断开时,CPU第33脚(POWER ON/OFF)输出+5V加到 D612的第1脚,光电耦合器D612中的光电三极管导通,Q615导通。此时,加到Q613基极的电流被Q615旁路,使Q613截止,主电源电路被切断。当遥控器POWER开启时,CPU第33脚输出接近0V,D612中的光电三极管断开, Q615没有基极电流流入而被截止。此时Q613导通,主电源按正常情况工作。
5.过载保护
在电视机发生故障的情况下,保护电路提供一种保护。CPU的第19脚检测电源线路次级的每一条B线电压变化。当检测到的电压是低(小于0.8V),大约在1秒内 CPU的第 33脚(POWER ON/OFF)输出+5V加到D612的第1脚,如上所述,将主电源线路截断,电视机处于等待状态。
二、自动电压系统(AVS)
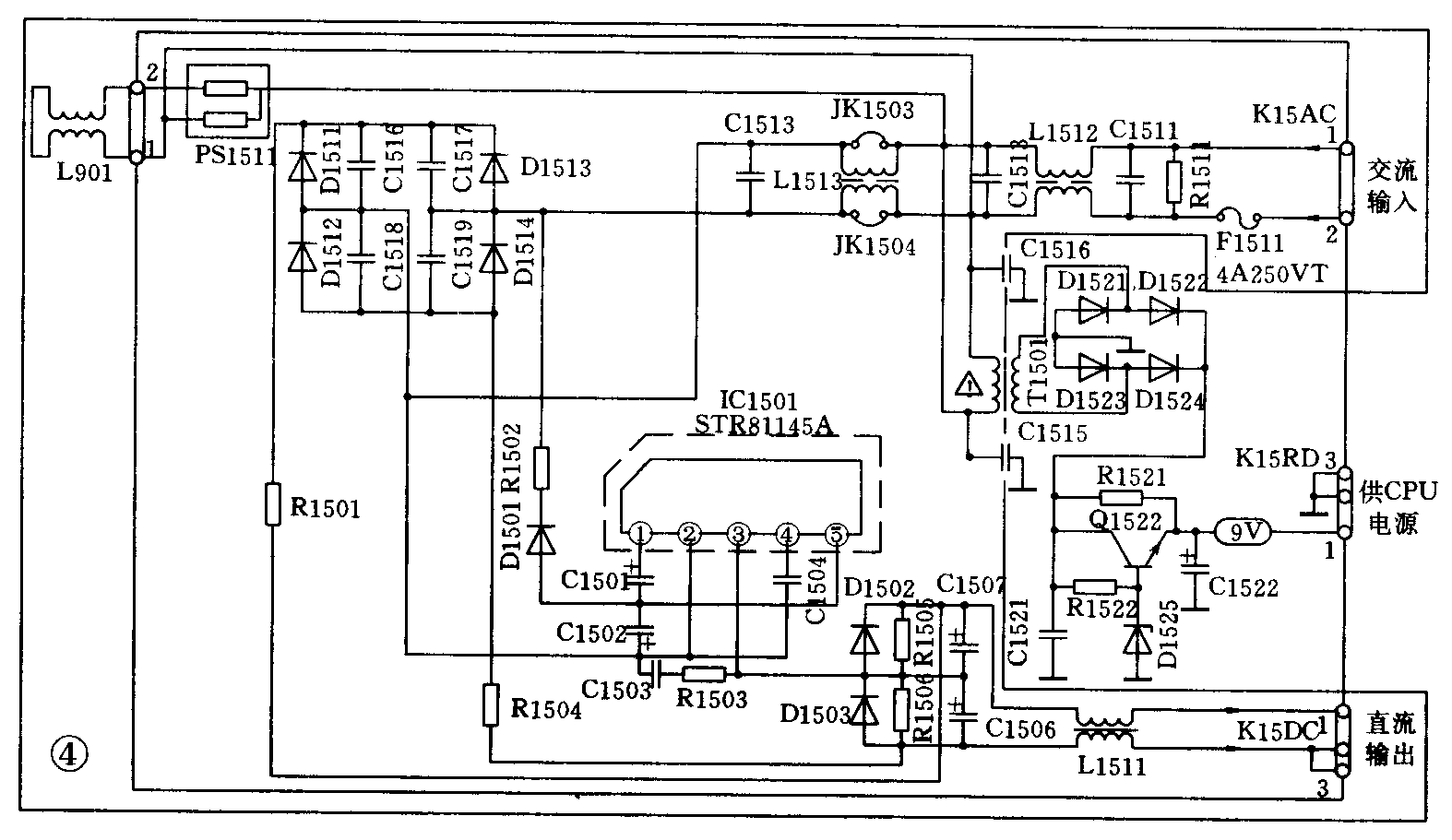
AVS单元如图4所示。

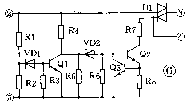
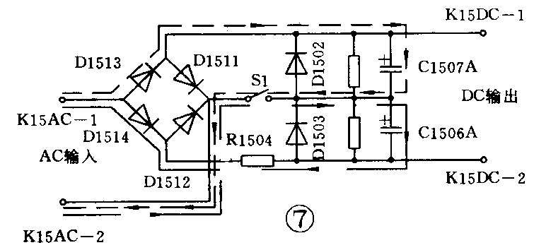
交流电源从插座K15AC-1和2输入,带波纹的 直流电压从插座K15DC-1和2输出。为了说明方便起见,图5示出AVS的简化电路。它以IC1501(STR81145)为主体,该集成电路的内部组成如图6所示。交流输出电压经R1502、D1501、C1502整流滤波后向IC1501供电。第2脚为正,第5脚为负。


当交流输入电压高于145V时,整流后加到IC1501第2、5脚的电压高于145V,通过内部R1、R2取样后, Q1导通 Q2截止,可控硅 D1不导通,即第 2脚和第3脚不通,开关S1是断开的。D1511~D1514按一般桥式整流电路工作。当交流电源低于145V时,整流后加于IC1501第2、5脚的电压较低(D1501起半坡整流作用),通过 IC内部 R1和 R2取样后Q1截止,Q2导通,可控硅D1导通,即IC1501的第2、3脚接通,相当于S1接通。在此情况下,图7中交流的正半周期经 D1513、 C1507A、 S1整流(途经虚线),交流的负半周期经S1、C1506A、R1504、D1504、D1514整流(途经点—划线)。在直流输出端C1507A和C1506A上得到两倍的输出电压,整流电路由桥式整流变成了倍压整流。可见它可以扩展交流电压输入范围,减轻主电源中开关管Q613的负担,提高电源效率和增强电源可靠性。交流电源输入范围在80~290V时都能满意地工作。

L901和PS1511构成显像管自动消磁电路。CPU电源由T1501、D1521~D1524、Q1521、D1525等构成。它是一种简单的串联调整式稳压电源,利用调整管Q1521内阻变化来补偿输出电压的变化。由于调整管接成射随器,所以它的输出阻抗较低,输入电压变化时输出电压总比稳压二极管稳定的电压约低0.7V(U\(_{BE}\))。(彭定武)