随着有线电视的逐渐普及,用户在接收到清晰度高、内容丰富的节目的同时,也为收不到一些增补频道的电视节目而遗憾。确实,有线电视大多是采用增补频道邻频传输技术,而一般的电视机是按无线频段设计的,只能收到少量增补频道,大部分增补频道在电视机的接收范围之外。
为此,人们推出了电视机用变换器,它能接收所有的增补频道,并且带有遥控功能。该变换器目前市场价格在四百元左右。它虽然可以使旧式彩电扩展频道和增加遥控,但该遥控功能只限于频道转换和开关机,而且信号经过机上变换器处理后图像质量下降。许多频道带有明显的网纹干扰。
本文推荐两种接收CATV增补频道的方法,供广大业余爱好者参考。
一、增补频道变换器:
该变换器利用有线电视增补频道中U段大部分空缺的特点,利用变频原理,将所有有线电视增补频道信号都差转到U段,让一般的电机接收。
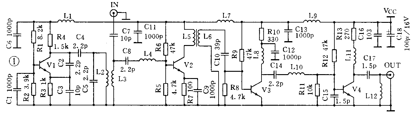
增补频道变换器的原理图见图1。其中V1为本振级。振荡频率为400~500MHz,由调试确定最佳点。V2为混频级,它把电视信号和本振信号混频后送入V3。V3和V4则选出基波和视频信号,经过放大后输出。

电视中所有电容都是高频瓷介电容,本振槽路电容应该选用零温度系数电容,三极管采用超高频、低噪声、高增益管,印制板用高频环氧板,整个本振级应加以屏蔽。
安装无误后,一般都能收到信号,然后反复调节L2和L3,可使图像和伴音都最佳。由于高次谐波的干扰,本变换器在使用时不能保证所有频道的节目都很清晰,信号的质量同安装、调试密切相关。
二、CATV专用调谐器
对于目前大多数彩电而言,在功能、性能上应该说已经能满足用户的需求了,它们的主要缺陷便是无法接收增补频道节目。在不影响电视机各项性能的前提下,扩展电视机的接收频率范围,唯一的办法就是调换电视机的调谐器。我们推出的这款CATV调谐器是专为电视机、录像机接收CATV频道而特别设计的。与一般的调谐器一样。它也分三段调谐,但三段的频带是互相连续的。因此,它覆盖了全部的增补频道。该调谐器的中频与现行标准一致,为38MHz。它的外形尺寸见图2,引脚参数见附表。
附表 CATV调谐值引脚功能:
频段 频率范围 B BH BU BM BT AGG(应向) AFC
VHF—I 48~170MHz +12V — —
VHF-H 165~475MHz — +12V — +12V 0-30V 7.5-0V 3-11V
UHF 470~870MHz — — +12V

大多数电视机可直接换上本CATV调谐器,少数只需重新接几根线即可,换上后一般无需调整即可正常工作。与原来相比,它的各项性能指标并不逊色,而且花费较少,这一方法是解决问题的较好途径。
天成电子有限公司供应文中交换器全套散件34元,CATV调谐器125元,10只以上115元。邮资5元/件,目录1元。宁波江东民安路127号,邮编315040,电话(0574)7371175(裘是)