谈起兰光LC900C/D落地式音响,笔者曾先后对该机进行过不同规模的改进:一是增加快速录音功能;二是扩展唱机的频响;三是增改放音前级、提高转换速率;四是功率接续;五是改进落地式音箱。体会最深的还数三改落地式音箱,现将改制经过和体会介绍给读者。
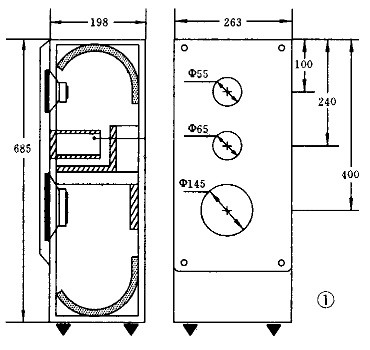
该机音箱尺寸为高685×宽263×厚198(mm)(实测),采用密封式电容二分频结构。扬声器采用6.5英寸4Ω10W低音,1英寸4Ω5W高音,音响驱动功率为2×50W。由于该音响为厂家早期产品,效果一般,特别是音响驱动功率小,音箱效率低,低频响应不好。第一次改进主要是想提高音箱效率,以提高响度,因此对该音箱动了一次手术,将密封式改为倒相式,如图1所示。找一段塑料水管,内径为53mm,外径约为63mm,如图2⑦所示,取长度为105mm做倒相管,并在低音与高音扬声器之间挖一直径63mm的孔,塞入倒相管,涂胶封固即可。经过简单的改装,其效率明显提高,且低频响度加强,同时感到低频段明显展宽。目的达到了,当时自以为满足,一用就是五年之久。后来越听越觉得仍然缺点什么,经过分析,初步确诊为低频段40Hz~80Hz提升不够,阻尼过小,高频8kHz段失真严重,背景噪声增加,10kHz~20kHz解析力不高。 因此产生第二次改进的念头,这次是想增加箱体阻尼,改进分频网络。首先将原音箱底部加入松软的玻璃纤维进行听音调整,直到满意为止。其次是将原分频电容(二只电解电容串联)去掉,将原总容量为1Oμ改为3.3μ,采用专用无极电容。通过改变电容把分频点移到约2.5kHz—3.5kHz的频段,再听高频背景噪声基本消除,高音更加透彻,解析力提高,没想到一次普通的改进,使低音响度提高、厚度增加;高频响应大大改善,失真也降到很低。



前不久笔者添置了一台CD机,试听时觉得低频不能体现CD机优越性。主要表现在45Hz以下提升不够。能不能对该音箱再次改造,使低音重放频率下潜到45Hz以下和更低呢?带着这个疑问,笔者对音箱发动了第三次改进。这次改进主导思想在于:一、通过改进箱体内部结构,保证低频下潜;二、不改动原扬声器单元,减少改制成本;三、易于制作,结构简单易行。
具体改进的结构如图2所示,这是一种变形二级谐振式二分频音箱结构,图中①②⑤构成隔板,③④构成谐振口,⑥构成加固圆板。制作改进方法如下:
一、结构件的制作 采用约10mm厚的木板,按图二的要求制作。结合面采用胶粘、梢钉法连接。
二、装配步骤 第一步装隔板,由于构件的装配均通过低音场音器安装孔在箱体内装配,隔板需分成三块拼装。先在各结合面涂上胶,装好隔板的一边,再装另一边。第二步装入谐振槽,并敲紧。第三步用铁钉从音箱面极向隔板端面定位。第四步装隔板⑤,然后涂胶封口,同样用钉子定位。另找一个较长的钉子,通过倒相孔将谐振口固定在后板上。上述过程应在胶未干之前完成。第五步将露气部位用胶封口,接下来将圆块⑥对应于低音孔中心位置在背板上胶固,最后按图二加装吸音材料。这样改装就算完成,待胶干固后即可使用。
主观听感评价,经过改进后的音箱,总体效率提高,低频响应极好,45Hz以下均低音源如定音鼓、钢琴、大号、低音提琴、管风琴等低音表现厚实、强劲,这说明在该频段得到了良好的提升。管风琴的低音段似乎下潜到了30Hz,而且有一定的力度和回荡感。高音更加细腻透彻,中频段因扬声器固有特性,层次较分明。改制后的音箱频响可达到35Hz-20kHz。实践告诉我们,只要认真地分析,找出影响音质的关键因素,是不难取得收效的。(向松)