电容和电感都是构成电路的最基本元件,测量电容和电感可以用伏安计法、电桥法、谐振法等多种方法。本文介绍的测量仪采用交流电桥法,具有测量范围较宽、精度较高、使用方便的特点,其技术性能如下:
①电容测量范围:5pF~100μF,共分7档量程。
②电感测量范围:5μH~100H,共分7档量程。
③测量误差:±5%。
一、电路原理
图1是电容电感测量仪电路图,图2是其方框图。被测元件阻抗Z\(_{x}\)与已知元件阻抗ZA、Z\(_{B}\)、ZC构成电桥的四个臂,电桥的一组对角线A、B间接交流信号源,另一组对角线C、D间接平衡指示器。当Z\(_{x}\)Zc=Z\(_{A}\)ZB时,电桥平衡,C、D间电位差为零。由于Z\(_{A}\)、ZB、Z\(_{C}\)已知,所以Zx=\(\frac{Z}{_{A}}\)ZBZ\(_{C}\)。


1.测量电容
测量电容采用惠斯顿电桥(图3),C\(_{x}\)为被测电容,Co为标准电容,R\(_{A}\)、RB为标准电阻。电桥平衡条件为C\(_{X}\)RA=C\(_{0}\)RB,所以当电桥平衡时,C\(_{x}\)=C0R\(_{B}\)RA。

2.测量电感
测量电感采用马克斯韦电桥(图4),L\(_{X}\)为被测电感,C0为标准电容,R\(_{A}\)、RB为标准电阻。电桥平衡条件为L\(_{x}\)/C0=R\(_{A}\)RB,所以当电桥平衡时,L\(_{X}\)=C0R\(_{A}\)RB。

严格地讲,由于电容和电感都存在一定的损耗电阻,要使电桥完全平衡,还必须使损耗电阻也满足平衡条件。为了简化电路、方便使用,本测量仪将其忽略,亦完全可以满足业余测量对精度的要求。
3.信号源与平衡指示器
集成运放IC1-1等构成文氏桥振荡器,产生1.6kHz的正弦波作为测量电桥的信号源。IC1-2为缓冲放大器,以隔离电桥电路对振荡器的影响。IC2-1和IC2-2构成两极放大器,将电桥C、D间检测到的信号进行放大,总增益68dB(2500倍),使测量仪具有很高的检测灵敏度,易于调节电桥平衡,提高测量精度。放大器输出接压电陶瓷蜂鸣片HA,作为电桥平衡指示,电桥完全平衡时,蜂鸣片无声。
信号源输出经变压器T1耦合至电桥A、B间,电桥C、D间的检测信号经变压器T2耦合至平衡指示器,这样信号源与平衡指示器便可以有公共接地点,以便用一组直流电源供电。
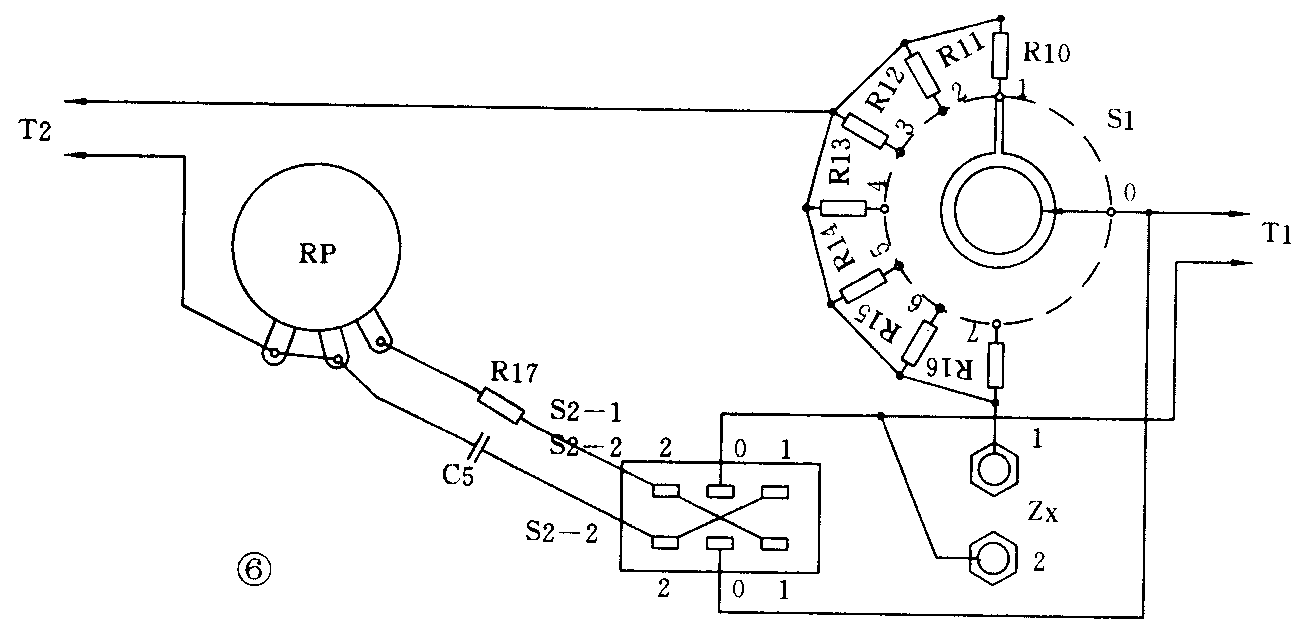
图1中,R10~R16即是图3(或图4)中的R\(_{A}\)、R17+RP即为RB,C5即为C\(_{0}\),它们与被测电容(或电感)Zx共同构成电桥的四个臂,通过测量选择开关S2完成惠斯顿电桥与马克斯韦电桥的转换,实现电容测量或电感测量。S1是量程选择开关,其各档位相应的量程列于表1。RP为读数电位器。
表1
S1档位 测C 测L
1 100μ 0.1mH
2 10μ 1mH
3 1μ 10mH
4 0.1μ 100mH
5 0.01μ 1H
6 1000P 10H
7 100P 100H
二、元器件选择
电桥桥臂元件直接关系到测量精度,必须认真挑选:标准电容C5采用聚酯或聚丙烯电容,容量必须准确;分档标准电阻R10~R16以及R17采用金属膜电阻,阻值也必须准确;读数电位器RP采用线性线绕电位器,以上元件可用万用电桥或数字万用表检测挑选。
IC1、IC2选用LM158或LM358双运放集成块。VD1、VD2选用2CP系列或IN4000系列硅二极管。T1、T2采用晶体管收音机用输入变压器,次级中间抽头悬空不用,接法按图1所示。T1、T2也可用小型铁芯自行绕制,初次级各用Ф0.08mm的漆包线绕1000圈即可。HA是压电陶瓷蜂鸣片,使用时应装上助声腔。B也可以采用微型扬声器或讯响器。S1选用单刀7掷旋转式波段开关;S2、S3均选用双刀双掷开关。其余元器件无特殊要求。
三、制作与调试
图5(a)、(b)分别是信号源部分和平衡指示器部分的印刷电路板。测量选择开关S2、量程开关S1、读数电位器RP以及被测元件接线柱固定在测量仪面板上,电桥元件直接焊在上述开关或电位器的引脚上(图6),接线力求短而直。测量仪内部结构可参见图7,信号源电路板和平衡指示器电路板分置左、右两侧,电池盒置于下方。整个平衡指示器电路板应置于屏蔽罩内,以防干扰造成测量误差。屏蔽罩可用薄铜皮或铁皮制做,屏蔽罩应接地。


测量仪面板如图8所示。读数刻度按以下方法绘制:先断开R17与S2的连接点,测量R17+RP的总阻值,转动RP旋钮改变总阻值,按表2所示在11个规定阻值处标出相应刻度,然后再将0.1~0.2~……~1.0每段等分10小格,将0.05~0.1段等分5小格。测量R17+RP的总阻值应用万用电桥或数字万用表,力求准确,否则会造成测量仪误差过大。读数刻度绘制好后,将R17与S2重新连接好。


表2
R17+RP
总阻值(Ω) 刻度数
50 0.05
100 0.1
200 0.2
300 0.3
400 0.4
500 0.5
600 0.6
700 0.7
800 0.8
900 0.9
1000 1.0
整机组装完毕,对照图1检查无误后,便可进行调试。先用一个51k电位器取代R3,然后接通电源,调节该电位器使文氏桥振荡器起振,这时可听到1.6kHz的音频声,有条件时可用示波器观察IC1①脚的输出波形,应为正弦波,如波形已削顶或已成方波,则增加电位器阻值。调试完毕后用相同阻值的固定电阻焊入R3位置即可。其它部分无需调试。
四、使用方法
将被测电容或电感接入Z\(_{x}\)接线柱,测量选择开关置于相应位置,量程开关置于适当档位,然后打开电源开关,即可听到1.6kHz的音频声。缓慢转动读数旋钮找到无声或声音最小的一点(电桥平衡),这时量程档位与读数旋钮所指示数值的乘积即是被测元件的值。例如测量某电容,测量选择开关置“C”位,量程开关置于“10μF”档,转动读数旋钮至“0.47”位时,声音最小,则该被测电容的值=10μF×0.47=4.7μF。(莫恩)