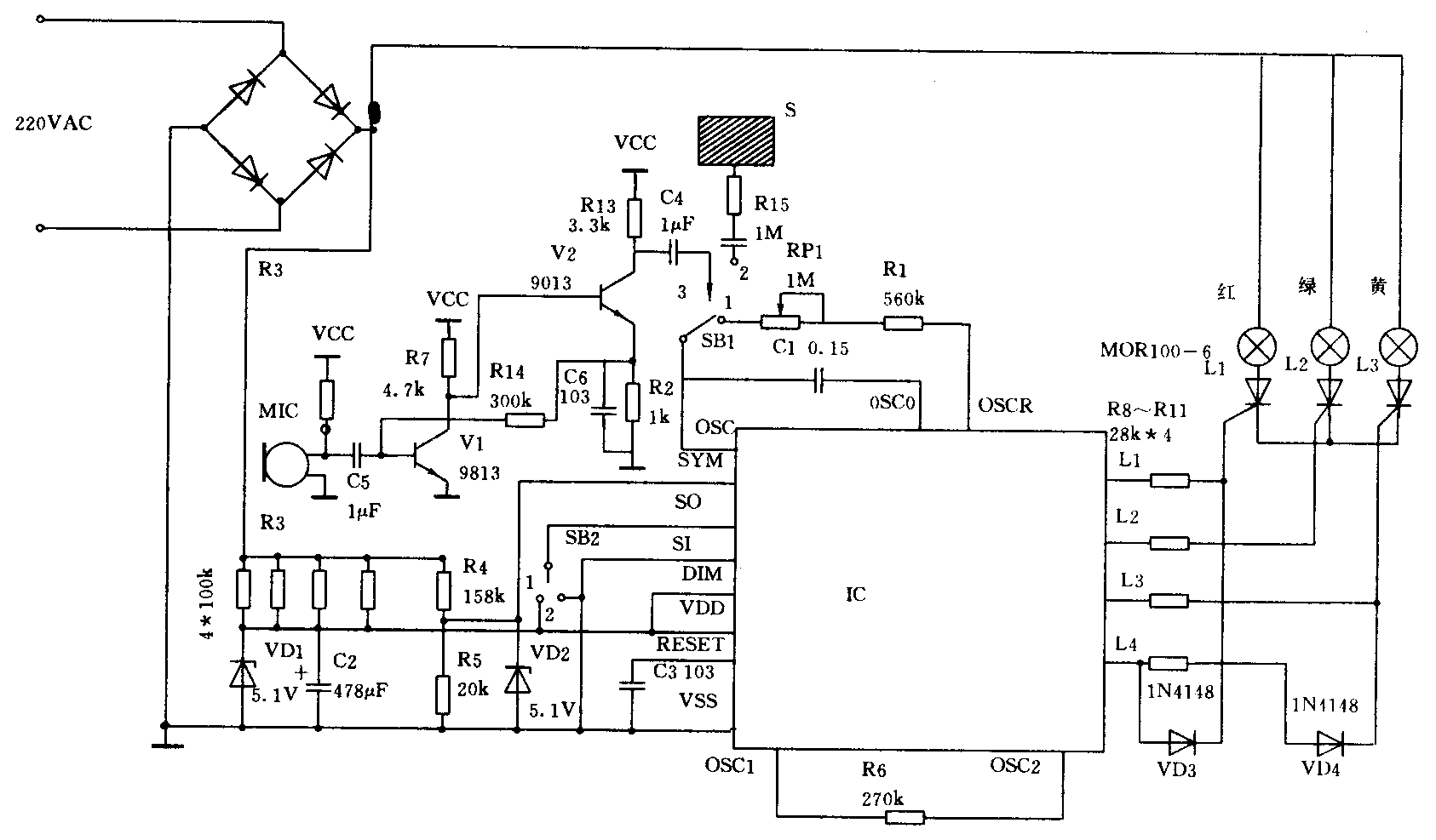
该灯具是根据光源“三基色”原理,将红绿蓝三色灯泡集中放在磨沙玻璃或乳白色玻璃罩内。通过CMOS器件制作的控制器,使三只灯泡按编制的程序调光从而实现赤、橙、黄、绿、青、蓝、紫柔和变幻的丰富色彩。通过控制机构,可自动变色。随音乐声控变色、触摸变色、锁定单色、白色亮度可调。利用该控制器制作的灯具,可用于宾馆、饭店、歌舞厅、家庭装饰、广告制作等场所。
控制器电路如附图:电源3~6V直流从220V市电经整流分压取得。图中OSC为振荡输入端,OSCR为振荡输出端,OSC端有信号输入时,L1、L2、L3、L4依次由高电平渐变为低电平,再由低电平渐变为高电平去驱动执行电路。执行电路为1A单向可控硅。

图中SB1为功能转换开关,在位置1时与振荡输出端接通实现自动变色,调整R1可改变变化速率。SB1在位置2时,为单色锁定,此时可实现触摸变色,触摸感应信号直接送至OSC端。SB1在位置3时,可实现声控变色,声音信号是由话筒MIC拾取后经V1、V2放大送至OSC端。调整R14可改变灵敏度。
SB2为选择开关,接通1时,灯光为彩色,接通2时灯光三色组合为白色,此时,SB1置2位,可实现调光。(李爱国)