JGS双向传输固态继电器简称JGS,它具有以下的特点:输入控制端能向外接的微功耗电路提供电源(5V,220μA),微功耗电路输出状态的变化,反过来控制JGS输出端开关的切换,实现了双向传输操作。由于它的输入端不仅不需要外加电源,而且能向外接电路供电,因而JGS不但能作双向传输控制,而且也可作无源驱动,能直接采用无源敏感元件(如可变电阻、光敏、热敏、湿敏等传感器),控制交流大功率负载的通、断,应用十分广泛。
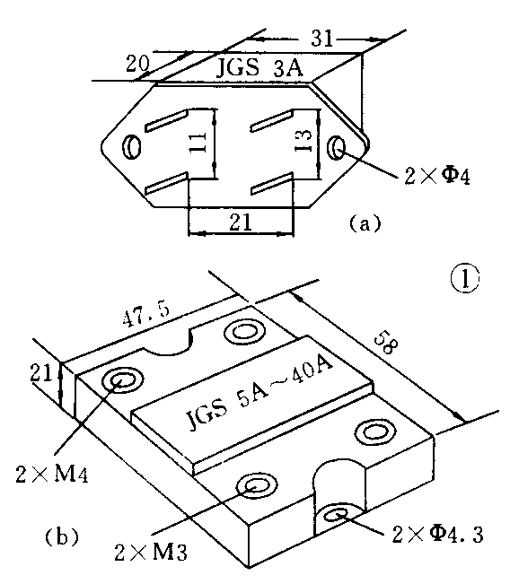
外形及引脚功能
JGS的外形见图1,JGS的电路符号见图2,该图上已标明了各引脚功能,图3为外接微功耗电路的电路图。图4为JGS输入、输出控制特性曲线。当JGS输入端输出控制电流I1、2在L2段时,输出端3、4脚导通,则U3、4≈0,负载R1得电;当I\(_{1、2}\)在L1段时,输出端3、4断开,则U3、4=220V,负载停止工作。L0为过渡区,L0段上的0点为JGS控制的转换点,转换电流I01、2一般为50μA~20μA。只要外接的微功耗电路有一个输出端RL能控制1、2脚的输出电流I\(_{1、2}\),就能达到JGS既能向微功耗电路提供电源,又能将电路输出的控制信号传递给JGS负载的双重特征,同理,只要JGS的1、2端外接电阻,其外接电阻的变化能控制JGS I1、2的电流,同样能控制JGS从导通到关断,或者从关断到导通。




主要技术指标
1.输出端额定工作电压为交流220V,频率50Hz。
2.输出端工作电流:3A~40A。
3.输入控制端参数:
输入端开路输出电压:5V±1V。输入端电流门限值:50μA~100μA。输入端无源控制切换电阻:20kΩ~100kΩ。
4.输入控制端1、2脚对输出开关端3、4脚之间参数:介质耐压:≥2500V。绝缘电阻:≥500MΩ。
5.工作寿命:10×10\(^{7}\)次。
6.开关时间≤10ms。
选用时要向生产厂提出切换电阻的范围,以及有关的电流、电压值。
应用举例
1.全自动闪光交流继电器
电路见图5,KD01是一种直径为22mm的圆片状闪光集成电路。工作电压为1.35V~5V,静态电流约2μA,JGS的1、2脚向KD01提供一个约5V、2μA的工作电流,KD01的Ⅱ脚是输出脚,输出1.2Hz方波。R\(^{*}\)是KD01的负载。当KD01的Ⅱ脚输出为高电平时,流过负载电阻R*以及Rds加上RP的电流很小,总电流远小于JGS1、2端门限电流值I\(_{0}\)1、2,JGS工作在L2段,JGS的3、4端导通,灯ZD亮;当KD01的Ⅱ脚输出低电平时,流过负载电阻R\(^{*}\)以及Rds加上RP上有100μA以上电流,总电流远大于门限电流值I01、2(50μA),JGS工作在L1段,JGS的3、4端关断,灯ZD熄灭,从而使灯ZD随KD01的Ⅱ脚输出的1.2Hz方波频频闪动,该器件可选大电流的来控制闪光灯或闪光灯组。用光敏电阻Rds加上RP代替R*使白天光照强时,Rds阻值小于几kΩ,JGS3、4端关断;傍晚光照弱,Rds阻值大于50kΩ,JGS 3、4端开通,接受KD01的控制,电位器RP串入可对光敏电阻与JGS相配不足的补偿,也就是说白天不频闪,夜间自动频闪。

2.作交流无触点继电器开关
图6a是某控制电路框图,该系统用机械继电器作变压器的开关控制,电流为4A。由于机械触头容易烧坏,为了提高可靠性,采用JGS继电器作无触点开关,见图6b。将原继电器KA的常开触头KA12更换成KA11常闭触头,将KA11接到JGS1、2端上,KA未工作时KA11闭合,3、4端截止,变压器未得电。只要KA工作,KA11由常闭变成常开,3、4端导通,变压器得电。

3.自动喷水器
图7是采用湿敏元件与JGS 25A、切换电阻30kΩ器件组成的自动喷水器。湿敏元件选用金属氧化物陶瓷湿敏元件(BTS-208),其优点是,在测量范围内,其阻抗变化甚大,当然湿敏元件也可选其它型号。可调电阻RP可以任意设定湿度。其工作原理为:若设定点湿度80%RH,BTS-208电阻为30kΩ,只要湿度高于80%RH,则BTS-208电阻小于30kΩ,JGS3、4脚断开,关闭电磁阀停止喷水,只要湿度低于80%RH,则BTS-208的电阻大于30kΩ,JGS3、4端导通,打开电磁阀,进行喷水,直到湿度到达80%RH再关闭电磁阀。本电路特别适用于园林,农场作自动浇水用。

4.作防盗报警器
因JGS输入端不需要外加电源:控制端闭合时输出端断路,反之输出端导通。
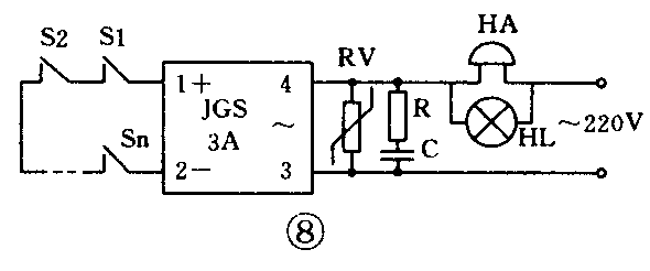
图8是由JGS 3A继电器、警笛、指示灯组成的报警器。JGS的优点在于能带多个开关,开关S1可设置在门窗、抽屉等活动部分,见图8,对贵重物品可设开关S2,或用导线栓固物体。还可在窃贼必经之道暗设导线。用普通绝缘导线将全部开关S串联起来,形成单线全封闭回路即构成防盗警戒网。当任何一个开关S打开或导线弄断,相当于1、2端开路,JGS3、4端导通,即发出失窃声光报警。

5.作恒温自动控制器
图9是选用热敏电阻RT与切换电阻30kΩ、3A的JGS组成的49℃自动恒温控制器。RT选用负温度系数的热敏电阻,其电阻变化规律为,当温度升高,电阻减小,选一可调电位器RP(阻值820kΩ)与RT并联,以便于设定用。将热敏电阻置于49℃标准温度中,调试时先将负载RL改为灯泡HL,调节RP,使其灯由亮变灭,或者由灭变亮,反复细调两次,则49℃的自动恒温控制器制作完毕。只要控温环境温度大于49℃时RT与RP并联电阻则小于30kΩ,JGS 3、4端断开,停止加热;苦环境温度小于49℃,则RT与RP并联电阻大于30kΩ,3、4端导通,RL得电温度升高,控温精度可达±3℃。

6.作单相大功率控制器
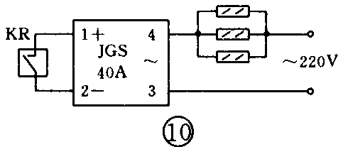
图10是选用JGS 40A器件与可调温度继电器KR组成的可控制4.8kW的可调温度控制器。温度继电器有两类:一类是固定温度点,如:10℃、19℃、60℃、100℃等,另一类是可调型,温度在0℃~200℃。其工作原理为,继电器内为一感温的金属簧片,感温变形达到设定点时断开或接通,温度继电器带负载能力3A,触头通电后容易粘连,变形大,控温点容易走动,寿命也较低。因而与JGS相配能克服这种不足,感温簧片不直接流过电流,而且JGS带负载能力较强,便于作各种大功率的恒温加热箱。

7.作三相大功率恒温控制器
图11是采用电接点水银温度计与三只相同的JGS 25A器件组成7.5kW加热控温装置。本装置特点为功率大,JGS内部设有软起动,冲击性小,温度可任意选取,功率大。电接点可调水银温度计的构造见图12,它由调节帽、调节螺杆,水银,导线及玻璃管组成。调节方法为:调节调节帽,使其螺杆上下移动,下端所指刻度即为设定温度,当温度低于设定点时,水银在螺杆下端,即水银与螺杆断开。当温度达到或者超过设定点时,水银与螺杆接通。利用可调水银温度计的这个特点,与JGS的1、2相连就可控制JGS的通断,达到控温的目的。控温精度可达±1℃。


此外JGS还可与电接点压力表相配实现压力控制,压力报警,以及与温度计组成温度报警器。(陈光辉 徐文辉)