三洋公司最新开发的A6机心的开关电源电路,设计新颖,不需要遥控电源变压器,成本低,而且在遥控关机状态时,开关电源采用间歇振荡方式,降低了功耗,达到节能的目的。
电视机的开关电源电路,在等待状态时,一般采用两种方式为CPU供电;第一种方式是外加一个遥控电源变压器,在等待状态时,开关电源停止工作,由遥控变压器为CPU单独提供电源;另一种方式是电视机处于等待状态时,开关电源电路正常工作,只是切断行、场振荡回路的电源,使电视机的偏转和高压回路停止工作。第一种方式的缺点是元器件数目多,成本高,第二种方式的缺点是当电视机处于等待状态时,功耗大,而A6机心的开关电源电路很好地解决了原来的两种方式的缺点,达到节能和降低成本的目的。下面我们分析该电路的简单工作原理。
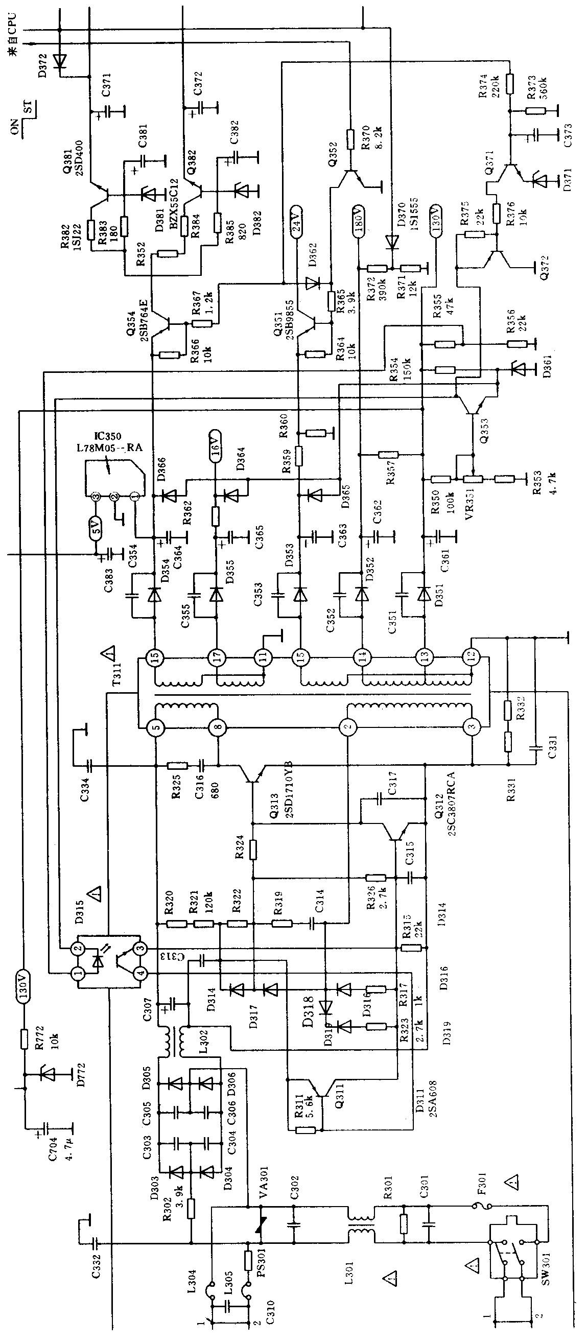
首先,我们分析该电路振荡和稳压部分的电路工作原理。A6机心的电源电路是典型的并联自激式脉冲调宽型开关电源,如附图所示,电路主要由开关变压器T311、开关管Q313、激励管Q312、误差比较放大管Q353、D361、光电耦合管D315、Q311等组成。开关管Q313和开关变压器T311的初级绕组⑤~⑧,反馈绕组②~③, D317、 R319、 C314、 R324组成正反馈回路。交流220V电源电压经过D303~D306、C307整流滤波,得到约300V的直流电压,通过T311初级绕组⑤~⑧加至开关管Q313的集电极,该电压也通过启动电阻R320、R321、R322供给开关管Q313一个微小的偏置电流,使Q313进入放大状态。由于正反馈回路的作用,Q313很快地进入饱和状态。同时反馈绕组②~③也通过D317、R326对C315充电,当C315两端的电压上升到一定值时,激励管Q312导通,Q312的导通使流入Q313基极的电流减少,使Q313退出饱和状态进入放大状态,由于正反馈回路的作用,Q313迅速进入截止状态。这时反馈绕组②~③感应的反向电压对C315进行反向充电,使Q312截止, Q313又进入饱和导通状态,重复上述步骤,形成周期性脉冲振荡。Q312的工作状态还受稳压控制电路的控制。稳压控制电路由取样电阻R350、R353、微调电阻VR351,误差比较放大管Q353、D361和光电耦合管D315,三极管Q311等组成。当开关电源输出的直流电压130V升高时,Q353基极电压上升,集电极电压下降,经光电耦合管D315使Q311电流增大,使Q312截止时间缩短,也就是开关管Q313饱和导通时间缩短,输出电压下降,达到稳压的目的,反之亦然。开关变压器T311各个次级绕组提供的脉冲电压经整流滤波后,分别得到130V、180V、24V、16V、15V五种直流电源电压。130V电压供给行输出电路,180V电压供给视放电路,24V电压供给场输出电路,16V电压供给伴音功放电路,15V电压一路经三端稳压集成块IC350稳压后,得到5V电压,供给CPU;另一种经Q381、D381稳压后得到12V电压,供给主机心电路,同时还经Q382、D382稳压后,得到7.6V电压,供给主机心电路。

我们再来分析该电路间歇振荡控制部分的电路工作原理。如附图所示,当电视机正常工作时,CPU输出一个高电平送至Q352的基极,Q352饱和导通,Q352集电极电位下降,使Q351、Q354导通,开关电源输出的12V和24V电压正常供电,开关变压器T311的通过D354整流后向C364充电,电容两端的电压达到15V;电视机处于等待状态时,CPU输出一低电平至Q352基极,Q352截止,Q352集电极电位上升,Q351、Q354截止,12V和24V电源被切断,行、场振荡电路无工作电压,机器停止工作。电视机停止正常工作后,C364上的电能一路通过稳压集成电路IC350向CPU继续提供5V的电源电压,另一路通过R366、R367、R374向C373充电,由于Q371发射极电压为6.2V,所以当C373两端的电压大于6.9V时,Q371导通,Q372也导通,使Q372的发射极电位下降,也就是光电耦合管D315的②脚电位下降,使开关电源停止工作。开关电源停止工作后,C364向IC350继续放电,C373也开始放电,当C373两端的电压低于6.9V时,Q371截止,Q372也截止,这时开关电源开始启动并正常工作,开关变压器T311的又通过D354向C364充电,C364两端电压很快升至15V,同时也向C373充电,当C373两端电压达到6.9V时,Q371导通,重复上述的步骤,形成间歇振荡。开关电源的振荡和停振时间由电容C373充、放电的时间常数决定。(叶海生)