毫伏表是一种可以测量微弱信号的交流电压表,是无线电制作中的常用仪表之一。本文介绍一款适合业余自制的毫状表,由于在电路设计上采用了运算放大器,因此具有灵敏度高、测量电压范围宽、频带宽、输入阻抗高的特点,并且制作容易、调试简单。该毫伏表的主要技术性能如下:
①测量交流电压范围:0.1mV~300V,共分11档量程,即:3、10、3O、100、300mV,1、3、10、30、100、300V档
②被测电压频率范围:20Hz~100kHz
③输入阻抗:1MΩ
④测量误差:±3%以内
一、电路原理与特点

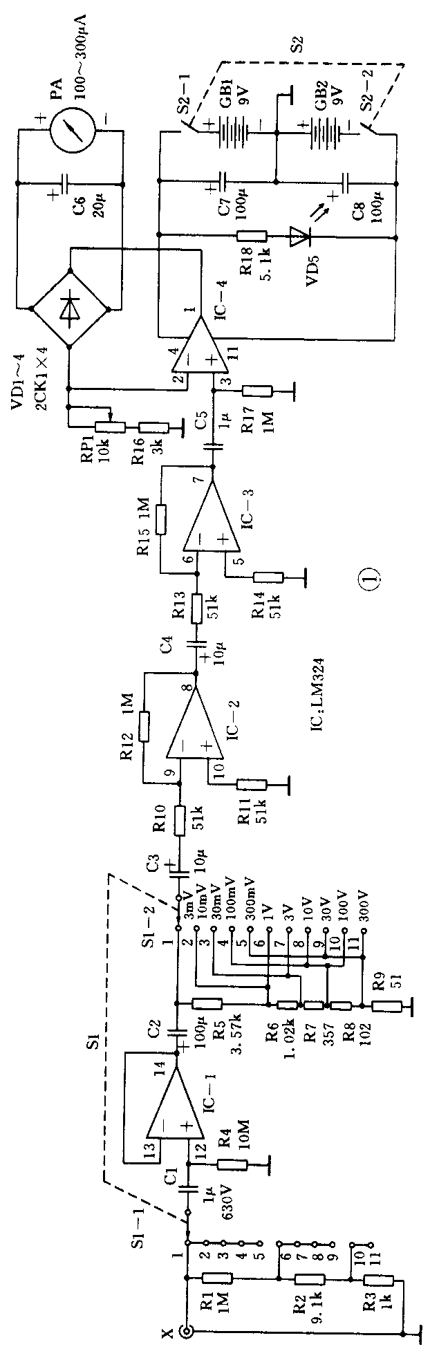
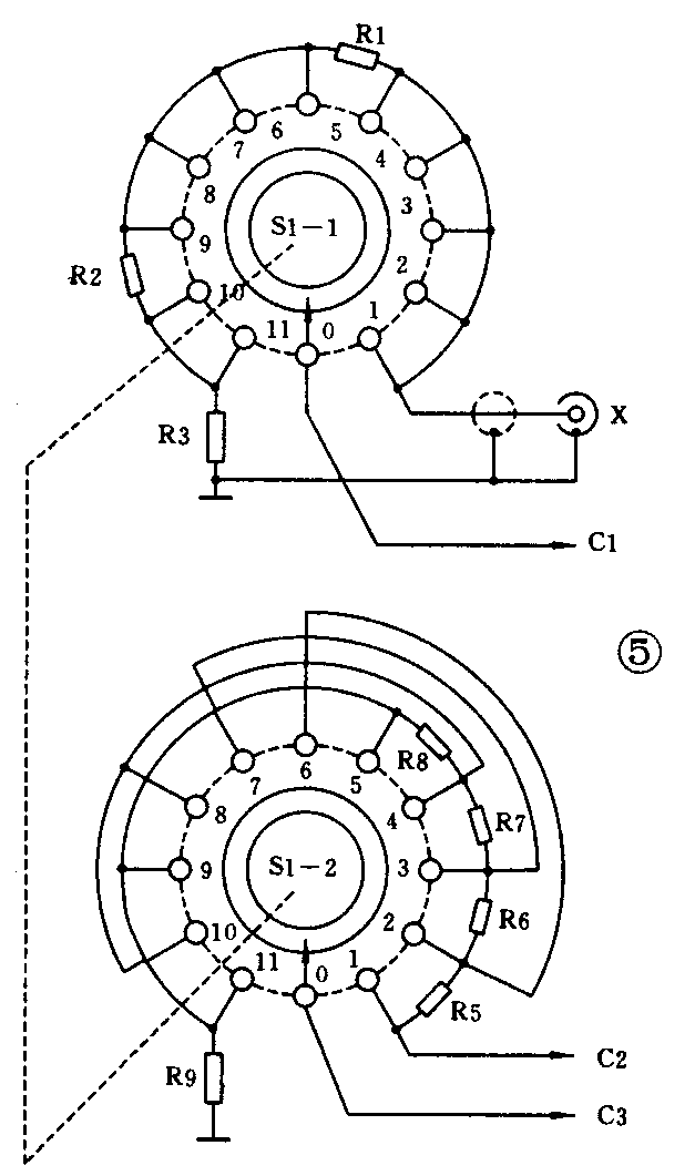
毫伏表电路图见图1,图2是其方框图。被测信号由X端输入,经分压器(1)分压得到适当范围的电压送入电压跟随器IC—1。由于集成运放电压跟随器具有输入阻抗极高、输出阻抗极低的特点,所以接上后面的分压器(2)和放大器后,仍可保证整个毫伏表具有高输入阻抗的特点。IC—1的输出信号经分压器(2)再次分压后送到放大器进行放大。S1—1与S1—2是同轴联动转换开关,分压器(1)与(2)组合分压的结果,便实现了量程转换,因此S1即为量程选择开关。

集成运放IC-2和IC—3组成两级反相输入宽频带放大器,每级电压放大倍数20倍(26dB),两级共放大400倍(52dB),这样设计的目的是为了展宽放大器的频带。放大后的信号电压送往整流指示电路。
整流指示电路包括整流器和表头。集成运放IC-4、二极管VD1~4等组成一个精密全波整流器,整流桥VD1~4接在集成运放的反馈回路中,直流微安表头PA接在整流桥的对角线上。被测电压正或负半周时,表头PA中的电流方向始终不变,为全波整流电流,其值大小仅与被测电压和电阻(R16+RP1)的阻值有关,而与反馈回路的电压无关,即表头内阻和整流二极管的非线性都不会影响测量精度,即使温度引起的二极管特性的变化也不会影响表头指示值,且表面刻度为线性均匀刻度。
二、元器件选择
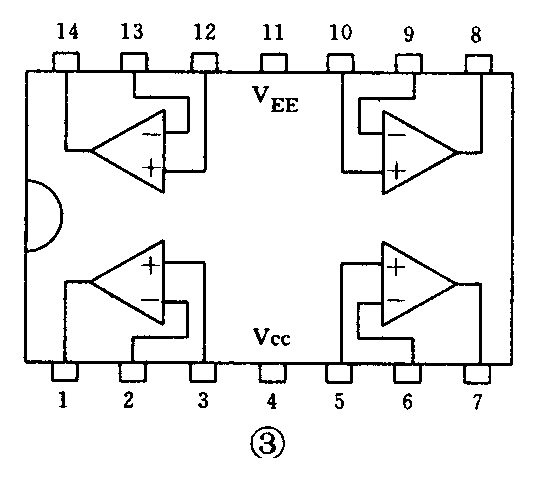
集成运算放大器IC选用LM324,这是一种常用通用型四运放电路,其引脚如图3所示。当然IC也可选用其它四运放电路,如TL084等。

表头PA选用磁电式微安表,满度电流(灵敏度)100~300μA均可,内阻不限。
整流二极管VD1~4选用2CK系列硅开关二极管。电阻全部选用1/4W以上的金属膜电阻。分压器电阻R1~R3、R5~R9要求阻值精确,否则将影响毫伏表的精度。非标称电阻可从相邻近的标称电阻中挑选。RP1为微调电阻。电容C1选用耐压≥630V的无极性聚酯电容。其它电容耐压≥35V即可。
输入插座X采用廉价的莲花插座,可降低成本,探头线亦相应地采用莲花插头。量程选择开关S1采用2刀11掷旋转式波段开关。正、负电源GB1、GB2采用2节9V叠层电池。VD5是发光二极管,作电源指示用。
三、制作与调试
1.结构特点:由于毫伏表具有很高的输入阻抗和灵敏度,极易受到干扰,因此应采取电磁屏蔽措施,包括采用金属机壳(可用铝饭盒代用)并与电路中的地相连通,探头线采用屏蔽线等,以抗干扰。分压器各电阻直接焊在量程选择开关上,减少了与印刷电路板之间的连线,且电路一点接地(机壳),避免杂散耦合。采用电池供电,消除了由交流电源线引进噪声的可能。这些措施保证了毫状表正常可靠地工作。

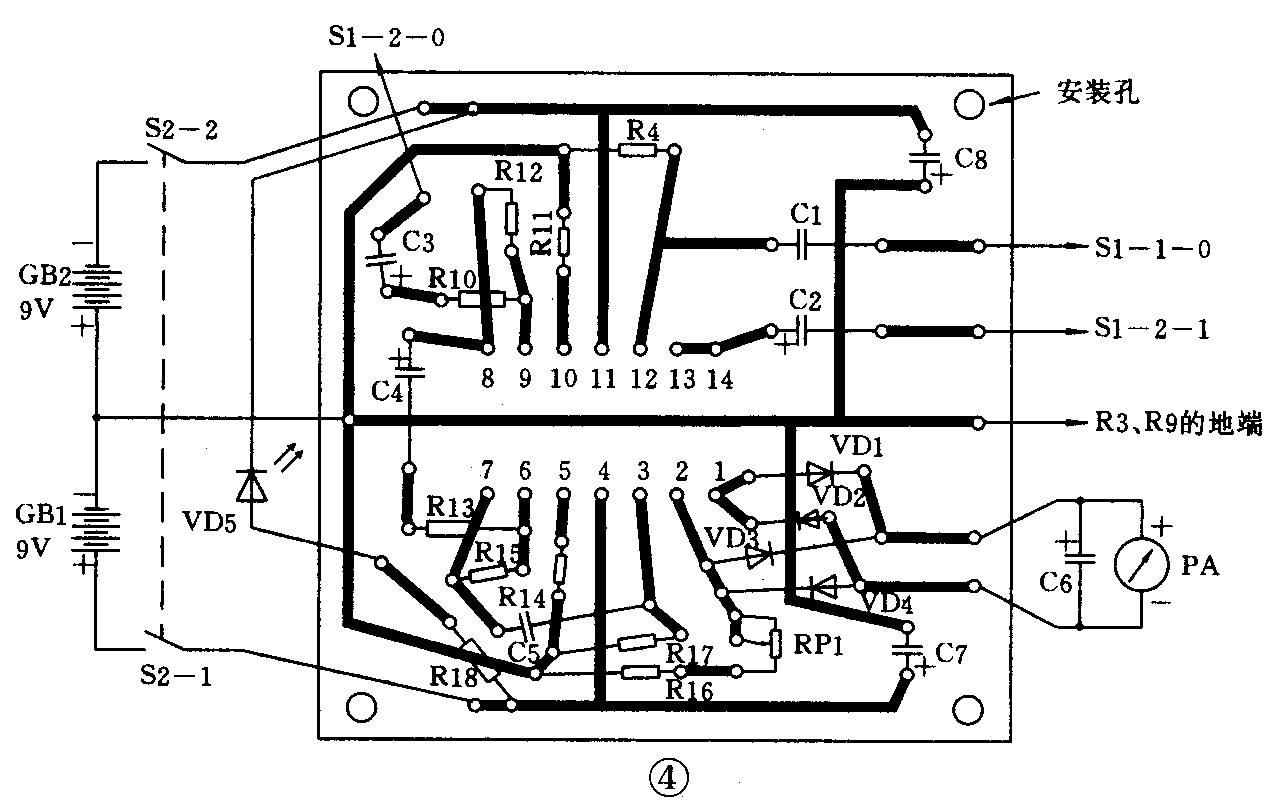
2.电路板制作:准备一块7×7(cm)的敷铜板,按图4制成印刷电路板,并打好元件引脚孔和安装孔。然后按图4将各元件焊入电路板,应先焊入其它元件,最后熄入集成运放。
3.绘制表面刻度:刻度线为两条,上面一条为0~10刻度,将刻度线等分10份,每份再等分10小格;下面一条为0~3刻度,将刻度线等分3份,每份再等分10小格(图6b)。将绘好的刻度贴在表头原刻度上即可。

4.整机组装:首先按图5将分压器各电阻焊在量程选择开关上,并将C6焊在表头引脚上。其次将量程选择开关S1、表头PA、输入插座X、电源开关S2和发光二极管VD5固定在面板(铝盒盖)上,将电路板固定在量程选择开关S1上方(图6a),应注意各元器件均要与铝盒盖绝缘,只有输入插座X的外层与铝盒盖电气连通。然后按图4、图5将全部电路连接完成,由输入插座X至量程选择开关S1的连线应采用屏蔽线。最后将面板上各档位及“输入”、“电源”等字样标好(图6b)。

5.制作探头线:取约1米长的屏蔽线,一端接上莲花插头(屏蔽层接插头外层),另一端芯线接红色鱼夹、屏蔽层接黑色鱼夹,如图7所示。

6.调试:整机电路对照图1核对无误后,装上电池,探头线插入输入插座X,微调电阻RP1旋至阻值最大位置。首先将输入端短路(红、黑鱼夹相接),打开电源开关,表头指针摆动数次后应指“0”(刻度最左边)。如不为“0”,则可能电路自激,可用一小容量电容从前往后依次接到运放输出端与地之间,以检测并消除自激。该电容容量一般为100p~0.lμ,应尽可能用小容量的。然后用信号发生器经探头线向输入端送入3mV的交流信号(一般取f= 1kHz),量程选择开关S1置“3mV”档,调节RP1使表头指针满度(指向刻度最右边)即可。如无信号发生器,可用一小电源变压器,初级接220V交流电源,次级电压即可作为调试信号送入输入端,用标准毫伏表(也可用万用表,但精度较低)测出次级交流电压值(例如6V),则将量程选择开关S1置“10V”档,调节RP1使表头读数为“6”即可。
由于调试时机壳必须打开,因此调试场所应远离各种干扰源。调试结束盖上机壳后应再校验一下,如表头读数变化应重调。调试与使用中应注意,不要用该毫伏表直接测量220V市电,因机·壳·带·电·!以免发生危险。(莫恩)