《无线电》杂志1994年第7期向大家介绍了一种汉语拼音学习机,该机适合个人使用,利用MSS2801还可以做成黑板式,供教学使用。为了使读者更了解它,现介绍如下。
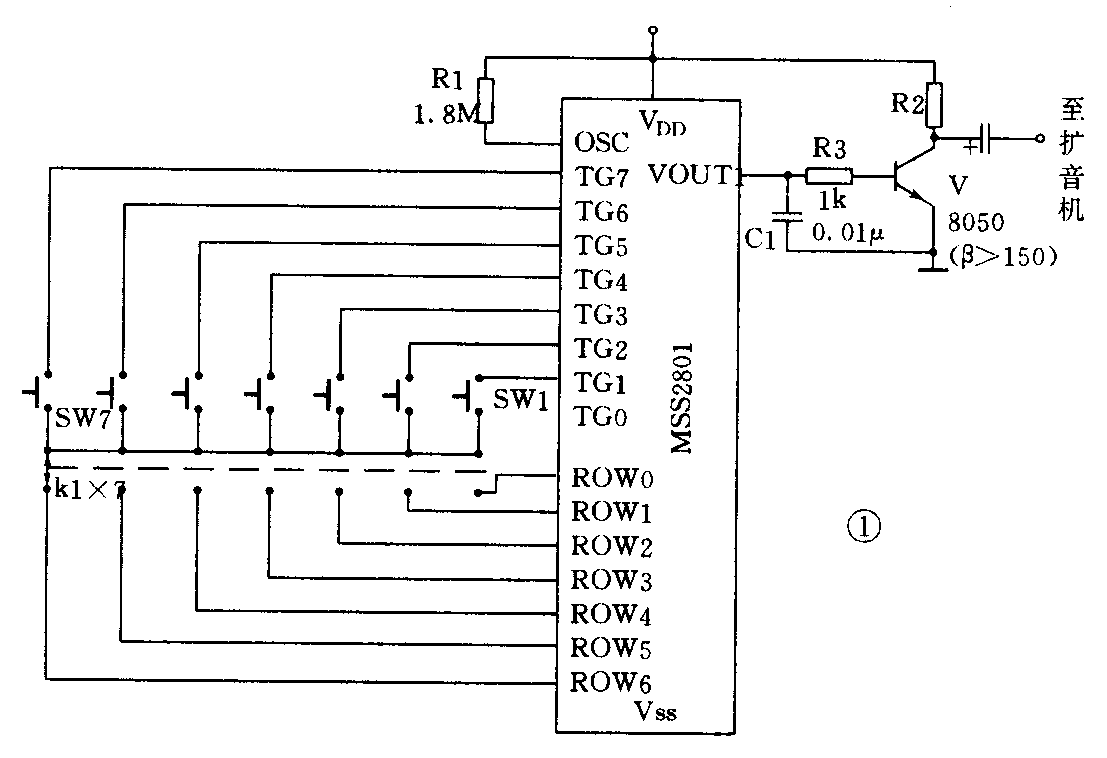
MSS2801语音芯片内部存有28秒时间固化语音,改接其线路即能安装教学黑板,改接线路见图1。变化外观形式,调整输出音量,把47个开关接地端线路通过1×7开关控制,加上一套扩音装置,便成了一套可供课堂使用的“学拼音教学板”。见图2。


教学黑板大体上由外壳、显示板、传感开关、扩音装置、教鞭体杆等组成。外壳的制作使用木质材料为好,应能够容下扩音装置、显示板、电子组件,适合吊在墙壁上。显示板,由七块显示47个汉语拼音不同字母的塑料板组成,可以根据需要反复更换。传感开关,通过显示板转换开关控制,教学时反复读出47个拼音字母读音。扩音部分解决在教室里得到适当的音量。教鞭杆安装一个磁性头,参看图3,用以控制七个开关。

工作原理
当教师手持教鞭杆授课时,教鞭杆磁性头指到哪个拼音字母,传感开关即接通触发芯片内部微处理器。通过VOUT1端输出字母读音,推动扩音装置放大发音。在教室内呈现音字合一,生动形象的感觉,使学生被动学习变为主动学习,寓教育于娱乐之中。有关MSS2801工作原理参看1994年无线电第7期《汉语拼音学习机》一文。
制作与调试
1.首先做一个能吊在教室里类似小黑板样式的长方体木箱(参照图2),能容下扩音装置、芯片装置及传感器件。2.制作显示板的材料塑料板三合板均可,由七块组成,每块七个拼音字母,在外壳中间能够随意起落。3.七位传感开关设在显示板字母下方壳内,字母与传感开关要对应。4.教鞭杆用木质材料或电视机拉杆天线代替,杆头上安上一个圆形永久磁铁。根据图1的线路图,只要焊接无误,不需要调试即能成功。
邮购消息: MSS2801汉语拼音芯片,39元/片,整机68元/台,邮费每次3元。学拼音电子黑板370元/台,邮费30元,款到发货。地址:河北献县微电子厂郭祖臣收,邮编062250,电话:(0343)623014。(郭祖臣)