在电子电路中,使用着各种各样的开关,通过它们来完成电路的接通或断开。在这些开关中,有一类开关,由于它所具有的特殊功能,被广泛应用于自动控制系统中。它就是接近开关。
什么是接近开关?
在这类开关中,装有一种对接近它的物体有“感知”能力的元件——位移传感器。利用位移传感器对接近物体的敏感特性达到控制开关通或断的目的,这就是接近开关,它的示意图见图1。

当有物体移向接近开关,并接近到一定距离时,位移传感器才有“感知”,开关才会动作。通常把这个距离叫“检出距离”。不同的接近开关检出距离也不同。例如检出距离为2mm、10mm等。
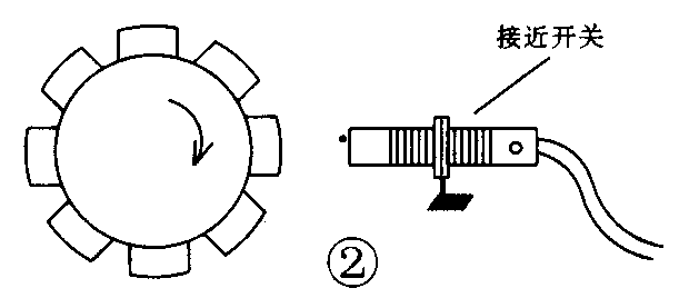
有时被检测的物体是按一定的时间间隔,一个接一个地移向接近开关,又一个一个地离开,这样不断地重复。例如传送带上的被检测物或旋转齿轮上的齿,见图2。不同的接近开关,对检测对象的响应能力是不同的。这种响应特性被称为“响应频率”。例如响应频率为600Hz、1kHz等。在检测高速运行或高速旋转的对象时,应选用响应频率高的接近开关。

接近开关是有源器件,它需要接通电源才能工作。有的要求直流供电,例如:10V~30VDC,负载电流:0~200mA。有的要求交流供电,例如:24~240VAC,负载电流为5~300mA。也有交直流两用的。
由于接近开关使用的工作环境不同,其外形和外壳的材质也不同。一般有圆柱形和立方体形两种,见图3,外壳有金属的也有塑料的。

接近开关有哪几种?
因为位移传感器可以根据不同的原理和不同的方法做成,而不同的位移传感器对物体的“感知”方法也不同,所以常见的接近开关有以下几种:
1.涡流式接近开关
这种开关有时也叫电感式接近开关。它是利用导电物体在接近这个能产生电磁场的接近开关时,使物体内部产生涡流。这个涡流反作用到接近开关,使开关内部电路的参数发生变化,由此识别出有无导电物体移近,进而控制开关的通或断。这种接近开关所能检测的物体必须是导电体。
2.电容式接近开关
这种开关的测量头通常是构成电容器的一个极板,而另一个极板是开关的外壳。这个外壳在测量过程中通常是接地或与设备的机壳相连接。当有物体移向接近开关时,不论它是否导体,由于它的接近,总要使电容的介电常数发生变化,从而使电容量发生变化,使得和测量头相连的电路状态也随之发生变化,由此便可控制开关的接通或断开。这种接近开关检测的对象,不限于导体,可以是绝缘的液体或粉状物等。
3.霍尔接近开关
霍尔元件是一种磁敏传感元件。利用霍尔元件做成的开关,叫做霍尔开关。当磁性物体移近霍尔开关时,开关检测面上的霍尔元件因产生霍尔效应而使开关内部电路状态发生变化,由此识别出附近有磁性物体存在,进而控制开关的通或断。这种接近开关的检测对象必须是磁性物体。
4.光电式接近开关
利用光电效应做成的开关叫光电开关。将发光器件与光电器件按一定方向装在同一个检测头内,见图4。当有反光面(被检测物体)接近时,光电器件接收到反射光后便有信号输出,由此便可“感知”有物体接近。

5.热释电式接近开关
用能感知温度变化的元件做成的开关叫热释电式接近开关。这种开关是将热释电器件安装在开关的检测面上,当有与环境温度不同的物体接近时,热释电器件的输出便发生变化,由此便可检测出有物体接近。
6.其它型式的接近开关
当观察者或系统对波源的距离发生改变时,接收到的波的频率会发生偏移,这种现象称为多普勒效应。声纳和雷达就是利用这个效应的原理制成的。利用多普勒效应可制成超声波接近开关、微波接近开关等。当有物体移近时,接近开关接收到的反射信号会产生多普勒频移,由此可以识别出有无物体接近。
接近开关的用途
接近开关在航空、航海、航天技术以及工业生产中都有广泛的应用。在日常生活中,如宾馆、饭店、车库的自动门,自动热风机上都有应用。在安全防盗方面,如资料、档案、财会、金融、博物馆、金库等重地,通常都装有由各种接近开关组成的防盗装置。在测量技术中,如长度、位置的测量;在控制技术中,如位移、速度、加速度的测量和控制,也都使用着大量的接近开关。

下面举一个在工业生产中测量产品长度的例子。如在生产过程中需要测量漆包线、钢丝、棉纱、布匹等的长度时,都可用这个方法。如图5所示。图中测长辊G与齿形盘P同轴,接近开关P.S置于齿形盘旁。假设齿数为N的齿形盘每转一周,接近开关通断N次,发出N个脉冲。这时同轴的测长辊也转一圈,相当于被测物被卷过的长度为πD,D为被测长辊的直径。每个脉冲所对应和长度就是πD/N=K。如果用累加器把接近开关发出的脉冲全部记录下来,假设是M。那么被测物的总长度就是:
L=M·K
下面我们以台湾和可公司的产品为例,说明接近开关在工业控制中的应用。
图6为高速旋转齿盘的测量。这时可选TLX-08、TLX-12系列接近开关。

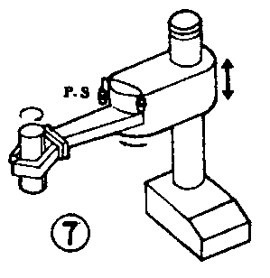
图7是机械手左右定位(或限位)控制。可选用TLX系列接近开关。

图8是生产线定位检测。可选用TLX系列、ABS系列、TL系列接近开关。

图9是生产工件加工定位控制。可选用TLX系列、ABS系列、TL系列接近开关。

图10是生产工件计数和定位检测。可选用TL-185□S、TL-124□S系列接近开关。

图11是模具合模间距控制。可选用TLX-12、TLX-18系列、TLX-08系列接近开关。

图12是在潮湿环境中生产工件的定位控制。可选用ABS系列、TLX系列接近开关。

图13是在潮湿环境中工件加工定位控制。可选用ABS系列、TLX系列接近开关。

图14是机械程序控制或非等间距齿盘控制。可选用TL-T2系列接近开关。

图15是液面、粉状面上下限检测。可选用TLK系列接近开关。

图16是包装盒内液体检测(如牛奶、饮料等)。可选用TLK系列接近开关。

图17是加工中心刀具定位及工件定位检测。可选用TLX系列接近开关。

怎样选用接近开关?
在一般的工业生产场所,通常都选用涡流式接近开关和电容式接近开关。因为这两种接近开关对环境的要求条件较低。当被测对象是导电物体或可以固定在一块金属物上的物体时,一般都选用涡流式接近开关,因为它的响应频率高、抗环境干扰性能好、应用范围广、价格较低。如台湾和可公司生产的TLX系列、XPB系列、TL系列、XPC系列、ABS系列、XPD系列、XP系列、TLC系列。若所测对象是非金属(或金属)。液位高度、粉状物高度、塑料、烟草等,则应选用电容式接近开关。这种开关的响应频率低,但稳定性好。安装时应考虑环境因素的影响。它的价格比涡流式的要高。如台湾和可公司生产的TLK系列、TK系列。若被测物为导磁材料或者为了区别和它一同运动的物体而把磁钢埋在被测物体内时,应选用霍尔接近开关,它的价格最低。
在环境条件比较好、无粉尘污染的场合,可采用光电接近开关,如在动平衡机上。光电接近开关工作时对被测对象几乎无任何影响。因此,在要求较高的传真机上,在烟草机械上都被广泛地使用。如和可公司生产的XPG系列、XPF系列光电接近开关。
在防盗系统中,自动门上通常使用热释电接近开关、超声波接近开关、微波接近开关。有时为了提高识别的可靠性,上述几种接近开关往往被复合使用。
无论选用哪种接近开关,都应注意对工作电压、负载电流、响应频率、检测距离等各项指标的要求。这些指标在产品说明书中都有较详细的介绍,在选购之前,应仔细阅读,以便选到合用的接近开关。台湾和可公司的接近开关由南京华威电信电气有限公司代理(025)2207469。(张文锦)