(莫恩)编者按 今年,我们收到不少读者的来信,希望能介绍一些简单、实用、易学、易做的小仪器,以解决学生实验,家电维修等方面的需要。为此,我们组写了一批文章,通过简述工作原理、介绍元器件的选择及如何组装,使大家从中不仅学到一些电子基础知识、装配技巧及制作经验,提高电子技术水平。而且也解决一些实际需要。
万用表是最常用的无线电测量仪器。本文介绍一种适合业余爱好者自制的万用表,其电路设计具有表头选择范围宽、测量档位多、各档位电路无需调试、表面刻度无需校准的特点,易于制作,成本低廉。
一、技术参数
1.灵敏度:直流5kΩ/V;交流2.25kΩ/V。
2.测量范围(共有20档量程):
直流电阻1、5、10、50、100、500mA共6档;
直流电压2.5、10、50、250、500、1000V共6档;
交流电压10、50、250、1000V共4档;
电阻×1、×10、×100、×1kΩ共4档,中心值分别为6Ω、60Ω、600Ω、6kΩ,适用电池电压范围1.2~1.6V。
二、电路原理
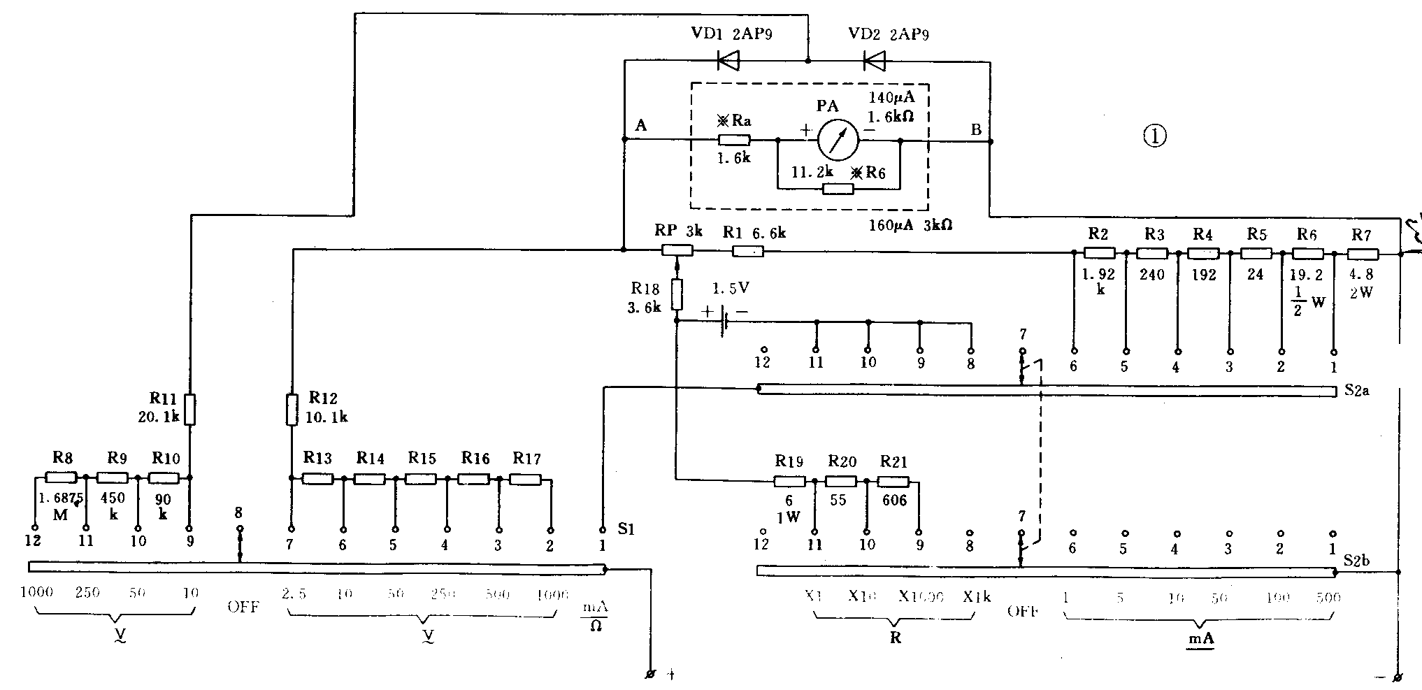
万用表电路如图1所示,由表头电路(表头PA及整定电阻Ra、Rb)、分流器(RP、R1~R7)、降压器(R12~R17或R8~R11)、整流器(VD1、VD2)、电阻测量电路(R18~R21、RP、电池)、转换开关(S1、S2)等部分组成。根据不同的测量对象,通过转换开关可以方便地组成直流电流表、直流电压表、交流电压表或欧姆表。

为了方便业余爱好者自制,本万用表的表头电路作了特殊设计。图2为表头电路,设定A、B两端间等效满度电流I'\(_{0}\)=160μA、等效内阻R'0=3kΩ,则任何满度电流I\(_{0}\)≤160μA、内阻R0≤3kΩ的装头均可使用,只需通过调节Ra、Rb使A、B两端间等效I'\(_{0}\)、R'0符合设定要求即可,而不必根据不同表头的具体参数逐一计算调整各档元件值。

三、元器件选用
1.表头PA:选用磁电式直流微安表,要求其满度电流(灵敏度)I\(_{0}\)≤160μA、内阻R0≤3kΩ。磁电式表头表面有“0符号。
2.二极管VD1、VD2:选用点接触型锗二极管2AP系列,要求其正向电阻<1kΩ、反向电阻>200kΩ(万用表测)。
3.电阻:
①R7为4.8Ω/2W,R19为6Ω/1W,此二者可选用线绕电阻(被釉电阻、水泥电阻等),也可用电阻丝自行绕制。
②其它电阻均选用金属膜电阻。除R6为\(\frac{1}{2}\)W外,其它均为1;8W即可。
所有电阻阻值必须准确符合图1要求(误差<0.5%),可用数字万用表或标准万用表测量,有条件者最好用电桥测量。电阻大多为非标称阻值,可在相近标称电阻中挑选,例如19.2Ω可从20Ω标称电阻中挑选;也可用多个电阻串并联达到要求。
4.电位器RP:最好用线绕电位器,也可用实芯电位器或碳膜电位器,阻值必须准确。
5.转换开关:S1选用单刀12掷波段开关,S2选用双刀(双层)12掷波段开关。两波段开关均拆除其限位销,使其可>360°旋转。
四、制作与调试
1.测量表头参数,主要是测量满度电流I\(_{0}\)和内阻R0,测量电路如图3(a),标准微安表可用160~300μA的。首先将电位器RP置阻值最大位置,然后接通电源,逐步减小RP,直至被测表头指针指到刻度最右边处(满度),这时标准微安表的读数即是被测表头的满度电流I\(_{0}\)。保持RP不变,用另一电位器RPx取代被测表头(图3b),调节RPx使标准微安表仍维持原来读数,则此时RPx的阻值便是被测表头的内阻R0。注意:切不可用欧姆表直接测量表头内阻,这样极易损坏表头。I\(_{0}\)与R0的测量务必准确,否则制成的万用表测量精度难以保证。

2.表头电路整定,即通过接入适当的Ra、Rb,使A、B两端间的等效I'\(_{0}\)=160μA、R'0=3kΩ(图2)。
①Rb为满度电流整定电阻,当表头I\(_{0}\)=160μA时,不用并联Rb;当I0<160μA时,则需并联Rb,Rb=I\(_{0}\)R0/(160-I\(_{0}\))(kΩ),式中:I0为表头满度电流(μA),R\(_{0}\)为表头内阻(kΩ)。
②Ra为内阻整定电阻,当表头内阻R\(_{0}\)与Rb的并联值(R0∥Rb)=R\(_{0}\)Rb/(R0+Rb)=3kΩ时,不用串联Ra;当(R\(_{0}\)∥Rb)<3kΩ时,则需串联Ra,Ra=3-(R0∥Rb),式中单位均为kΩ。
例如,笔者使用的表头I\(_{0}\)=140μA、R0=1.6kΩ,则:Rb=I\(_{0}\)R0/(160-I\(_{0}\))=140×1. 6/(160-140)=11.2(kΩ);
Ra=3(R\(_{0}\)∥Rb)=3-1.6×11.2/(1.6+11.2)=1.6(kΩ)。这时A、B两端间的等效I'0=160μA、R'\(_{0}\)=3kΩ,符合设定要求。
3.本万用表的结构特点是不用电路板,所有元件均直接焊接在表头、电位器和两个波段开关的引脚上,既简单又可靠。制作可按以下步骤进行:
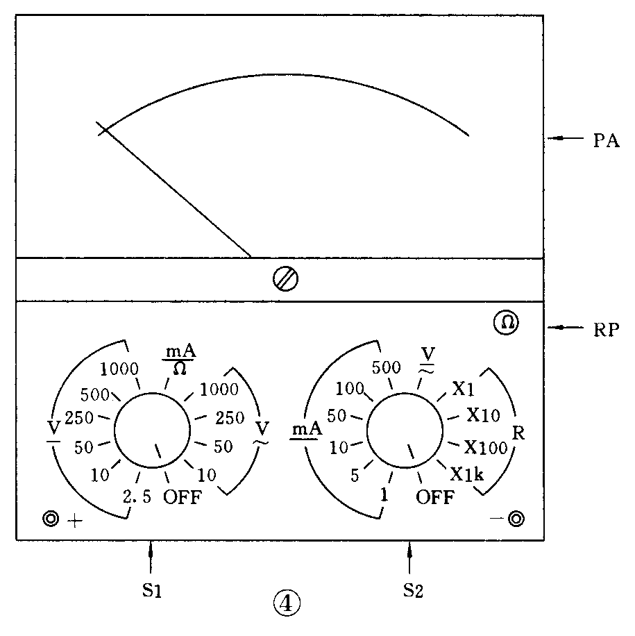
①根据表头大小选用或自制一适当大小塑料盒作为表壳,将表头、电位器和两个波段开关固定在盒盖上(图4)。

②将整定电阻Ra、Rb,整流器VD1、VD2直接焊在表头引脚上(图5);R1、R18直接焊在电位器RP的引脚上;其它所有电阻直接焊在两个波段开关的相应引脚上(图6)。


③按图1用软导线将各部分连接起来,电池盒固定在表盒内适当位置。
④将各测量档位标示在表面板上(图4)。
4.绘制表面刻度。本万用表共有两条刻度线:第一条为欧姆刻度线,第二条为电流、电压共用刻度线。绘制方法如下:
①将刻度线等分100份,左端点为0,右端点为100。
②电流、电压刻度为线性刻度,将刻度线等分标示即可。欧姆刻度为非线性刻度,各阻值在刻度线上的百分位置见附表。将绘成的刻度线粘在原表面上即可。
5.校验。将制成的万用表与标准万用表进行对比测量,如误差过大或不能正常测量,则其原因可能是:
①表头I\(_{0}\)和R0的测量不够准确;Ra与Rb的计算有误。
②二极管、表头或电池的正、负极颠倒了。
③各电阻阻值有误,例如19.2Ω错成19.2k。
④各电阻与波段开关各引脚的对应关系弄错了;连接导线接错位置。
⑤虚焊或波段开关接触不良。
附表
欧姆刻度值 相应百分位置
∞ 0
1k 0.6
500 1.2
200 2.9
100 5.7
50 10.7
40 13.0
30 16.7
25 19.4
20 23.1
15 28.6
12 33.3
10 37.5
9 40
8 42.9
7 46.2
6 50.0
5 54.5
4 60.0
3 66.7
2 75.0
1.5 80.0
1 85.7
0.5 92.3
0 100