空调启动难是困扰众多装有空调用户的一大难题。特别是旧居民区的用户这个问题尤为严重。这是因为电力线路和电力变压器的电流容量小、内阻大,而近年来家电的数量增加,家庭用电量成几倍、十几倍的增加。空调启动时电流很大,造成电压降低太多,致使长时间启动不起来,轻则缩短空调的寿命,重则烧毁压缩机。为了解决这个问题,我们设计了一个空调启动器。它可升压20V启动,如果升压后仍然达不到启动所需的电压,还可切断电源保护压缩机。如果不升压仍然高于250V,可实施超压保护切断电源。如果停电后马上来电,它可以延迟供电,以免制冷剂压力太大造成启动难。同时为了节省电能(因为自耦变压器导线粗、圈数少,空载电流大,如果空调停止运行时本机仍然工作,必然造成一定的电能浪费),采用了负载传感器,当空调运行时自动开机,停运时自动关机。经试验效果较好,介绍出来以飨读者。
电路原理
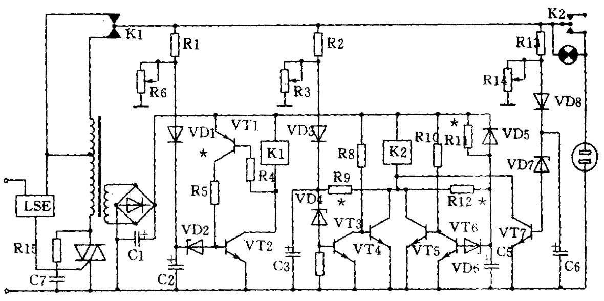
本机电路原理如下图所示。当接插在输出插座上的空调电路接通以后,负载传感器便输出一个信号,触发双向晶闸管使其导通。这时自耦变压器的电源接通,电路开始工作。K1的常闭触点和自耦变压器的升压输出端联接,以保证启动大电流产生压降后,仍有一个合适的电压。

启动以后,如果电源电压高于240V、低于260V,经R1降压、VD1整流、R6分压后的电压高于稳压管VD2的击穿电压,通过VD2给晶体管VT2提供基极电流,使其导通。接在VT2集电极上的RV1得电,K1吸合,输入输出端直通供电,使电压降至正常范围。晶体管VT1是将VT2输出的信号反相后反馈到VT2的基极,这样当VT2截止时,K1上的压降也为零,VT1截止。当VT2导通时,RV1上的压降增大VT1也导通,R5上压降增大,VT2的基极电流增大,可有效地防止继电器因回跳而产生的“振荡”现象,使继电器的吸合和释放电压有一个“回差”。调整R5可调整回差的大小。
如果直流供电电压仍高于250V,R13和R14分压,经VD8整流以后的电压能使VD7击穿,则VT7得到基极电流而导通,K2压降增大,K2吸合,负载供电切断。因为切断负载后电压会再度升高,继电器不会回跳,所以不用设正反馈电路。K2上并联一个红色指示灯。当它断开时,电压通过负载加到指示灯上,使它发光报警。这虽然使负载上仍流过一定的电流,但因灯泡的功率很小,电流亦很小,所以对负载没有损害。
如果市电经升压后仍低于190V(实际市电只有170多伏),一般的空调器启动困难,若长时间启动容易烧坏压缩机,因而设了低压保护。当电压过低时,经R2、R3分压、VD3整流后的电压不能击穿VD4,VT3便会因没有基极电流而截止,VT4就会得到基极电流而导通,使K2上的压降增大,K2吸合,指示灯亮,负载上的电压降到很低。R9是正反馈电阻,当VT4截止时,输出一个信号,通过R9反馈到VT3基极,使之导通更深,可防止继电器“振荡”。
VT5、VT6及其附属电路是停电延迟供电电路。当停电时C5上的电压通过VD5很快放掉。再来电时VD5因电压反向而截止,直流电源便通过200k电阻给C5缓慢充电,因短时间C5上的电压不能使稳压管VD6击穿,所以VT6截止造成VT5导通,K2得电,K2吸合,负载暂时供不上电。当经过4~8分钟,C5上所充的电压达到VD6的击穿电压时,VT6就因得到基极电流而导通,造成VT5截止,K2压降为零,K2释放,给负载供电。C5不变时R11越大延迟时间越长。R12和R9的作用一样,是正反馈电阻。如果考虑到停电时间较长以后再来电,已不用延时,可将一个按钮开关串联一个100Ω的电阻,再并联到R11上,当不需延时的时候,只要按一下开关,便可立即供电。
元器件的选择与制作
自耦变压器质量是制作成败的关键。如果变压器线径细,内阻大,则启动时不但不能升压,反而有可能降压。因此,线径越粗、圈数越少越好。但线径太粗又会造成成本高,体积和重量增大。圈数太少会使空载电流太大,既易发热,又浪费电能。所以我们选用了环形铁芯。由于它是将硅钢带材按压延方向卷绕而成,所以磁阻很小。由于可在圆环心上穿绕导线,所以不但每伏的匝数可大大减少,而且每匝的长度也比其它同尺寸的铁芯短,因而可大大降低电源的内阻。根据我们实验,用Φ10cm的铁芯,每伏匝数可选定为1.5圈。主绕组用Φ1mm漆包线,升压绕组选Φ1.5mm漆包线,便可取得较好的效果。次级绕组因电流很小,用Φ0.3mm的线即可。要注意匝间和层间的绝缘,防止线间击穿,否则前功尽弃。
负载传感器可选用Ⅱ系列ZAING型,其允许通过电流为12A。晶闸管选择耐压700V以上、允许电流8A以上的即可。晶体管VT2、VT4、VT5、VT7选用电流大于50mA,耐压大于40V的NPN中功率硅管。VT3、VT6要选饱和压降小于0.4V,β值大于100的NPN小功率管。VT1要选穿透电流极小,耐压大于30V的硅PNP管。稳压管选用小电流时稳压特性好的,其反向击穿特性曲线越接近直角越好。继电器选接点允许电流10A以上,线圈电压24V的中功率继电器。其余元器件无特殊要求。图中其余元件值为R1、R2、R13为82k/2W;R6、R3、R14为半可变4.7k;R8、R10、为8.2k;R15为56Ω、1W;R5、R9、R12为1MΩ;R11为200k;C1、C5为220μ/25V;C2、C3、C6为10μ/16V;C7为0.33μ/900V;VD6稳压值12V,其余均为6V。
安装调试与使用
整机安装时要将变压器远离电路板,电路板上R1、R2、R13、晶闸管等消耗功率大的元器件置于一边,R6、R3和R14三个可调电阻置于便于调整的地方,其它无特殊要求。
整机只有延迟时间、低压保护、超压保护和升压及直供转换电压4个调整项目。调整时输入端接一个能在160V至260V之间调整的自耦调压器。输出端插上一个电熨斗或一个200W的灯泡。在R1上端与地之间接一块量程为500V的交流电压表或用万用表的500V交流电压档。若没有调整范围这么大的调压器,可将普通调压器输入输出端对调,可扩大调整范围,但需注意限定调整范围,否则容易烧坏。
首先调整升压和直供转换电压,它意味着当电压低到多少时自耦变压器升压输出;输出电压升高到多少时,再转换为直接供电(即不升不降)。先调整调压器使其升压,当电压表指示到245V左右时,调整R6使K1吸合,这时电压表上的指示应为225V。这时再降低调压器的输出电压,当电压表指示到210V左右时,继电器应该释放,表上指示应为230V。225-210=15(V),这就是电路的回差,如果回差太大,则应增大R5的阻值。如回差小一些,但继电器吸合和释放都很干脆,也可不再减小R5的阻值。
再调整低压保护的临界电压,它意味着当电压低到多少时不再给空调供电。降低调压器的输出电压,当电压表指示为190V时(这时如果减去自耦变压器升高的接近20V的电压,输入端实际电压已降至170多伏),调整R3使K2吸合,这时负载上的电源被切断,红色指示灯亮。再升高电压,当电压表上指示为205V左右时,K2应释放,红灯灭,负载通电。如回差太大,再增大R9的阻值,反之减小R9的阻值。
超压保护的调整:继续升高调压器的输出电压,当电压表上的电压指示到260V时,调整R14,使VT7导通,K2吸合,红灯亮,负载断电。如升高不到240V就断电了,则应减小R14再按前述步骤调整。当然,保护电压也可调整到250V,这样虽然对空调来说安全一些,但是电压适应范围变窄了。
最后调整延迟时间:延迟时间不要求非常精确,只要在4~8分钟之内均可。测试最好有一块秒表,也可用手表代替。测量时将输入电压断开10秒左右再接通,同时开始计时。如果在5分钟左右恢复供电为最好。如果8分钟以上,应把R11的阻值变小,时间4分钟以内,则应检查R11的阻值,C5的容量和VD6的稳压值是否正确。如没问题,再增大R11的阻值。R12和前面几个正反馈电阻的调整方法一样。需要指出的是,低压保护、超压保护和停电延时共用一个继电器,它们之间相互影响,所以,在继电器不振荡的前提下,反馈电阻尽量取值大一些,以减少相互影响。
在使用中,红灯亮后,有时搞不清是什么原因,这是共用继电器造成的。区别也很简单,停电延时时间很短,超过延迟时间就是高低压保护。高低压保护的电压之差在90V左右,所以很容易从电灯或其它家电上区别是电压过高还是过低。如嫌不方便,可以分别用3个继电器,把3个触点串联起来即可。也可在3个晶体管的集电极回路中分别串入红、黄、绿不同颜色的小灯泡。注意灯泡的压降不能太大,而发光效率要高。有些空调器接上以后,不能在空调停运以后使本保护器关机。这时因为空调器压缩机制冷虽然停止了,但是其他功能仍在工作——即没有完全关机,本保护器不停是正常现象。(蔡万顺)