如今,电话用户日益广泛,电话机故障亦多种多样。笔者从维修的数台机器中,归纳出几种常见故障,作如下简要介绍。
一、振铃电路部分
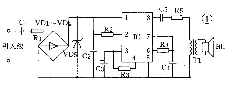
参照图1。外线振铃信号经C1、R1、VD1~VD4,在VD5与C2两端得到一个稳定的+27V电压,并加至IC电压输入脚1脚,同时经R2加至IC第2脚启动IC工作,从第8脚输出振铃信号经C5、R5、T1加至BL,使扬声器发出振铃音。其常见故障是不振铃或是振铃声小,若不振铃,则应测C2两端是否有+27V电压(在有振铃信号时),若无+27V电压,则一般是VD5或是C1、R1、C2损坏所致,若有+27V电压,一般情况下是IC损坏或是C5、R5开路。振铃声小主要是由于+27V电压偏低所致,主要检查C1、R1、C2、VD5。

二、拨号电路部分
参照图2。在摘机状态下,由于R1的偏置作用,VT1导通,使得VT2亦饱和,电流经通话电路形成回路。当拨号时,RD送出的负脉冲使VT1截止,同样,VT2亦截止,回路电流突然降低至接近零,使交换机接收到电流变化的次数,从而记下所发号码,完成拨号工作。

此部分常见故障有:拨号后仍有拨号音,这是由于VT1、VT2中存在一个C、E极间的漏电造成的,应更换VT1、VT2;摘机后无拨号音或是声音极小,号码发不出,无“咯咯”声,这一般是由于流过VT2的电流太小所致,应检查R1、R3、VT1、VT2是否开路。
三、通话电路部分
参照图3。通话部分常见的故障:一是送话声音小,一般是由于R1阻值变大,使BM工作不正常造成的,另外BM与C1本身损坏亦可能造成送话声音小。第二是有受话无送话,或者有送话无受话,一般需顺序检查回线绳,BM、BL、C1、C2及通话IC,通常情况可以修复。若是既无受话亦无送话,则应重点怀疑IC本身故障和其供电问题。第三是摘机啸叫,这是由于消侧音电路工作失常所致,若出现此故障,则应对其消侧音电路元件逐个检查,如:R3、C4、C2、C3等。

四、电源极性保护部分
电路如图4。本部分电路简单,但故障较多,主要出现在以下几个方面:

一是摘机后电话不通。造成此故障,一般是R1烧断,或是叉簧故障,VD1~VD4开路也时有发生,但R1烧坏最常见。
二是RV性能变差。导致能讲话但拨号发不出,能听得到“咯咯”声,这是由于压敏电阻RV漏电大造成的,当然不排除VD1~VD4有一只漏电。(李红)