普通电饭锅,除了做米饭之外,尚可炖肉、煮面条、煲粥、煲汤以及熬药等等。但由于其功能单一,控制电路比较简单,功率不能调节,没有定时功能等等,因此在实际使用时,明显存在着许多欠缺之处。例如,煮沸后仍继续大火炖煮,将造成锅内汤液外溢。这一方面会大量浪费电能,另一方面又容易损坏电饭锅。尤其是对一些双职工家庭,如能在需要的时候自动开启电饭锅,而又能在工作一定时间后自动关闭电源,并且在需要的时候使电饭锅自动转入弱功率加热,这无疑将给使用者带来极大的方便。目前新型的全自动电饭锅虽具有上述功能,但一般售价较高。
本文所介绍的“多功能电饭锅自动控制器”可使目前社会上已经拥有的大量普通型电饭锅增加上述自动功能,使其实际使用性能得以提高,给使用者带来极大的方便。而同时又是一种性能较好的电子闹钟,具有较低的售价及较高的实际使用价值,具有一定的推广意义。
一、主要功能
1.电子钟表。干电池供电,不受市电停电的影响,可清晰显示月、日、时、分、秒等内容。
2.电子闹钟。闹时可在24小时内任意设置,闹声清晰响亮,克服了一般电子表闹声太小的缺点。
3.具有手动开、关机,手动强、弱功率控制功能。
4.具有自动开、关机功能。定时开机时间可在24小时内任意设置;关机时间可在自动开机后10~90分钟内任意设定。
5.具有自动定时开机后强功率工作一定时间(该时间可在10~90分钟内任意选择)后,自动转入弱功率工作的功能。
6.弱功率工作状态下功率可无级调整。
7.工作状态可由LED显示。
二、工作原理
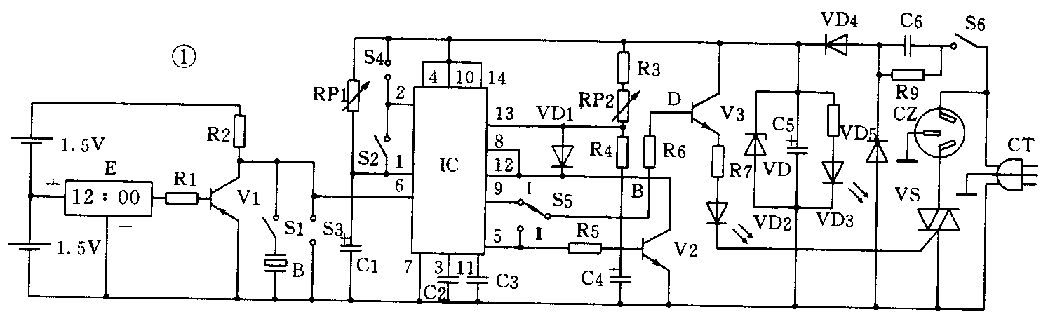
整机工作原理图如图1所示。

其各控制功能键钮的功能如下:
S1—闹铃开关,ON—闹响。
S2—自动/手动转换开关,ON—自动;OFF—手动。
S3—手动开。
S4—手动关。
S5—工作状态选择。Ⅰ—强、弱功率控制状态;Ⅱ—开、关控制状态。
S6—交流电源开关。
RP1—工作时间设置。
RP2—功率强弱设置。
VD2—工作显示。
VD3—交流电源指示。
整机电路可分为电源单元、定时单元、逻辑控制单元以及功率驱动单元四部分。现分别简述如下:
电源单元可分为直流供电及交流供电两部分。直流供电由两节1.5V干电池组成,其中一节供电子表电路工作,两节串联后共同为蜂鸣器电路提供工作电源;交流供电电路采用比较经济的电容降压、半波整流、电容滤波的二极管稳压电路。提供约12V左右的直流电压,为逻辑控制单元和功率驱动单元提供一个工作电压。
定时单元采用普通带闹响输出的多功能电子表,将其闹响信号AL取出作为定时信号,经三极管V1放大后推动蜂鸣片B发出闹响,或是为逻辑控制单元提供定时信号。
逻辑控制单元是本机的核心,该机的一些主要功能均由该部分电路实现。该单元主要由一片双时基集成电路及其它一些元器件构成。由于双时基电路是由2只完全相同且相互独立的单时基电路组成,这就为电路的设计提供了极大的方便。
在本电路中,以一片时基电路为主构成无稳态电路,产生脉冲宽度可调的脉冲波信号;而以另一片时基电路为主构成相对于无稳态电路独立的单稳态(自动控制状态)或双稳态(手动控制状态)电路。再辅以其它元器件从而实现整机的自动控制功能。
在自动控制状态,时基电路接成脉冲型单稳电路。此时S2开关接通,相当于IC的第1、2脚(即TH1与DIS1端)短接,并接入由RP1和C1构成的定时单元,而IC的第6脚(即TR1-端)接V1的集电极。这样,平时第6脚为高电平,其单稳电路的输出端第5脚为低电平,而每当定时信号(取自闹表的AL端)来到时(负脉冲有效),即触发电路翻转进入暂稳态,第5脚变为高电平。经过一段时间后,当C1上的电压充到大于2/3V\(_{DD}\)(此时闹响脉冲早已消失,一般闹响时间持续30~60s)时,其输出又变为低电平。
在手动状态,由于开关S2断开,相当于IC的第1、2脚开路;而其DIS1端未参与电路工作,从而构成一个R—S触发器型双稳态电路。由开关S3与其第6脚构成启动电路,而由开关S4及第2脚构成关机电路。这样在接通电源瞬间,由于IC第6脚通过电阻R2接电源正极,故其输出端必为低电平并保持这种状态。而每按一次开关S3,电路就翻转一次,其输出端将变为高电平;而每按一次开关S4,电路状态又翻转一次,输出端又变为低电平,从而实现任意手动开关控制。而开机与关机的时间均不受RC定时单元的影响,完全取决于手动控制的状态。
由另一时基电路构成的无稳态电路,是一种典型的方波发生器电路,由于在其定时电阻R4上并联有二极管VD1,并且设置了电位器RP2,因此在其输出端可以得到占空比可调的脉冲波,而其振荡周期由R3、R4、RP2以及C4决定。通过调节RP2就可以方便地得到不同的占空比输出。
功率驱动单元由晶体管V3及双向可控硅VS等构成一个无触点开关电路。由前面的逻辑控制电路驱动,实现被控电器自动工作在强功率、可调功率或者关机状态。
下面就其控制过程加以简述:
如工作在手动状态;S2断开,定时电路不介入工作。接通电源后,A点为低电平。此时如S5置于Ⅱ档位置,则D点也为低电平,V3截止,VS不导通,电器无电。如按一下S3,A点变为高电平,V3导通,VS也导通,电器全功率工作并且一直维持这种状态不变。只有再按一下S4,A点才又变为低电平,V3又截止,电器断电并继续保持这种状态。这就是本机强功率开、关工作状态。
如将S5置于Ⅰ档位置,则当手动按下S3时A点为高电平,V2导通,B点为低电平,使无稳态电路处于锁定状态,其输出端第9脚为高电平、V3导通,VS导通,电器强功率工作;而当手动按下S4使A点为低电平时,V2截止,无稳态电路解除锁定开始工作,C点输出为一串占空比可调的脉冲波,使VS处于开关状态,从而使电器的平均功率减小。调节RP2,可改变VS导通与截止的比率,从而达到调节电器功率的目的。
如合上S2,则电路工作在自动控制状态。由于IC的第6脚通过R2接电源正极,所以单稳态电路一直处于稳态,其输出端第5脚为低电平,V3截止,VS也截止。而在电子表的定闹信号到来后,其脉冲负沿使电路翻转,电路处于暂稳态。A点为高电平,VS导通。经过一段延时,电路又回到稳态,VS关断。调节RP1可以控制延时时间的长短,从而达到控制电器定时开机后又定时关机之目的。
在自动控制工作状态,如将S5置于Ⅱ档,则电路可控制电器实现定时开机(全功率工作),工作一段时间后(该时间由RP1调走)自动关机;如将S5置于Ⅰ档,则电路可控制电器实现定时开机(全功率工作),工作一段时间后(该时间仍由RP1调定)转入弱功率工作(功率的大小由RP2调定)。
三、元器件的选用
本机所用元器件一般无特殊要求。电子表原则上可采用任何带定时闹响功能的多功能表或多功能体育挂表等改制。考虑到显示的清晰及整机外观的协调,本机采用一种大屏幕显示的多功能电子表。由于电子表中时间的调校及闹时的设置均已有键钮可供操作,因此本机不再另设操作键钮而直接采用原电子表上的。蜂鸣片可选用ψ27mm或更大直径的,为了放音的宏亮,应加适当的助声腔。时基电路采用NE556或LM556等双时基电路。晶体管V1、V2可选用3DG类管子,V3选用9018,除V1管β值应大于100外,V2、V3管β值≥60即可,当然各管也可全部选用9013管。除电容器C6应选用耐压大于400V的油浸电容或涤纶电容外,其它电解电容耐压大于16V即可。电位器RP1和RP2可根据壳体情况选用。双向可控硅VS可根据被控电器功率的大小选用。本电路选用20A/600V的一种,可控功率达1kW以上,但应加装合适的散热器。S3及S4可选用轻触式按键开关。其它阻容元件无特殊要求。
四、安装与调试
本机调试较为简单,一般如安装无误,都能正常工作。时基电路556内装两只同样的单时基电路,使用同一般单时基电路,无什么特殊要求。图2所示为其各引脚排列及功能说明,供参考。

RP1及C1构成工作时间定时单元。由于C1为大容量电解电容,使用时应选用漏电较小质量较好的。如果不需要太长的工作时间,可考虑适当减小RP1或C1的值。C4决定了无稳态电路的工作频率,调试中如觉得其振荡频率不合适,可酌情增减C4的值。
该电路的工作特点,是使双向可控硅工作在开关状态,这样设计一方面可减小功率器件的管耗,另一方面也可减小由于可控硅器件工作在调压状态对其它电器所形成的射频干扰。因此如有条件,调试时可借助示波器观察负载两端的电压波形应是完整的正弦波,否则可适当减小R6的值,使VS充分导通。
图3为电路外形图,可供制作时参考。

五、使用
1.电子钟表:
作为电子钟表使用时,只需将S1合上,并且将交流电源开关S6断开。由于该部分电路使用干电池供电,因此不受市电停电的影响,其时间的调校及闹鸣的设置仍选用原电子表上的键钮。由于对闹响信号进行了放大并加了助产腔,因此闹鸣声远较一般电子表为大,作为一个常闹响的电子钟是非常实用的。
2.电饭锅自动控制器:
使用时,接通S6,将电子表的闹响调到需要开启电饭锅的时间,然后断开S1,合上S2。如果需要在电饭锅工作一段时间后切断电源,可将S5置于Ⅱ档;如需在电饭锅强功率工作一段时间后转入弱功率工作,则可将S5置于Ⅰ档。这样当用电饭锅煮稀饭或肉汤时,在锅开后(至于多长时间可以开锅可事先经试验将RP1调定在合适的位置)将自动转入弱功率工作状态(功率多大可保证继续沸腾而汤液又不外溢,也可事先经试验由RP2调定)。由此将可免除用电饭锅煮汤外溢之忧,扩大电饭锅的使用功能并大大节约电能,从而实现定时开机及关机或自动转入调功率状态。并且可由VD2的显示中直接观察到电器的工作状态:灯灭表示电器断电;灯常亮表示电器全功率工作;灯不断闪烁则表明电器处于调功率状态,且灯亮与灯暗时间之比越大,电器输出的功率就越大。(孙瑛 毛楠)