计算机中的电解电容器漏电,往往使计算机内的数据保护电池在很短的时间内泄放殆尽,使计算机中保存的数据丢失,有些较严重的漏电流还会使电子设备内部短路,从而使设备内部的一些元、器件损毁,因此了解和掌握电解电容器的漏电流对生产厂家和电子爱好者都非常重要。
为了使大家能有一个既简单可行又经济的漏电流测试方法,本文特向大家介绍一种制作简单的电解电容器漏电流测试表的制作方法,它按电解电容器的耐压等级分成6V、10V、16V、25V四档(如有特殊需要还可扩充至较多的档数),分别用于测试不同耐压等级的电容器的漏电流。
工作原理
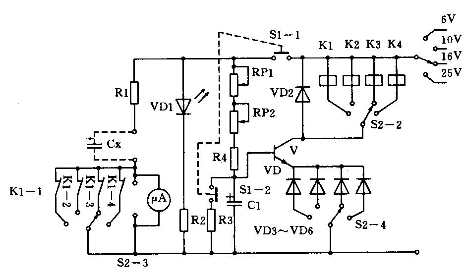
该测试仪表的工作原理如下图所示。其电路由测试电路,指示电路和控制电路三部分组成。图中限流电阻R1、待测电解电容器Cx、控制继电器K1、K2、K3、K4的常闭触点、电解电容器的耐压等级旋钮K2-3、以及测试微安电流表组成测试电路;发光二极管VD1、限流电阻R2组成测试指示电路;时间粗调电位器RP1、时间细调电位器RP2、偏置电阻R4、测试双联按键S1、泄放电阻R3、时间电容器C1、三极管VT、续流二极管VD2、控制继电器K1、K2、K3、K4、电解电容器耐压等级转换开关S2-2、S2-4、稳压二极管VD1、VD2、VD3、VD4组成测试仪表控制电路。当需要测试某一批电解电容器的漏电流时(假设此时测试的一批电解电容器的参数为100μF/16V),可先将16V的外接电源接到16V电源进线端上,然后转动耐压等级转换旋钮使之指向16V耐压等级档,再将待测试的电解电容器Cx插入孔A、B里,按下按键使K1—1闭合,S1-2断开,这时测试指示电路的发光二极管VD1亮,表示按键工作正常,此时电源分别给测试回路的待测电容器Cx和测试控制回路的时间电容C1充电,其充电路径分别是限流电阻R1、待测电容器Cx、控制继电器K3(K2、K4、K1)的常闭触点、电容器耐压等级旋钮的S2-3和控制回路的时间粗调电位器RP1、时间细调电位器RP2、偏置电阻R4、时间电容器C1两条路径。经过一段时间后,待测电解电容器Cx两端的端电压达到稳态值(此例为16V),调节时间粗调旋钮和细调旋钮RP1、RP2,使时间电容器C1经过与待测电容器Cx达到稳态值相同的时间时的电压为:

V\(_{C1}\)=VBE+V\(_{DW3}\)(16时为6.7V),则三极管T导通,控制继电器K3(或K1、K2、K4中的一个)与之相对应的线圈得电,其K3的常闭触点断开,这时流过微安表的电流就是待测电解电容器Cx的漏电流。测试完毕,将按键松开,这时S1—1断开,S1-2闭合,抽出已测试完毕的电解电容器Cx,再插入新的待测的电解电容器Cx进行新的测试。
按键S1—2的闭合将测试控制回路的时间电解电容器C1上充的电泄放掉,以便下一个待测元件测试时的计时准确。
当所测试的电解电容器是一批参数相同的电容器时,时间粗调电位器RP1和细调电位器RP2经一次调整好后,可不必每次调整。
元器件的选择
电路中的元、器件均是常见的普通元、器件,其测试回路的电阻R1选取100Ω电阻,微安表选取量程为5μA的微安表(没有5μA的微安表可选用有50μA档的万用表代替)、延时时间粗调电位器RP1选330k的电位器、延时时间细调电位器RP2选用51k的电位器、电阻R4取100k电阻,泄放电阻R3取100Ω电阻,时间电容器C1选取100μF/50V的电解电容器;三极管选用NPN型9013晶体三极管,续流二极管VD2选取FR107二极管,稳压二极管VD3、VD4、VD5、VD6分别选取3.2V、4.2V、6V、12V稳压值的稳压管,控制继电器K1、K2、K3、K4分别选取线圈电压为3V、6V、9V、12V的带有常闭触点且触点电流不小于0.5A的超小型继电器(如4100等),发光二极管VD1选取ψ5的发绿光二极管,其限流电阻R2一般取1~2k;电压等级转换开关选用带四刀四掷的转换开关;测试按键选用有动开、动闭触点的双联按键。(袁宗新)