电开水器正逐步替代传统的燃煤茶炉进入机关、商店、旅店、学校和厂矿等单位。它除了具有卫生和方便等特点之外,还兼有占地少和易于实现自动控制等优点。
然而,目前电开水器普遍存在技术问题有待解决。在结构上,它只有一个容室,不分生水和开水。开水从下部水龙头放出,生水从上面补充。受加热元件功率大小的限制,如果补充水量大于加热元件所能加热到沸腾程度的量,那么,水温会持续下降。以加热元件功率为6千瓦的开水器为例,平均每两分钟可产开水一瓶(5磅),水龙头放水速度为每分钟一瓶,那么,当第一瓶水放出以后,由于生水的补充使水温下降,要想再放出一瓶水就不得不等待一分钟,使用起来很不方便。
为了解决上述问题,应该在开水器内部增加一个沸腾腔和一个生水室,从而在结构上将生水和开水分开,其结构见图1。图中:1—开水室,存放开水的地方;2—沸腾腔,负责生产开水;3—生水室,自来水由此进入开水器;4—连通管,将沸腾腔与生水室连起来;5—加热元件。

由图可见,改进后的开水器比原设计增加了一个生水室和一个沸腾腔。由于生水室与沸腾腔通过连通管连通,所以,两者的水位相同。水位高度通过水位控制阀门控制在距沸腾腔上沿1~2厘米处,以使沸腾腔内的水在未受热时不会溢出。当加热元件通电加热时,由于沸腾腔中的水不断受热膨胀,水位不断上升。当水温达到沸点时,水位涨到上沿口。随着加热过程的继续,开水从沸腾腔上沿溢出,滚入开水室,使得沸腾腔底部的压强下降,低于生水产生的压强(生水水位由进水阀门控制,不受沸腾腔中水位变化的影响)。由于这一不平衡压差的存在,生水室中的水会通过连通管流入沸腾腔,形成制水过程的动态平衡。
随着补充的水不断吸收热量和滚出的水不断带走热量,沸腾腔中的水温会有所下降,水位也会下降。可见,制水过程是有间歇的。间歇期内,沸腾腔内的水再次受热膨胀,又会有一部分滚入开水室,制水过程进入下一周期。如此循环往复,实现开水器内生水和开水互不混淆的目的。
为了充分利用水的体积受热膨胀的特性,使水在沸点温度下流出沸腾腔,我们将沸腾腔设计成图1所示的收口结构。距它的顶端1厘米处的容积大约为整个沸腾腔容积的0.3%,近似等于水的视体积膨胀率与水加热前后的温差之积,用公式表示为:△V/V0≈β'(tb-t0),式中△V/V0=0.30%,t0—环境温度;tb—沸点;β'—膨胀系数。初始水位的制定是依据沸腾腔产水期和非产水期对水位的要求而预先调定的。
制造时应尽量将沸腾腔和生水室设计得小一些,以便为开水室留下更多的空间。随着制水过程的进行,开水室中的水位越来越高,当水位上升到上限位置时,水位控制电路切断加热电源,水位不再上升,此时开水器处于保温状态。
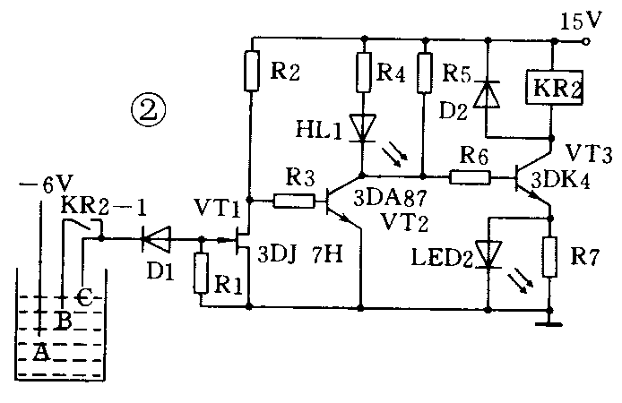
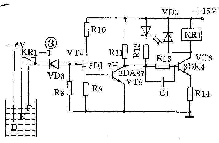
图2和图3为两个水位控制电路。为了防止阳极溶解,控制电极采用不锈钢丝或钼丝,且通过电极的电流限制在10μA之内。继电器KR1和KR2的型号是JRX—13F,工作电流为40mA。场效应管3DJ7H的夹断电压VP<±9V。在图2中,当水位低于A点时,场效应管VT1处于低阻状态,VT2截止,VT3饱和导通,KR2吸合,加热元件通电加热,同时HL2亮;在水位上升到C点以前这种状态一直保持着。当水位上升到C点时,VT1呈高阻状态,VT2饱和导通,开关管VT3截止,KR2线圈断电,HL2不亮,HL1亮,加热元件停止加热,转而进入保温状态。图3所示线路图是断水保护线路图,能在自来水停水或欠压情况下切断开水器的供电电源。其工作原理是:正常情况下,水位超过F点,VT4栅极电位为-6V,漏、源极间呈高阻状态,源极电位为零,因而VT5截止,VT6饱和导通,继电器KR1吸合,HL3不亮;出现断水时,水位下降至E点以下,VT4栅极电位接近于零,呈低阻状态,源极S呈高电位,VT5饱和导通,VT6截止,KR1不吸合,HL3亮,表示“断水”,同时KR1的常开触点切断整机加热电源,实现“断水保护”功能。



