CD机的迅速普及,对功放提出了更高的要求。诚然,市面上有不少优秀的功放出售,但价格非我们工薪族所能问津。对于那些不打算花许多钱却又想欣赏靓声的朋友,我相信下面所述的简洁的合并式扩大机定能获得你的青睐。
现在有不少性能很好的分立功放板面世,而调试复杂、配对烦琐,刚入门的发烧初哥很难制作,电子管合并式扩大机的出现可以弥补CD机的冷硬感,但它的价格,制作的难度却又远离大多数发烧友的水平。那么在这种情况下该怎么办呢?
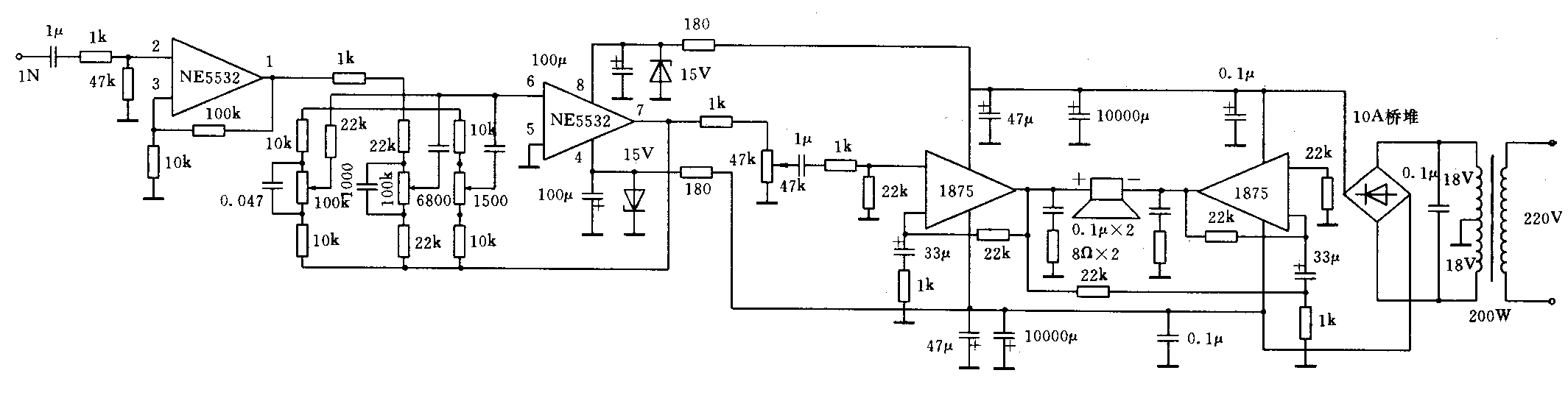
本文所要介绍的就是采用运放之皇NE5532和LM1875制作的70W×2合并式扩大机。
LM1875是现在各种功率放大集成块中音色较诱人的品种之一。它具有额定输出功率高瞬态互调失真小,输出漂移电压低,而且内部保护功能十分完善,这点为业余装机提供了方便和质量的可靠。与其花大钱吃补品,不如自己动手制作。
有不少发烧友尤其是初级发烧友往往对功放追求过多的功能,加混响环绕等之类,如果花费同样的成本,必然是功能多的音色指标降低。因此,本着简洁为上的原则,本合并式功放只具有放音功能。按照上述思路,这台合并式扩大机仅具有三段音调控制音量调节功能,试听表明,本功放高音纤细,层次分明,有开放感;中音明亮,清晰自然;低音醇厚,震撼力强。尤其值得一提的是,本机的低音控制效果,超过某些所谓的超低音附加板。
LM1875的转换速率为8V/μs左右,听起来颇有点讨人喜欢的电子管放大器的温暖风味,而运放之皇NE5532在这里的运用,更进一步弥补了CD唱机的冷硬感。
电路详解:附图是前置放大电路、功率放大和电源部分的电原理图。前级放大采用了二级运放之皇NE5532构成,第一级为同相10倍前置放大器,又称线路放大器,它具有较高的输入阻抗和极低的输出阻抗,用于隔离后级,避免负载的影响。此级取消了负反馈电容,虽输出直流电压有了偏移的0.1V左右,但音色有了提高,而且由于耦合电容的存在零点漂移并不会影响到后级,如果信号源的电平较高,可将此级改为同相放大器,增益改为1~10倍。第二级IC2反馈电路构成一个反相放大器,即负反馈音调控制电路。设三段音调调节,中心控制频率分别为100HZ、1kHZ、 10kHZ,控制范围为±12dB,这是一个十分成熟而经典的电路。前置级由于选用了运放之皇NE5532,故使本机的信噪比、瞬态响应和动态范围有了保证,达到了较高的水平。

后级由4只LM1875组成,每声道由两只LM1875构成BTL桥式功率放大电路。总输出额定功率70W,足以满足家庭听音的需要,且可以推动大多数音箱。
元件选择:设计时已经本着简洁为上的原则,力争减少对音质有影响的元件数量,所用元件不一定非用补品或极品但一定要保证质量。电阻全部用五色环金属膜电阻,耦合电容全部选用CBB电容。两只滤波电解容已量达10000μF/25V,其上再并以47μF电解和0.22μF聚丙烯电容,再并联一只电解的目的是为了减少卷绕电感,022μF聚丙烯电容有助于提高整机的高频反应。本功放要求变压器容量为200W,次级应能提供6A以上电流,否则会影响整机的动态和低音力度,这里有必要提醒的是,自配元件时注意双联电位器的质量。散热器以长时间工作不烫手为宜。
机壳制作:选用1mm厚的冷轧钢板制作,面板上仅有电源开关、高中低音量旋钮,配上传统的彩色双电平表。印板设计采用环氧板,加注字符,大信号地与小信号地分开。
试听比较:选用摩过的国产ONE BCD—950 CD机和爱华TX—510随身听作音源,限于条件,选用了市售价为1600元左右某合并式扩大机作样机比较,音箱为自制的两分频倒相式,中低音扬声器为“南鲸”YD176-8X,高音为YDQG-8F钛球顶扬声器,经过仔细比较,本机除功率稍小,推动低负载能力逊于成品机外,无论音质还是信噪比均超过对方,特别是高音纤细,久听不使人疲倦,后来又与数款市售价为2000元左右的合并机比较,发现同等功率时,低音稍有不足,音质却相当,恐怕这就是简洁为上的优势吧,而此机总投资不超过500余元。(赵剑青)