本文介绍一种具有科学性,趣味性和新颖性的程控汽车模型。该模型可前进、后退、转弯,并具有发声发光功能,是学习电子技术,动手实践较为理想的玩具、教具,不仅为青少年所喜欢,也倍受电子爱好者青睐。
电路原理
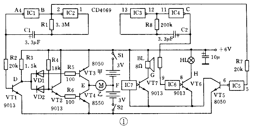
程控汽车的电原理图如图1所示,它主要由程控器、驱动器、传动器及壳体几部分组成。其中,程控器由数字电路4069的四个非门IC1~IC4及电阻R1、R8,电容C1、C2组成两个形式相同的多谐振荡器,由于R1、R8阻值不一样,因而产生不同的控制信号。当A点输出的控制信号为低电平时,通过电阻R2加在VT1基极,电源电压经R3加到集电极,D点为高电位,故VD1、VD2反偏截止。而VT2由电阻R4提供正偏压导通,同时导至VT4饱和导通,乙电池组经VT4发射极、集电极向电机供电。如此时电机为正向转动,可设汽车后退同时转弯。当A点输出控制信号为高电平时,VT1基极获正向偏压饱和导通,D点由高电平转为低电平,VD1 VD2导通,VT2 VT4处于反偏而截止,电机停止转动,汽车暂停。与此同时,VT3基极通过电阻R5获低电位导通,甲电池组经VT3发射极、集电极向电机供电,电机反向转动,汽车模型前进。在A点输出控制信号为低电平时,B点为高电平,开关晶体管VT5基极经IC5获得低电平截止,声光电路无电压不工作。当A点输出控制信号转为高电平时,B点则为低电平,并经IC5反向加在VT5基极,使VT5导通。此时语音集成片IC7经VT5发射极、集电极接通电源,并通过VT7放大由扬声器BL发出声音,同时闪光电路也获工作电压。当IC3 IC4输出的控制信号随振荡频率变化,经IC6使VT6导通、截止时,灯泡HL在前进运行中也随控制信号闪亮发光。

在焊接之前,清理准备好元器件,先焊分离件,再焊集成块,高度应基本整齐。在焊接时,R3可暂不焊(调试后再焊),焊接语音集成片时,先将剪下的阻容断脚插入集成片相应孔中,弯成90度再与集成片平焊后装入印刷板孔中焊牢。焊接集成块时注意排列脚的插接,不得装错。检测时,先检查焊接无误后,在VT1集电极(R3处)和VT7集电极与电源正端分别焊上灯泡,接上6伏电源,如灯泡间断闪亮发光,控制电路基本正常。焊上R3,在印刷板E点与F点接上电机,即可正反向运转。确认元器件焊接无误后,接上电源,用万用表“10伏”档,黑表笔接电源负(-),红表笔测ABC各点,表针应摆动,其AB点每个周期为20秒左右,C点约2秒左右。改变电阻R1、R8和电容C1、C2可改变多谐振荡器的振荡频率,同时改变输出的控制信号。
元器件选用
数字集成电路选用CD4069或C033六非门,晶体三极管VT1、VT2、VT6、VT7为9013或其它NPN型硅管,要求β≥100,VT4、VT5为 8050,VT3为8550,VD1、VD2选用IN4148或ZCP型半导体二极管,C1、C2、C3选用耐压≥10V的小型电解电容,语音片选用音乐、报警片。
整机组装
将电池接触片按正负极性装入车底盘电池盒内,前后保险杠用烙铁与车壳固牢,车轮、摩擦轮、转向轮已配套装好,直接放于规定位置,整机装配见图2。套件附有更详细的接线,安装说明图解,可参考制作组装。 (杨小华)
