这里介绍一种遥控开关,它使用一个仅能发出等幅超声波的发射器就可控制两路电源。当发射器发出持续时间大于1秒的长声时可控制一路电器的开关;当它发出短声时就能控制另一路调压电源,使之按:弱→中→强→关的顺序动作,比如用于电灯的调光或电扇的调速。两路电源的遥控互不干扰。除用发射器遥控外,还可用手动按钮控制。电路中没有用专用集成块故成本较低,也没有需要调试的部件,适合爱好者制作。
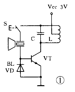
发射器电路见图1。电路结构是电感三点式LC振荡器,超声压电片BL既是电声换能器又是稳频元件。按下开关S即可发出17kHz左右的等幅超声波。

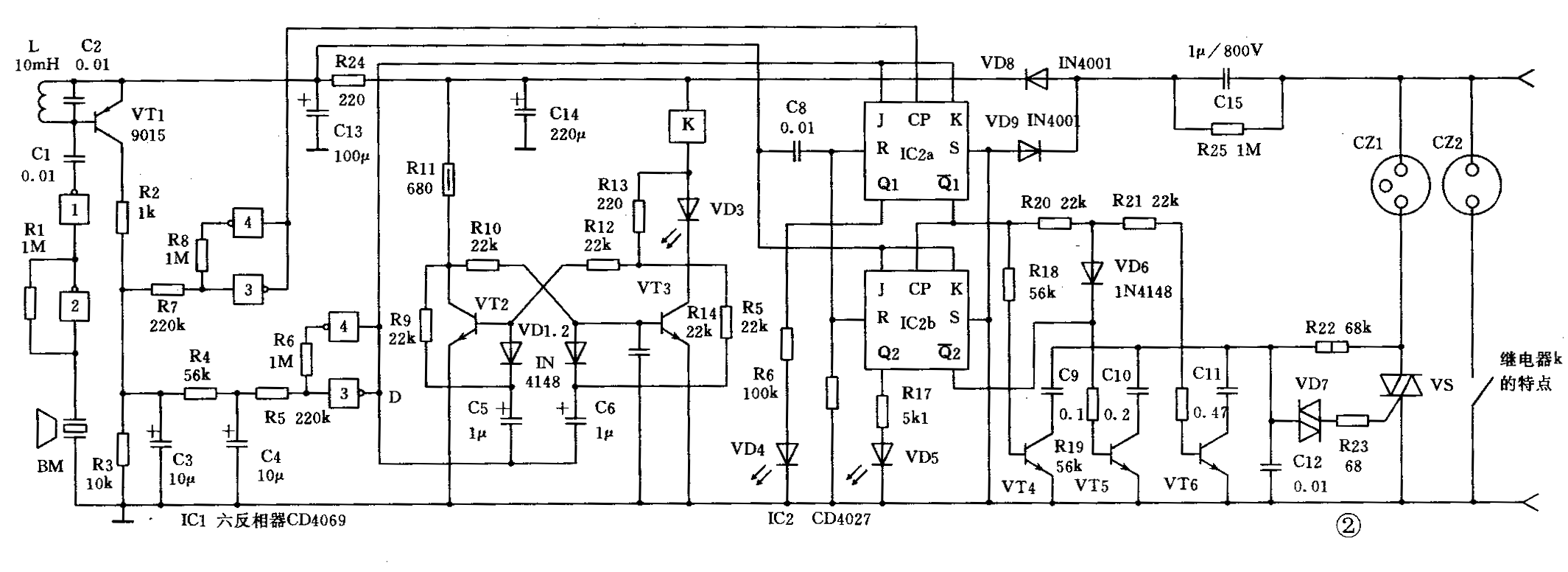
图2是接收器电路。反相器1和2工作在线性区,对压电片BM接收的微弱信号进行两级放大。L和C2选频,VT1检波。反相器3、4与5、6分别组成两路施密特触发器,对VT1输出的波形整形。其中一路输出C点作为IC2a的计数脉冲;另一路输出D点则和IC2a的JK端相连,同时还作为VT2和VT3的计数触发脉冲,IC2(CD4027)是一块双JK触发器,现接成异步四进制加法计数器。它的两个反相输出端Q-1、Q-2用来控制双向可控硅VS的移相电容的大小,以改变VS的导通角,从而达到调压的目的。发光管VD4、VD5用来指示IC2的四种状态也即输出电压的高低。

当超声发射器发出短声时,信号经VT1检波产生直流对C3充电,A点电位可达施密特电路的上限触发电平U\(_{+}\);另一路积分电路R4C4的时间常数较大,B点电压UB<U\(_{+}\),所以C点输出一个负脉冲而D点始终为高电平。对于IC2a来说,在t1时刻CP的上升沿到来时J=K=1,Q1翻转。
若信号为长声,A、B两点电位均可充到U\(_{+}\)以上,那么在t2时刻CP上跳时J=K=0,Q1不翻转,这时D点的下跳沿用来触发VT2和VT3,使继电器K吸合或释放。以上所述各点工作波形见图3。 (王双明)
