对于广大的发烧友来说,环绕立体声系统是不陌生的。因其对声场空间的扩展,使你有身临其境之感,充分感受大自然的气息与硝烟弥漫的战场上飞机的轰鸣和战火的纷飞。但市面上出售的环绕声处理器动则几百元,甚至上千元,非工薪阶层所能承受。本文介绍一种适合自制的环绕声处理器,电路简捷,成本仅几十元。
一、电路原理
80年代初,由著名的杜比实验室推出了一种价格低廉的家用环绕立体声系统。从此,环绕声系统才真正地推广开来。杜比实验室推出的标准电路包括L-R解码、20ms延时电路、低通滤波器与降噪电路。
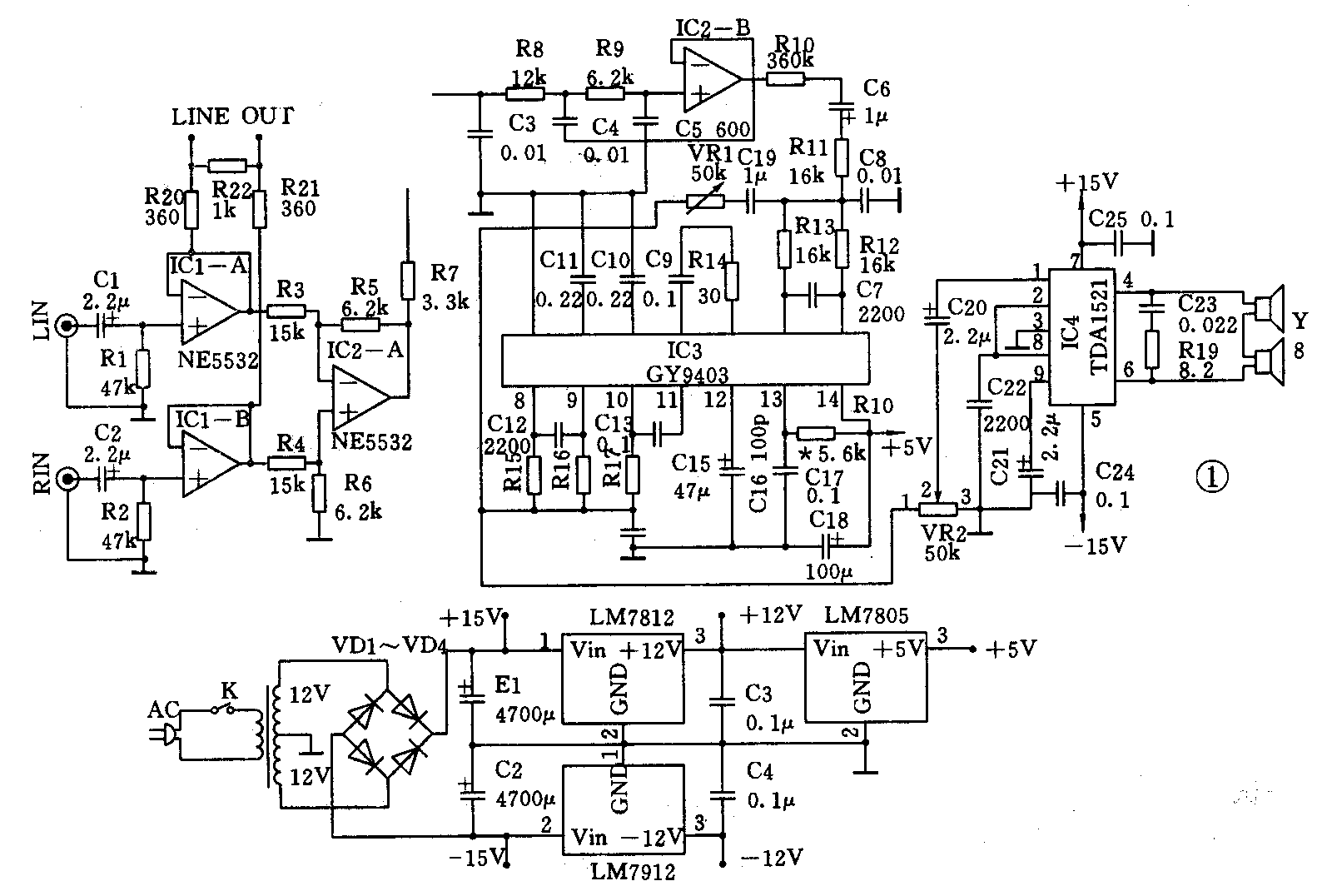
在本电路中(图1),由IC1、IC2构成左右声道的混合、L一R解码与7kHz的低通滤波器。主通道信号经缓冲后,通过由R20、R21、R22组成的混合器输出到主放大器。采用7kHz的低通滤波器滤除高音频信号,是为了防止高音频信号在系统内发生偏移或因为信号源本身等因素,引起前后声道的高频相位相互干扰。信号经低通滤波器后,送入IC3进行20ms的延时。本延时电路摒弃了信噪比低、频带与失真度均不尽人意的BBD器件,而采用了1994年日本最新开发的GY9403延时集成电路。此电路的输出噪声电压为-80dBV,绝非BBD器件可比。延时后的信号送入由TDA1521组成的后声道BTL功放电路。之所以用TDA1521作为后声道功放电路,是因为它可称为是目前最简洁的高保真功放电路,在满功率输出时,失真度仅为0.5%。

因目前发烧友采用的音源多为高档卡座、CD、LD,其性能优越,噪声极低,所以本电路中没有加入降噪系统。如果使用录像机或中低档卡座为音源的烧友,最好加入标准的LM1894动态降噪电路或用两块LM1894组成18dB降噪电路,以保证效果。
二、装配调试
印板设计见图2(采用PROTEL软件设计)。本电路对元件无特殊要求,仅低通滤波器中的电容C3、C4、C5最好能用容量误差小的聚酯或聚丙稀电容。制作完成后,调整VR1,使延时音量适合自己的“口味”即可。如果认为延时时间不够理想,可适当改变R18的阻值。VR2用于控制后声道音量的大小,以便达到最佳的环绕声效果。

本机在实际使用时的接线方法见图3。后声道音箱用2只4欧姆音箱串联使用,可获得30W的功率输出。

制作完成后。笔者首先试听孟庭苇的一首《冬季到台北来看雨》,那略带忧伤的歌声顿现面前,有气息扑面之感。然后放入360°环绕效果音乐,荡人魂魄难以言表。对本机的环绕效果,笔者在此不作过多的讲述。因为各种音源及效果对众烧友来说有仁者见仁、智者见智的成分。感兴趣的读者可以自己亲自动手试一试。 (谢鸿彬 谢鸿勇)