近几年来电话机的家庭普及率正在迅速提高,具备各种不同功能的新机型正在不断地推出,为了便于对电话机的维修,我们把一个最简单的但具备电话机基本功能的“迷你受话实验机”介绍给读者。该机全部采用通用器件,因此十分简单,但对掌握电话机的基本原理有很大帮助,您不妨动动手试装一下。
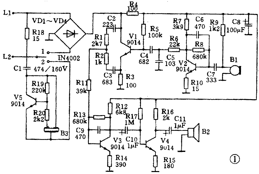
整机原理如图1所示。与一般电话机相比没有拨号电路,故称之谓“受话实验机”。整机可分三部分:振铃电路;送话电路;受话电路。下面分别进行介绍。

振铃电路 振铃电路由V5、R18、C1、R19、R20及三端蜂鸣片等组成。电话搁机时,微动开关S1置于“2”。话路中直流电由于C1隔离而送不到V5,V5不工作。话路中有振铃信号时,90Vp—p、25Hz交流信号送入。此时,交流信号经R18、C1供给V5以工作电压。
振铃信号正半周时,V5、R19、R20组成了振荡电路,它工作时产生振荡电流驱动蜂鸣片发声;振铃信号负半周时,V5不能工作,V5的发射结被击穿,电流经发射结、R19、C1、R18构成回路。由于电流极小,这种击穿不会损坏V5。
电话摘机时,S1置于“1”,振铃电路停止工作。
送话电路 送话电路由送话器B1、V2、V1等组成。B1是驻极体话筒,线路中R9提供一个偏置给B1的场效应管,使其正常工作。一般该电压为1.5伏。语言信号经耦合电容C7送入V2进行放大。V2是一级典型的电压放大器,其中R7为负载电阻,R10为电流串联负反馈电阻。R8、C6组成了电压并联负反馈,稳定工作。R8同时提供V2以基极偏压。
R6、C4、C5组成了带通滤波器,对信号中过高、过低频率滤除,提高信噪比改善送话质量。
V1对信号进行再放大(另外还有一个重要作用——消侧音,下面再分析)。其中集电极负载是由话路进线和对方话机输入阻抗等组成的,不是一个恒定不变的值。其余为一般放大器所必须的文件。
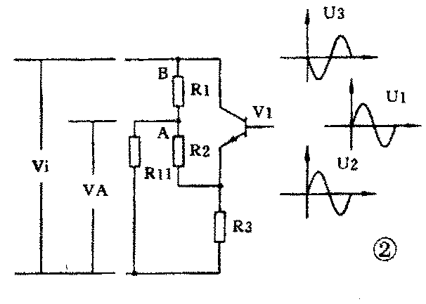
受话电路 当送入的语言信号通过Q桥式电路后,由于V1输出端呈现高阻抗,故可看作开路。交流等效电路见图2。输入信号ui在A点产生uA,uA=[(R2+R3)/(R1+R2+R3)]ui,经R11进入前置放大级V3,其元件与V2几乎一样。V4为功放级,音频信号经耦合电容C8送入受话器B2(喇叭)中,完成了受话过程。

消侧音电路 侧音是指自己送出的语言信号又回到了自己的受话器上,从而影响了正常通信。为了消除侧音,电话机中都设有“消侧音电路”。本机是通过V1及一些外围元件来实现的。交流等效电路仍见图2。如果R11上端接到B点,送话时在V1集电极上获得放大了的送话信号u3(假设为正弦波),将通过R11全部送入V3进行放大成为侧音。现在把R11上端改接到A点。我们知道V1发射极u2是与u1同相但略小于u1的信号,而A点获得的uA是与u1反相但放大了的信号。如果我们合理选择R1、R2阻值,则在A点得到的UA可几乎为“0”,这就消除了侧音。当然,由于V1负载是一个变动值,故不可能完全消除侧音,这是可以允许的。
四只二极管使电路中馈入的直流电(一般在挂机时48V,摘机后为10V左右)定向为上“+”下“-”,用户接电话线时不必认向。该电源供V1、V2、V3、V4工作。R4、C8为电源滤波。印制板如图3,元器件安装如图4。(戴甫仁)

