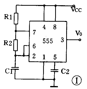
构成多谐振荡器是“555”集成电路应用最多的一个方面,其典型电路如图1所示。这种应用,实质上是对外提供一个脉冲信号源。但在电子产品设计实践中人们发现,这种脉冲源的初始脉冲(即电路通电后给出的第一个脉冲)比后续脉冲宽,其波形如图2所示。这种现象在某些应用中是需要避免的。本文对这种现象形成的原因进行简要的分析,并给出解决办法。


初始脉冲较宽的原因:图1所示的线路在电源接通时,电源V\(_{CC}\)通过电阻R1和R2向电容C1充电。C1刚充电时,由于“555”电路的2脚处于0电平,故3脚输出为高电平(例如:当VCC=5V时,3脚输出为4.5V)。当C1充电到2/3V\(_{CC}\)时,3脚输出由高变低,与此同时,“555”电路内部放电管导通,C1经R2和放电管(7脚)放电,当放到C1上电压≤1/3VCC时,3脚输出又由低变高,与此同时“555”电路内部放电管截止,C1再次充电……,如此周而复始地从3脚向外输出脉冲串。此乃“555”电路脉冲源的工作过程。
从上述工作过程中可以看出,C1充电的时间,就是脉冲的宽度。然而第一个脉冲的宽度对应的C1充电过程是从0充到2/3V\(_{CC}\),而后续脉冲却以1/3VCC为起点充到2/3V\(_{CC}\)。显然,初始脉冲宽度多出一部分的原因,即C1从0充电到1/3VCC用去的时间。
上述的分析不仅指出了初始脉冲较宽的原因,也指出了解决这一问题的基本途径。即:只要采取措施,使C1上充电从0充到1/3V\(_{CC}\)所用的时间减小到可以忽略不计的程度,就可认为初始脉冲和后续脉冲的宽度基本上一样。
图3所示电路即为作者所设计的,经实验证实可达到上述目的。图3与图1相比,只增加了3个元件,即:电阻R3、稳压管DW和二极管VD。这3个元件的作用是给C1增加一条快速充电的路径,使形成初始脉冲的过程中,C1上的电压从0充到1/3V\(_{CC}\)所用去的时间可以忽略不计。

对于这条增设的充电支路,为了起到上述的作用,应该提出以下两点要求:
第一:C1从0充电到1/3V\(_{CC}\)的过程中VD导通,充到超过1/3VCC后,VD截止。具体地讲:如果设VD上的正向压降为V\(_{D}\),DW的稳定电压为VDW,则要求
V\(_{DW}\)=1/3VCC+V\(_{D}\) (1)
式中V\(_{CC}\)和VD是固定值,因此(1)式给出了V\(_{DW}\)的选定依据。
第二,为了使V\(_{CC}\)通过R3和VD对C1充电的速度比通过R1和R2充电的速度快得多,则要求:
R3《R1+R2 (2)
应当指出,V\(_{CC}\)通过R1和R2对C1充电的支路和VCC通过R3和VD对C1充电的支路,二者充电快慢不仅仅决定于支路中的电阻,还应注意到附加的充电支路中有一个二极管VD,它使该支路充电电压不再是V\(_{CC}\),而是VCC—V\(_{D}\)。然而由于在一般情况下,VD《V\(_{CC}\),因此只要满足(2)式,就可保证增设的充电支路充电速度比另一条支路充电速度快得多。
另外,(2)式所确定的只是R3的上限值,而实际上,由于当VD截止时,流到R3的电流全部通过DW,因此R3阻值的选定,还应考虑DW最大允许功耗的限制。
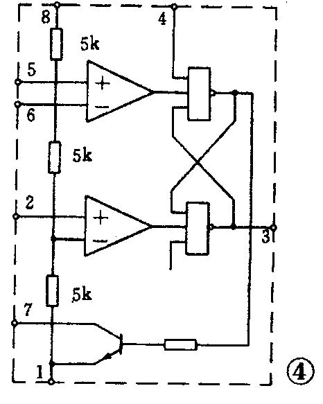
最后应提示,由于稳压管稳压值的离散性可能会造成(1)式得不到满足,为此,笔者提出以下措施加以解决:(参见图4)

1.当V\(_{DW}\)>1/3VCC+V\(_{D}\)时,则要在“555”电路的5脚和8脚之间并上一个适当的电阻,使“555”电路的2脚触发电压阈值不再是1/3VCC,而是大于1/3的某一个数值n乘上V\(_{CC}\),选定的n满足下式即可:
V\(_{DW}\)=nVCC+V\(_{D}\) (3)
2.当V\(_{DW}\)<1/3VCC+V\(_{D}\)时,则在“555”电路5脚和1脚之间并上一个适当阻值的电阻,使2脚的触发电压阀值,不再是1/3VCC,而是V\(_{CC}\)乘上小于1/3的某一数值m,选定的m值应满足:
V\(_{DW}\)=mVCC+V\(_{D}\) (4)
以上对“555”电路脉冲源初始脉冲的修正电路,笔者认为简单实用。(李源生 迟健男)