三端可调式集成稳压器品种很多,归纳起来它有两类:一类是正输出系列如:LMll7/217/317系列、LM138/238/338系列等。另一类是负输出系列如:LM137/237/337系列等。目前,国内也生产了与这些系列的电参数与封装形式完全一致的CW117系列、CW138系列、CW137系列等。
三端可调式集成稳压器有以下几个特点:(1)它只需外接两个电阻就可以在一定的范围内确定输出电压(如LM338K能够在1.2V到32V范围内提供小于或等于5A的输出电流),使用起来特别方便。(2)它的各项性能指标都优于三端固定式集成稳压器。(3)它具有集成电路独具的全过载保护功能,包括限流、热过载保护和安全区域的保护。即使调节端悬空,所有的保护电路仍有效。(4)它们都是按标准的晶体三极管形式封装的,其安装和使用都很方便。总之,三端可调式集成稳压器是一种使用方便、应用广泛的集成电路。
LM117/217/317、LM137/237/337、LM138/238/338系列的主要参数见表1~3,从表中可见它们的主要参数基本相同。型号后缀K表示按T0—3形式封装;T表示按T0—220形式封装;MP表示按T0—202形式封装;H表示按T0—39形式封装。LM117、LM317系列的封装形式和功率容量关系见表4。工作温度在-55~150℃之间的集成电路属军用品(如LM117);工作温度在-25~150℃之间的集成电路属工业用品(如LM217);工作温度在0~125℃之间的集成电路属民用品(如LM317)。本文主要介绍LM317正输出可调三端集成稳压器的典型电路,LM337、LM338电路的使用可参照LM317。




一、LM317三端可调式正集成稳压器应用举例
图1为LM317的等效电路框图,从图可见LM317稳压器内运算放大器与偏置电路的接法,使得所有的静态工作电流都流到稳压器的输出端,所以就不需要单独搞一个接地端。只要满足稳压器的输入与输出的电压差在3V到40V之间,就能保证稳压器的正常工作了。

图2是LM317的基本应用电路。这时它就相当于一个1.25V输出的稳压器。R1的作用是保证稳压器空载时也能正常工作。因为稳压器所有的偏置电流及调整管的漏电流都要被负载所吸收。所以,流过R1的电流至少要大于最小负载电流3.5mA,一般为5~10mA。因此,R1的取值为120Ω~240Ω。

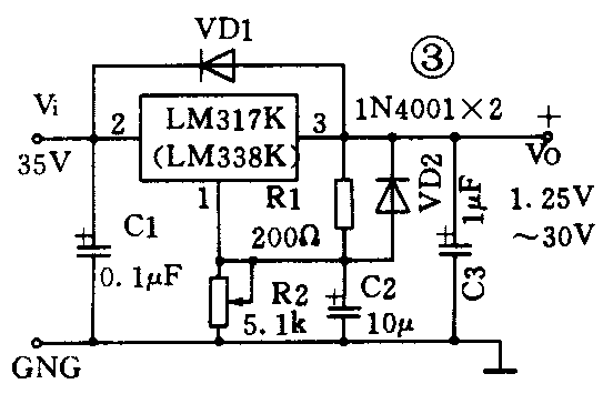
要得到高于1.25V的输出电压,只要再接上一只可变电阻R2,如图3所示。R1的取值使得流过R1的电流为5mA,加上调节端的电流I\(_{ADJ}\)(约50μA)共同流过R2使调节端的电压升高。这时,输出电压由下式表示:V0=1.25(1+R2/R1)+50(μA)·R2。改变R2的阻值能方便地改变输出电压值。在输出端接上1μF的钽电容(或25μF的铝电解电容) C3可确保电路稳定地工作,并改善电路的瞬态响应。

调节端对地接上一个旁路电容C2可提高纹波抑制比,在R2较大时,效果尤其显著。当C2为10μF时,在稳压器的整个输出电压范围内,可达80dB的纹波抑制比,这一点在固定式三端稳压器中是难以达到的。
如果稳压器离输入滤波电容比较远,就需要在稳压器紧靠输入端处接上一个0.1μF的旁路电容C1。当稳压器的输入、输出端接有大的电解电容时,还需加入保护二极管VD1、VD2以防止输入端及输出端对地短路时损坏稳压器内部电路。
LM317的最低稳定电压为1.25V,图3所示的电路只能从1.25V起调。若R2下端不接地,而接至一1.25V时就能实现从0V起调。图4为0~30V连续可调的实验室通用电源,它的-1.25V的基准电压由另一个LM317T和一个独立的负辅助电源来产生,负辅助电源与主回路设有公共地线。

LM317K的最大输出电流为1.5A,最大功耗为20W。在图3所示的电路中如输入与输出的电压差较大时,由于内部保护电路的作用,将会使它的输出电流能力下降。在图5所示的电路中,当V\(_{0}\)小于13V时,VT1截止,继电器K1释放,触点S1与交流15V连接;当V0大于13V时,VD5击穿,VT1饱和,K1吸合,触点S1转换至与交流30V连接。这样自动切换交流输入电压,既满足了输出电压大范围变动的要求,又不使稳压器功耗过大。


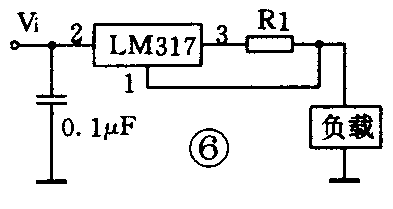
用LM317作恒流源特别简单,性能良好。图6给出的是负载可以接地的可调恒流源电路。恒流值由下式给出:
I\(_{0}\)=VREF/R1+I\(_{ADJ}\)
式中V\(_{REF}\)为基准电压;IADJ为调整端电流。
当R1从120Ω到0.8Ω可调时,恒流值将从10mA到1.5A可调。由于基准电压只有1.25V,LM317的最小电压差为3V,所以输入电压从4.25V起恒流源就能正常工作了。当R1为24Ω时,图6所示的电路就可以组成一个50mA的镍镉电池恒流充电电路。
二、LM337三端可调式负集成稳压器的基本电路
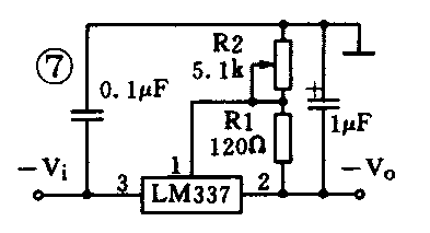
图7所示的电路是LM337三端可调式负集成稳压器的基本应用电路。它与LM317用法相同,使用时要注意它的管脚与LM317不同。

三、三端可调式集成稳压器的使用注意事项
(1)正确地选择输入电压范围。集成稳压器内部管子有一定的耐压值。在工作时要保证整流器的输出电压的峰值不大于稳压器最大输入电压。使用时还要注意稳压器有一个使用最小电压差值(3V)的限制。
(2)防管脚接错。要求在测试、使用时各管脚都接正确后方能通电。
(3)稳压器需接保护二极管。如图3所示的VD1和VD2,当V\(_{0}\)≥25V或C3≥25μF时必须接入VD1,防止输入电压突然降低时,输出电容放电引起稳压器损坏。
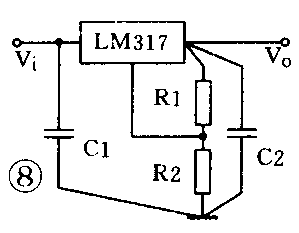
(4)注意稳压器的外部接线。设定电阻R1应紧接在稳压器的输出端与调节端。正确的接线方法见图8。稳压器的接地端应接在负载的接地端,而负载的正端应紧靠稳压器的输出端。

(5)散热器的选择。对金属封装T0—3型和塑料封装T0—220型,在不加散热器时,室温下最大功耗分别为2W和1W。如需增大功率,必须加散热器。散热器的设计与一般大功率晶体三极管相同。金属封装的T0—3型,结到壳的热阻大约2.3℃/W。塑料封装的T0—220型,结到壳的热阻大约4℃/W。如LM338K要达到它的设计最大功率,必须加800cm\(^{3}\)的铝散热型材。当散热板面积太小,而结温到达热保护动作点时,调整性能变差,这是要注意的。(周富发)