“场回扫线”是彩色电视机常见故障之一,其故障特征是在荧光屏上出现略为倾斜且刺眼的白线。它有时伴随着图像出现在整个画面上;有时出现在画面上部或下部;有时出现在无图像的满幅白光栅中;有时只有暗场才出现。该故障的产生,涉及到亮度信号处理电路(包括ABL电路)、消隐电路、视放电路、显像管等部分。对于场回扫线故障的检修,必须观察其图像特征,同时配合调整亮度、对比度和加速极电压,观察故障现象的变化,对问题作全面的思考与分析。只要抓住故障的不同特点,就能准确迅速地查找到故障原因及元器件,从而收到事半功倍的效果。
现根据这几部分电路所引起的故障特点,介绍检修方法。
一、亮度信号处理电路的检修
当该电路发生故障引起亮度明显过大(即亮度信号电平明显偏低)时,会造成消隐信号在逆程时间的幅度不够,造成满屏白光栅并有回扫线。其故障现象的特征是:伴音正常,图像亮度过强,甚至无图像,视放级电压基本正常。当ABL电路发生故障时,调整亮度电位器,光栅亮度有微小变化;亮度过强时,会引起保护电路动作,造成无光无声。
例1 一台日立CEP—321D型彩电无图像,光栅很亮且有回扫线。几秒钟后自动关机,并伴有“吱吱”尖叫声。
分析与检修:光栅过亮并出现回扫线,说明显像管束电流过大;稍后无光栅,说明保护电路已工作。检查视放电路,开机迅速测量R、G、B三只视放管集电极电压,约为110V,由于该电压偏低,造成光栅过亮;检查亮度信号处理电路,测IC501脚电压为0.5V(正常值为6.8V),查其外接元件R321、C320、C535均正常,测ZD301发现反向电阻值变小,说明ZD301性能不良。更换ZD301后故障排除。
例2 一台德律风根5016型彩电亮度失控且有回扫线。
分析与检修:检查视放电路,测T453集电极电压约100V左右(正常值为125V),测视放供电电路正常;测色度解调集成电路IC401脚电压为5.8V(正常值为4.5V);检查信号峰值限制电路,该电路由T461、T462等组成,对白色信号的峰值进行限值。测量T461发现已损坏,使IC401⑦脚不受限幅信号的控制,从而导致亮度失控,出现回扫线。更换T461后故障排除。
例3 一台日立CRP—450D型彩电亮度失控,出现回扫线,稍后无光无声,机内有“吱吱”尖叫声。
分析与检修:开机迅速测量R、G、B三只视放管集电极电压均偏低,检查视放供电电路正常;测色度信号解调集成电路IC501色差信号输出①脚、和,电压均为5V左右(正常值为7.2V),测三只视放管发射极电压为零,怀疑ABL电路有故障。由R715、R308、Q302、Q303、ZD301等组成ABL电路。用万用表R×10Ω档在路测量Q302、ZD301均正常,发现Q303正反向电阻值异常,拆下测量Q303,ce结已击穿。由于Q303损坏,使Y端子电压为零,而三只视放管发射极电压均为5V,使视放管电流增大,导致其集电极电压下降,从而造成束电流剧增,满屏白光并有回扫线,继而使保护电路动作,更换Q303后故障排除。
二、场消隐电路的检修
当该电路发生故障时,场消隐脉冲信号就无法加入,或者加入的信号幅度不够。其故障特征为图像和伴音正常,亮度、对比度控制正常,只是在画面上出现回扫线;当不接收电视节目时,回扫线更加明显。若在画面顶部出现回扫线,则为场扫描逆程时间延长,引起边程脉冲幅度减小、场消隐脉冲信号幅度不够,这主要是场输出电路工作不良。
例4 一台松下TC—684D型彩电画面出现满屏回扫线,亮度、对比度可控制,伴音正常。
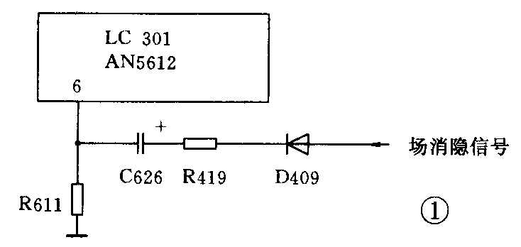
分析与检修:该机场消隐信号从脉冲放大级Q401输出,经D409、R419、C626耦合和R611分压后送入亮度处理集成电路IC301⑥脚,加在其内部的基色矩阵电路中,实现在场逆程期间有消除基色信号,有关电路见图1。测D409、R419、R611均正常,检查C626时,发现一引脚已断。由于C626开路,使消隐信号无法送入IC301进行消隐处理。更换C626后故障排除。

例5 一台东芝C—1831Z型彩电屏幕上半部出现回扫线。
分析与检修:回扫线没有布满整个屏幕,说明场消隐脉冲已加到视放电路,场输出级工作不良或场逆程高压供电不足,使逆程时间延长。该机场输出电路采用双电源供电方式,有关电路见图2。行输出变压器T461⑧脚的行逆程脉冲经R327、VD302、C311整流滤波后,在C311两端得到约42V的低电源,用于场锯齿波正程前半期;T461⑦脚的行逆程脉冲通过C314、R328、VD305对C313充电,在C313两端得到约58V的高压电源,用于场正程的后半期。测V306、V307、C314、R328、VD305均正常,检查C313发现严重漏电,造成场逆程高压供电过低,从而导致屏幕上半部出现回扫线。更换C313后故障排除。

三、视放电路的检修
当该电路发生故障,会造成显像管的阴极电压偏低,束电流偏大。故障特征为光栅亮度很亮,调整亮度及副亮度电位器光栅的亮度变化不明显,即使亮度电位器关到最小,也无法使电子束完全截止。这时图像极淡或完全无图像,仅有光栅,出现满幅的回扫线,但伴音正常。产生故障的范围有:视放级供电电路、三个末级视放管及其外围元件。
例6 一台日立CPT—2157SF型彩电亮度失控,满屏回扫线,图像淡。
分析与检修:检查显像管阴极无电压,测R、G、B三只视放管集电极为零,说明故障在视放供电电路。该机视放供电电路采用行输出变压器T761将行逆程脉冲经R771限流、D763整流和C765滤波后供给视放电路,有关电路见图3。检查D763、C765均正常,测R771发现已断路。当视放级无工作电压时,视放管增益为零,从而出现画面淡;由于矩阵电路无输出,白平衡被破坏,即使黑电平出现时,显像管电子束也不能截止,从而出现回扫线;当阴极电压为零时,显像管电子束电流增大,导致亮度失控,光栅过亮。更换R771后故障排除。

例7 一台日立CPT—1838型彩电光栅和图像均为蓝色,且有回扫线。
分析与检修:开机后光栅为蓝色,接收电视节目时伴音正常,图像颜色偏蓝,满屏回扫线。光栅和图像偏蓝,说明显像管蓝电子枪电流偏大,阴极电压偏低,有关电路见图4。检查R、G阴极电压均正常,测B阴极电压仅有85V(正常值为145V)。由于R、G、B的阴极电压采用并联供电方式,说明供电电路工作正常。测B视放管集电极电压约82V,而基极电压正常,说明故障在B视放输出电路。检查发现B视放管已损坏,更换后故障排除。
四、显像管电路的检修
显像管内部漏电或短路碰极时,荧光屏上会出现满幅很亮的回扫线。它与上述三种故障原因所引起的现象不同之处是:调节亮度和对比度电位器,光栅亮度与回扫线情况无任何变化。若灯丝与某一枪阴极相碰,该枪电位将明显下降,因为灯丝一端往往接地,此时电子束大大增加,造成光栅仅有该枪的颜色;若栅极与阴极相碰其故障现象也是如此;若栅极与加速极相碰,则出现光栅变暗和底色变坏。若加速极电压偏高,关小亮度电位器时,也会出现回扫线。
例8 一台夏普C—1820CK型彩电满屏呈蓝色,亮度失控,并有回扫线。
分析与检修:满屏出现蓝色,说明红枪和绿枪均截止;亮度失控且有回扫线,说明蓝枪电位极低。从单色画面、亮度失控及回扫线这三个特征着手检查,测蓝枪视放管Q853正常,断开蓝枪跳火放电器SG853后通电试机,故障依旧;怀疑显像管本身存在故障,拔下管座,测灯丝与蓝阴极间的电阻值为无穷大,测蓝阴极与栅极间的电阻值只有70Ω左右,说明阴—栅极之间漏电。用已充电的100μF/400V电容在阴极与栅极之间瞬间碰触,将阴—栅极间的杂质击开,故障排除。
例9 一台东芝C—1421Z型彩电亮度失控,光栅很亮且有回扫线。
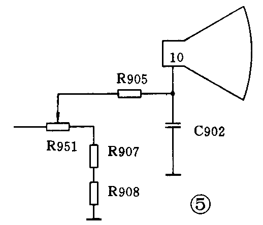
分析与检修:检查视放电路R、G、B视放管各脚电压均正常;测显像管加速极(管座第10脚)约600V,由于加速极电压太高,使电子加速轰击荧光屏,从而导致其亮度远比正常时亮得多。同时使束电流截止要求的阴栅电压升高,原有的消隐电压已不能使束电流完全截止而出现回扫线,且这时的回扫线在整个亮度调暗时愈见明显。调整加速极电位器R951(见图5),亮度无微小的变化,检查加速极控制电路,测其外接元件,发现R908已断路。更换R908后故障排除。(林平)
