对于“土炮”发烧友来说,最大的乐趣莫过于自己亲手制造的前级、功放、音箱出了靓声。为了在音质上赶上名机,有些发烧友不惜血本地“吃补品”——几元钱一只的Holco电阻、几十元一只的SoLen电容等等,也只能在一定程度上改善音质。但对于经济条件不富裕的发烧友来说,只有“节约发烧”,而改善电源供应则是一投资较少而收效大的捷径。使用大功率环牛、巨容量“大水塘”电容等早有各类文章道出,而本文只对并联型稳压电源谈谈看法。
一、并联型稳压电源的优势
并联型稳压电路的原理框图见图1(a)。它主要原理是由限流电路提供一比负载电流大得多的电流,其一部分供给负载,多余的全部由调整管对地“短路”泄放掉,以保持输出电压的恒定。而串联型稳压电路(见图1(b)),则是负载需要多少电流,电压调整管VT则“放过”多少电流,以保持输出电压恒定。“并联”与“串联”之分只在于电压调整管VT与电源连接方式,同样是起着稳压作用,为何在音质上有区别?原来在于电源内阻的区别。图2为并联型稳压电路与串联型稳压电路的内阻等效图。从图中可看出,并联型稳压电路(见图2(a))的内阻主要决定于串联在电流回路上的限流电路等效电阻R1,而电压调整电路并联在输出端上,等效于R2。所以此电路的等效内阻R近似等于R1与R2并联。又因为在并联型稳压电路中,I≥2If(If为负载所需电流),R1相对较小;而R2近似并联于R1上,所以R更小了。而对串联型稳压电路来说(图2(b)),其内阻只决定于串联在回路中的电压调整管的等效电阻R1,而I=If。所以,两种电路在相同的输入电压、相同的输出电压、相同的负载时,串联型稳压电路的内阻比并联型的大得多。下面举一简单实例以说明问题。设负载Rf所需电压U1=30V,电流If=50mA,稳压电路输入电压U0=40V。在并联型稳压电路中,设定限流电路通过电流I1=2.5 If=125mA,压降U=U0-U1=40-30=10V,所以R1=U/11=80Ω。通过调整电路的“剩余”电流I2=I1-If=75mA,所以R2=U1/I2=400Ω。因此内阻R≈R1·R2/(R1+R2)≈67Ω。而对于串联型电路来说,内阻R=R1=U/I=(U0-U1)/If=200Ω。可见在以上例子的同等条件下,并联型稳压电路的内阻只是串联型的33%!而电源内阻低则意味着电源有较高的能量转递速率,使负载所需瞬间大电流得到及时供给,使放大器解析度与力度得到相当的改善与提高。但同时并联型稳压电路有功耗大的缺点,不过对于前置、前级等所需电流较小,仅为几毫安至几十毫安,所以电压调整管功耗也只不过有几瓦功率,是不成问题的。


二、实际应用的几个电路
1.最简单的并联型稳压电路
此电路以最简单的设计可取得极佳的效果,R1为限流电阻,其值等于压降U除以2~3倍If负载电流的值,此电阻应使用2~3W的金属膜电阻;输出电压由VDW决定;R2为VDW的偏置电阻,偏置电流一般为5~10mA。VT1、VT2组成达林顿电压调整管,其中VT1可用2SA733、2N5401等小功率管,VT2应使用功耗足够、f\(_{T}\)稍高一点的大功率管。C2、C4应使用CBB12、CBB21等聚丙烯电容,这对改善与降低电路的高频内阻极为重要。
2.简单电路的改进型(见图4)

原理大至同上。改进的地方有:简单电路的限流电阻改成由VT3、VD1、R1组成的恒流源。由于恒流源对直流阻抗较小,而对交流则呈极高的阻抗,所以输出电压纹波更小。VT4接成恒流源对稳压管VDW提供偏置。使VDW工作更稳定。R1决定了输出电流。VT3、VT2功耗较大,应采用功率足够大(大于10W)的大功率管。为使VT3组成的恒流源工作稳定,输入电压与输出电压之差(即压降)应为10~15V。
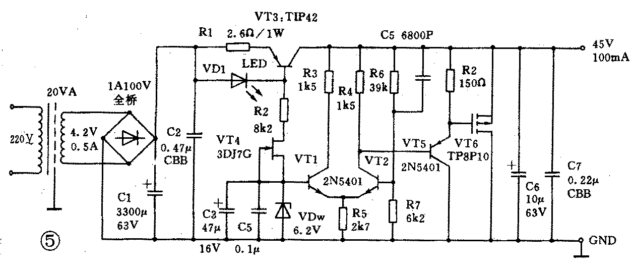
3.较为精密的并联型稳压电路
电路1、电路2的输出电压只取决于稳压管VDW的大小,为了得到一较精确的电压,需从较多的稳压管中选取合适的管子,颇为麻烦。为了使输出电压得以精密可调,也为了使输出电压更为稳定,本电路在电路2的基础上,加入了由VT1、VT2组成的差分误差放大,R6的大小决定了输出电压,C5有利于改善电路的高频特性,采用玻璃釉电容、CBB为取佳,电压调整管VT6为VMOS功率场效应管,可使电路内阻进一步减小,稳定性进一步提高。
以上三例需注意的是,由于电压调整管、恒流源等部分器件功耗较大,所以这些器件应有较大的功率富裕量,并装上足够的散热片,使其不致过热而工作于稳定状态。另外,以上所介绍的电路都为正电源稳压,如用于负电源则需将各三极管换成与之互补的三极管,二极管、电解电容极性互换即可。
三、应用实例
笔者有一台20W甲类功放,其音质已令人颇为满意,但在大动态时总觉得中高频不够圆润,有些毛糙刺耳的感觉。其间也在关键部位“吃”进些“补品”,但收效不大。一但将原串联型稳压前级电源换上了图5所示的电路,立即叫人耳目一新,毛糙感消失殆尽,如同换新机一般,经几天褒机,即展现出了甲类那种醇醇的原音本色。原来在放《雨果金碟Ⅲ》的《山丹丹花开红艳艳》一曲之高潮时较为刺耳,而今却一清见底;放TELARC的《ROUND UP》则其气势宏大的场面令人回肠荡气,高音部极为纤细,解析度已比以前有很大提高,且低音更富有弹性。而人声极品《蓝雨褛》则给人有种詹妮芙如立眼前的感觉。以上说明了用并联型稳压电路摩机可使原机的解析度、力度、细腻感等都可得到相当地提高。另外,CD机的电源亦可用此方案摩机。笔者曾对一台CDP—511型国产CD机改装上了如图3所示最简单的并联稳压电路亦取得了极佳的效果,但应注意的是CD机机箱为封闭式的,电压调整管应用云母片绝缘装在机箱后部铁板上,以利于散热。


由于并联型稳压电源对音质有较好改善,又因其功耗较大,所以被一些发烧友称为“甲类电源”亦很有道理。摩机是见仁见智的事情,切忌生搬硬套,要结合个人实际情况“开药方”,以取得最佳效果。(黎卓诚)