本文介绍一种构思巧妙,适合体育教学和训练中使用的发令计时系统。此系统中电子发令枪是用手提多功能喊话器改制的,遥控计时器用电子秒表作计时核心,因而它有构造简单,使用方便,造价低等特点。对于目前体育经费欠缺的中小学校选用尤为合适。现将其基本原理与制作方法介绍如下。
电子发令枪
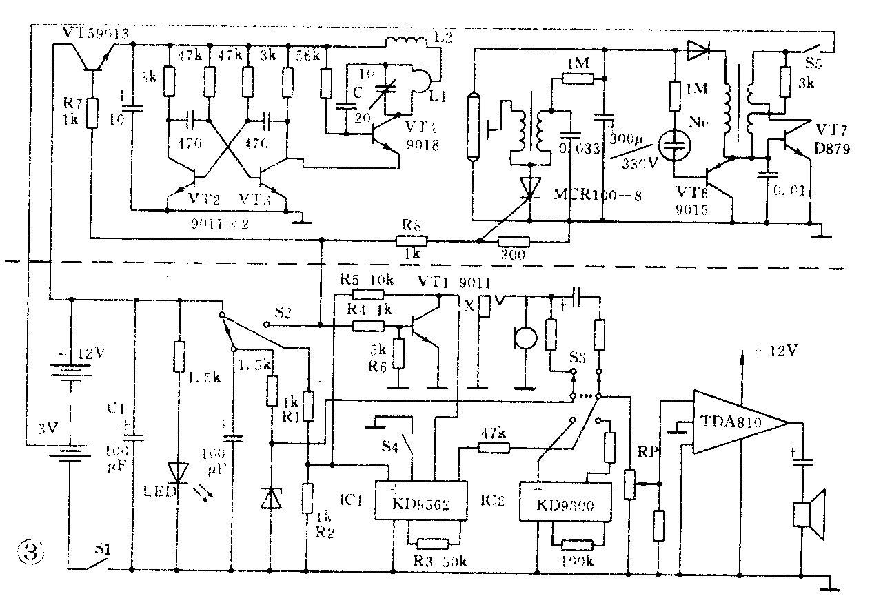
1.电路原理:电子发令枪是用声光信号取代体育竞技场上传统火药枪的声烟信号。它不需弹药,可连续发令,使用更安全可靠。从图1可以看出,扣动抢机时由同步开关同时送出3个脉冲信号,启动模拟枪声电路、闪光电路和发射电路工作,为运动员、裁判员和计时器同步提供声、光、电信号。为了更好控制运动场上情况,枪上还设有喊话扩音,音乐电哨及外接插口,可灵活应用。图2为改制前XB—6S多功能喊话器原电路图。图3为改制后成为电子发令枪的总电路图,标有序号的元件均为新增元件。



这里采用KD9562八音集成块中单发枪声作模拟枪声电路。其触发脉冲用大电容C1充电后通过R4、R6、VT1 be结迅速释放,在VT1集电极上形成一个由大到小衰减的负脉冲,使KD9562输出一个逼真的枪声,再送入功放级进行放大,输出功率可达5W。调整C1容量可改变枪声长短,R3决定枪声音色,以30k~68k为宜。
闪光电路是在枪响同时为裁判员按表提供光信号。S2按下时,C1充电电压经R8触发单向可控硅导通,闪光灯就随着枪声闪光。为了节约电池,本电路采用自动恒压式(此种电路在报刊上已有刊载,这里就不作介绍)。这样在发令间隔时间内,也不必关断闪光电路的电源开关S5了。
在扣动枪机S2时,C1上电压经R7向VT5送去一同步脉冲并使其导通,发射电路因得电而工作。VT2、VT3组成多谐振荡器,产生50k左右的频率,去调制VT4发射管,它与C、 L1组成电感三点式自激振荡器,产生经50k频率调制的350MHz左右超短波信号,由L1发射出去。
2.安装与调试
改装时小心打开喊话器,先将警灯HD接线去掉不用。并注意S1、S2接法有改变,再将电路中报警集成块KD9561拆除,换上 KD9562,取其中第2第4电极为枪声和哨声的触发极。并在原电路板空档位置,装上VT1开关管和电阻,按图3接好线。
发射电路元件装在5×2cm电路板上,元件宜用贴焊法,线圈L1为一圈,直接腐蚀在电路板上,L2用Φ0.3~0.5mm的漆包线绕30圈,绕成Φ4mm的空心线圈。VT4用超高频管如: 9018等β>100。元件安装无误后,可先接上电源,将R7碰正电源,经示波器或接收机,确认正常振荡并发射电波后,可装入喊话器内,将它置于喊话器原来两个电路板中间。
闪光电路安装在喊话器上方突出部分内,并换上半透明有机玻璃盒,S5装在盒边,引出正负电源和触发信号线与机内相连,由于闪光灯电路是3V供电,故正电源线应接在12V电池组的3V处弹簧上。以上三部分组装好后,重新装好喊话器,改制即告结束。
遥控计时器
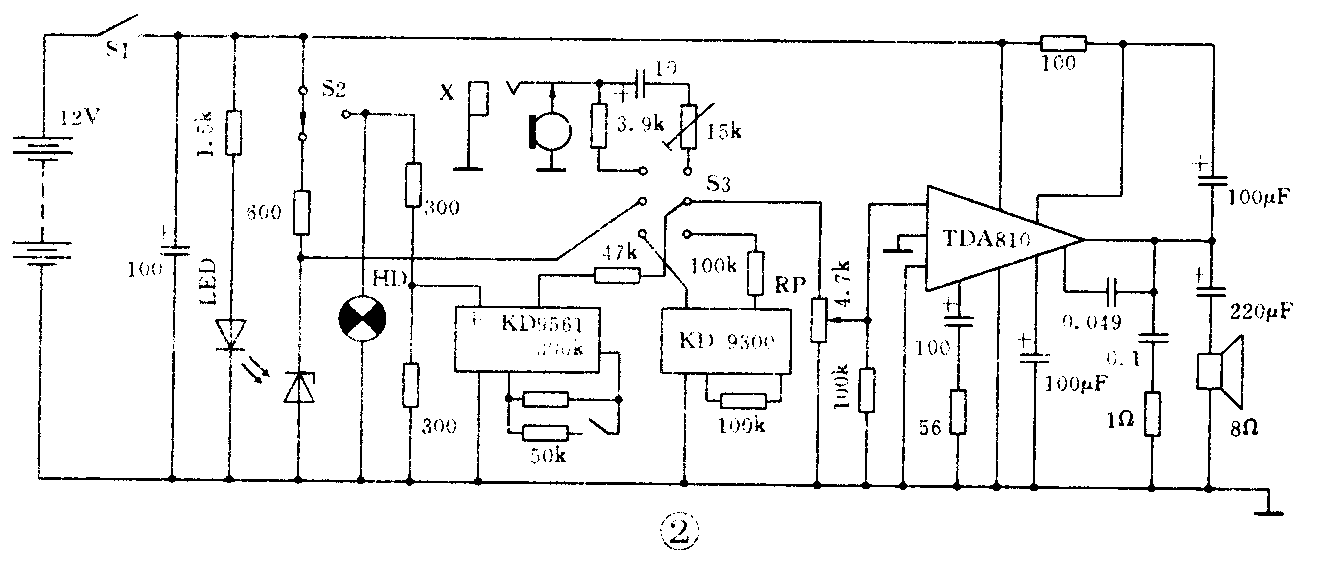
1.工作原理:计时器采用电子秒表作计数核心,因而简捷了电路设计,工作亦可靠,电路见图4。当合上电源开关S1后,电容C3瞬间视为短路元件,由LM324组成的同相放大器A输入端瞬时被置“0”,经电压跟随器B使CD4011组成的RC触发器F1输出为“1”,F2输出为“0”,经F3和F4反相使红灯(LED1)亮、绿灯(LED2)暗。这时按一下电子秒表按钮S2,秒表即清零,同时也使VT4基极获得正脉冲并导通,向F2输入端送去一负脉冲,F1、F2翻转,使红灯灭绿灯亮,表示仪器可以正常工作。

由VT1、L1、C1等组成的再生式接收电路收到发令枪送来的遥控信号后,检出50k频率信号,经VT2放大送入IC1③脚。IC1是频率译码专用集成块LM567。当输入信号频率与IC1内压控振荡频率相符时,⑧脚立即由高电平降至低电平。这时A输出变为“0”,触发F1、F2翻转,红灯亮绿灯灭,同时向C4、D1输出一脉冲,致使VT3导通,秒表S1获得一正脉冲,电子秒表启动计时。当人跑到终点,挡住红外线传感器发射出的红外光线时,红外头即送出负脉冲,经“C”、“D”去触发F1、F2再翻转,同样向C5、D2送去正脉冲,VT3又导通一次,秒表停止计时。这里使用的红外头,采用了“无线电”杂志1992年第9期介绍的“红外线同步反射式位置检测器”线路,这里就不赘述了。X1、X2是外接插口,由于“A”、“B”放大器灵敏度较高,可以用其它形式的传感器来控制秒表的启停。如开关按钮,压电片等输出为负脉冲的均可。所以可作为运动中的测试(如动作反应时,发令起跑反应时等的测试)。
本仪器由于采用无线电波和红外光线遥控,而且信号都经过特定频率的调制,接收时又经过比较选频输出,因而它们工作保密度较高,不容易在测试中受到干扰,这也是本系统的特色之处。
2.制作与调试:首先对秒表进行改造,小心地从秒表电路板上引出正负电源和S'1、S'2接线(S'3为秒表功能键),并装上R3、R4、VD3分压和充电电路,使秒表内扣式电池保持1.35~1.5V电压。如仪器电源中断,也不影响电子秒表正常工作。然后将秒表与整机电路固定在一起。接收电路中L1、L2同发射机电路。红外传感器可以与整机装在一起,也可以独立成为“红外头”,用导线与X2相连,这样使用时放在终点比较方便。
调试工作较简单,元件焊接无误后,接上电源,调整R1使VT1基极电压为1.2V~1.3V,集电极电压为1.8V~2.2V。再用示波器观察IC1③脚波形,一边按动发令枪S2,一边慢慢调整C1,当示波器看到发令枪送来的50k频率信号并使其振幅最大时,固定C1。第三步用示波器或万用表测IC1⑧脚电压,旋转可变电阻R2使进入③脚信号频率与IC1内频率相近时⑧脚立即下降至低电位,此时固定R2。“红外头”调试按上述文章介绍进行。通过以上调试,一般按一下枪机,秒表应启动计时红灯亮,挡一下红外线,秒表应停止计时,绿灯亮。最后是电子发令枪和遥控计时器打开距离调试,一般可大于50米,并细微调校C1、R2使灵敏度最高,调试工作即告结束。
使用方法
电子发令枪是改制后的喊话器,S4原控制“报警”和“哨声”,现改为“枪声”和”哨声”的转换。S3保持原有“喊话”和“音乐”功能。使用时合上开关S1,选择音量RP.扣动抢机S2即发出枪响。对着话筒可喊话,S3拔向“音乐”即发出一首乐曲;S4拔向“哨声”即发出电哨声。当需要闪光时,合上开关S5,5~8秒后,即可扣动枪机,枪响并闪光。
发令和自动计时配合时,将“红外头”放在终点线上,距人1.5米处,打开计时器开关,按动S'3使电子表显示秒表功能,再按S'1,S'2使表清零并绿灯亮,准备工作即结束。以后每跑过终点一个人,记下被测时间,再按一下S2,又可继续测试。(陈天石)