近年来,通信用窄带FM接收机电路逐步向低工作电压、低功耗方向发展,本文介绍一种常用于BP机等小型接收设备中的集成电路MC3367。
一、一般特性
对于75MHz以下,要求具有极低功耗的窄带音频及数据接收机来说,MC3367是一种优秀的集成电路。它集振荡器、混频器、中放、中放限幅和正交鉴频器于一体,构成一次变频电路。MC3367还包括稳压器,电池降压检测器,一个使之工作在低功耗“睡眠”方式的接收机控制端,同时输出音频和数据的两个缓冲放大器,以及接收FSK数据用的比较器。它的主要特点是:
低工作电压:Vcc=1.1V~3.0V;
低功耗:静态功耗1.5~5.0mW;
输入带宽:75MHz;
高灵敏度:-3dB输入限幅电压0.2μVrms;
内部稳压器能提供3.0mA电流;
接收控制端使IC处于工作/等待状态;
电池电压低落检测电路;
数据比较器带宽大于25kHz(50k波特);
28脚标准扁平封装(外形见图1)。

二、电路原理
MC3367是一个窄带FM接收机电路,工作频率可达75MHz。低电压的设计使之具有低功耗和高灵敏度的特性。在典型应用中,由混频器放大高频或中频信号并变频至455kHz,然后经过455kHz陶瓷滤波器送至第一中放。放大后的信号再经过第二个455kHz陶瓷滤波器,送入限幅中放和鉴频电路。恢复后的音频信号由一个典型的正交鉴频器输出。
音频/数据缓冲器可作放大器或有源滤波器使用。电池电压低落检测电路的动作电压可以自行设定。可见MC3367对于要求低功耗和高设计灵活性的电路尤为适宜。
MC3367的引脚排列和内部框图分别见图2、图3,极限参数,推荐工作状态和各部分的电特性分别列于表1、表2和表3。






三、典型应用
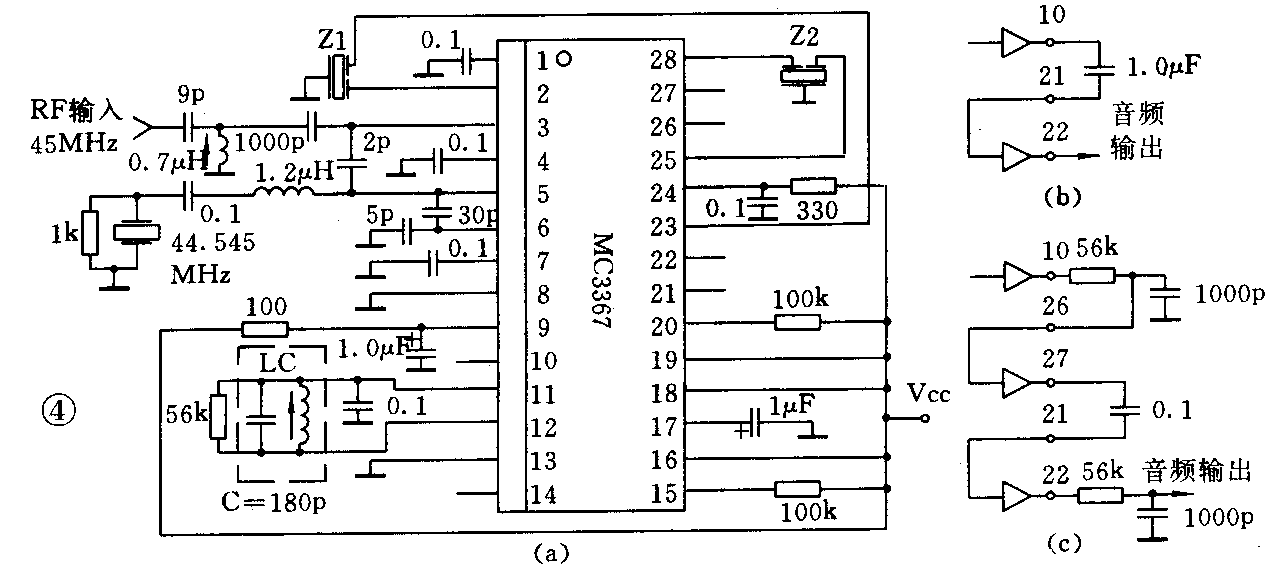
MC3367可作为高性能FM中频处理IC用于低功耗二次变频接收机。由于MC3367具有极高的灵敏度(20dB信噪比时0.6μV),它也可以用作单片一次变频接收机,频率高达75MHz时也不会对镜频干扰敏感。一次变频接收电路见图4(a)。

振荡器为一典型的考比茨电路,外接LC振荡回路或石英晶体振荡器。晶振可选用三次泛音晶体。图4(a)中的1.2μH电感和1kΩ电阻使工作更加稳定。如果使用基频晶体,则电感L1可以省去不用。
当使用两只455kHz陶瓷滤波器(Z1、Z2)时,可以获得最佳邻频抑制和灵敏度响应。使用0.lμF耦合电容可以代替陶瓷滤波器来降低成本,但灵敏度和稳定性会有所下降。
同MC3359和MC3361一样,MC3367使用正交鉴频器,限幅器输出与鉴频器输入在集成电路内部连接。外接的LC回路谐振于455kHz。LC回路的一端,即MC3367的第11脚须用一个0.1μF电容去耦。图4(a)中56kΩ的阻尼电阻用来确定正交鉴频器的峰距(即鉴频带宽),减小阻值可以降低Q值以增大带宽,但会降低音频信号再现的灵敏度。
数据缓冲器是一个有3.2倍电压增益的同相放大器,需要外接一个约250mV的直流偏置,否则会欠偏置。图4(c)中所示的一阶RC滤波器可以提供必要的直流偏置,同时对鉴频后的信号进行滤波,将处理后的信号送入数据缓冲器。该缓冲器也可接成有源滤波器。
音频缓冲器也是同相放大器,有4倍的电压增益,但由于它采用自偏置形式,输入端应使用交流耦合。它与上述的数据缓冲器一起使用,可以同时接收音频信号和较低速率的数据信号,如图4(b)所示,或者组成带有静噪功能的音频接收电路,此时数据缓冲器作有源滤波器使用。具体电路可参考MC3357或MC3361。
比较器是一个集电极开路输出的同相放大器。典型应用中第15脚与Vcc间接一个100kΩ的上拉电阻。在这种情况下比较器可以工作到25kHz。比较器为自偏置形式,输入端交流耦合。
稳压器提供0.95V的参考电压供IC内部使用,最大输出电流为3.0mA。第17脚外接一只1.0~10μF的去耦电容使MC3367稳定地工作。IC的三个Vcc(Vcc、Vcc2和Vcc3)工作在同一电压下。Vcc仅由电容去耦,而Vcc2和Vcc3应采用图4(c)中所示的RC旁路网络。省去网络中的电阻在某些应用中是允许的,但会降低灵敏度并增大噪音。
电池电压低落检测电路在工作电压降至1.1V以下时动作,在MC3367的第20脚给出一个集电极开路输出。一般在第20脚与Vcc间接入一只100kΩ上拉电阻。第19脚为1.2V选择脚,接至Vcc时,电池检测电路在Vcc<1.1V时动作;该脚开路时这一动作值会提高。
第16脚为接收控制端,接至Vcc时电路正常工作。该脚接地时接收电路被切断,漏电流减小至0.5μA以下。(王旭编译)