(文江)本期的内容,是通过光控小鸟的制作,学习光电二极管和光电三极管的基本知识,掌握光电管的检测方法和光控电路的调试方法。
一、光电二极管和光电三极管
(1)光电二极管:
光电二极管是一种常用的光敏元件,其文字符号为“VD”,图形符号及外形分别见图1a和1b。和晶体二极管相似,光电二极管也是具有一个PN结的半导体元件,所不同的是光电二极管的管壳上有一个透明的窗口,以便使光线能够照射到PN结上。图2是光电二极管典型工作电路,工作电压U反向加在光电二极管VD上,无光照时,光电二极管VD反向电流I极小,因此负载电阻RL上的输出电压U\(_{0}\)=IRL也极小;当有光照时,VD的反向电流I明显增大并随光照强度的变化而变化,这时输出电压U0也较大并随光照强度的变化而变化,从而实现了光电转换。光电二极管有多种类型,使用最普遍的是2CU型硅光电二极管,其主要参数有:


①最高工作电压Umax,指在无光照、反向电流不超过规定值(通常为0.1μA)的前提下,光电二极管所允许加的最高反向电压,一般在10~50V范围。
②暗电流I\(_{D}\),指在无光照时,加有反向工作电压的光电二极管的反向漏电流,一般<0.5μA,暗电流ID越小越好。
③光电流I\(_{L}\),指在受到一定光照时,加有反向电压的光电二极管中所流过的电流,约为几十微安,一般情况下光电流IL越大越好。
(2)光电三极管:
光电三极管是在光电二极管的基础上发展起来的光电元件,它不仅能实现光电转换,而且还具有放大功能,因而使用更方便、更广泛。光电三极管的文字符号为“VT”,图形符号及外形分别见图3a和3b。光电三极管有NPN型和PNP型之分,目前普遍使用的是3DU型NPN硅光电三极管。光电三极管可以等效为光电二极管和普通三极管的组合元件(图4),其基—集PN结相当于一个光电二极管,在光照下产生的光电流I\(_{L}\)又输入到三极管的基极放大,因此光电三极管输出的光电流可达βIL。因为光电三极管的基极输入信号是光,所以光电三极管通常只有集电极和发射极两个引脚(个别除外)。光电三极管的主要参数有:


①最高工作电压Uceo,指在无光照、ec极间漏电流不超过规定值(约0.5μA)时,光电三极管所允许加的最高工作电压,一般在10~50V之间。
②暗电流I\(_{D}\),指在无光照时光电三极管ec极之间的漏电流,一般<1μA。
③光电流I\(_{L}\),指在受到一定光照时光电三极管的集电极电流,通常可达几毫安。
④最大允许功耗P\(_{CM}\),指光电三极管在不损坏的前提下所能承受的最大功耗。
光电二极管和光电三极管各有长处:光电二极管温度特性和输出线性度好、工作频率高;光电三极管灵敏度高、输出光电流大。一般的光电控制常采用光电三极管。
(3)管脚识别与检测:
光电二极管的管脚排列如图1b所示,靠近管键或色点的是P极(+极),另一脚是N极(-极)。光电二极管的好坏可用万用表检测,方法是:①用一遮光物(例如黑纸片)将光电二极管的透明窗口遮住(图5a),万用表置“R×1k”档,红表笔接N极、黑表笔接P极测其正向电阻应为10~20kΩ;②对调红、黑两表笔后测其反向电阻应为∞,即表针不动;③移去遮光物,使光电二极管的透明窗口朝向光源(自然光、白炽灯或手电筒等,见图5b),这时表针应向右偏转,偏转越大说明光电二极管灵敏度越高。

光电三极管的管脚排列如图3b所示,靠近管键或较长的管脚是发射极e,离管键较远成较短的管脚是集电极c。光电三极管也可用万用表“R×1k”档来检测:①按图5a所示将其窗口遮住,这时两表笔不论怎样与管脚连接,测得电阻均为∞(表针不动);②红表笔接发射极e、黑表笔接集电极c,然后移去遮光物,使光电三极管窗口朝向光源(图5b),这时表针应向右偏转到15~30kΩ左右,表针偏转越大说明其灵敏度越高。
由于光电二极管与光电三极管外形几乎一样,上述检测方法也可用来区别它们:遮住窗口测两管脚间的正、反向电阻,阻值一大一小者是光电二极管;两阻值均为∞大者为光电三极管。
二、电路工作原理
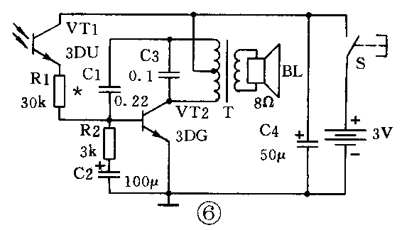
图6是光控小鸟的电路图。晶体管VT2等元件组成了一个阻塞型电感三点式振荡器,其基本振荡频率由变压器T的初级线圈和C3决定,约1000Hz左右;其阻塞频率由R2、C2决定,约为1~5Hz。VT1是光电三极管,与R1一起构成光控电路。无光照时,光电三极管VT1截止,晶体管VT2因无基极偏流而截止,电路停振,扬声器无声。当有光照射到光电三极管VT1的窗口时,VT1产生的光电流经R1注入VT2基极,电路起振,产生的间歇音频振荡信号经变压器T耦合至扬声器,发出“啾、啾”的鸟叫声。

三、元器件选择
VT1选用3DU型光电三极管。如采用2CU型光电二极管,因其光电流较小,应按图7所示增加一只晶体管作电流放大,然后再接入电路。VT2选用3DG型或进口9014型等NPN硅三极管,β≥60即可。T选用晶体管收音机用推挽输出变压器,初级接C3,次级接扬声器。其余元器件如图6所示,无特殊要求。

四、制作与调试
按照图8刻制一块印刷电路板,然后依以下顺序进行装制和调试:

①将VT2、R1、C1、C3、C4以及变压器T焊入电路板,在光电三极管VT1的位置接入一个100kΩ左右的电位器RP,并连接好扬声器、开关和电池,这时电路是一个典型的电感三点式振荡器(图9)。接通电源开关S,调节电位器RP使电路起振,扬声器发出1000Hz左右的连续声音。改变C3的容量可改变振荡频率。如调节RP电路始终不起振,应检查:VT2管脚是否搞错?β值是否过低?变压器T的引线有否弄错?电路有否虚焊?

②关断开关S,将R2、C2焊入电路板,这时电路成为一个阻塞型振荡器。接通S,扬声器应发出“啾、啾……”的间歇振荡声(鸟叫声),改变C2或R2的大小可改变间歇振荡频率。如电路不能产生间歇振荡,应适当减小R2的阻值。
③关断S,从电路板上焊下电位器RP和电阻R1,然后将光电三极管VT1焊入电路板,将电位器RP焊入R1位置。接通S,使光电三极管的窗口暴露在光源下,调节RP使电路起振,扬声器发出鸟叫声;再用遮光物将光电三极管窗口遮住,鸟叫声应停止。焊下RP,用万用表测量一下其阻值,取一个阻值相同或相近的电阻作为调试后的R1焊入电路板,整个电路便调试好了。
④将整个电路装置安装在玩具小鸟的底座里,光电三极管VT1应置于光线能够照射到的地方(图10)。晚上,将它接通电源开关后放到阳台上,早晨天亮后,这只光控小鸟将会发出阵阵鸟叫唤你起床。
